Пуск в работу питательного электронасоса после ремонта
Целью настоящего учебного Пособия является изучение студентами общей схемы обвязки трубопроводами и вспомогательным оборудованием питательного электронасоса и его системы маслоснабжения, а также их пуск в работу после ремонта.
При описании питательного электронасоса и пуска его в работу после ремонта с вариантами аварийных ситуаций, как самого питательного насоса, так и его вспомогательных систем, использовалась общеизвестная техническая литература по насосам (1-22) и более чем 20-ти летний опыт работы автора по эксплуатации Заинской ГРЭС (Татарстан), Ленинградской и Чернобыльской АЭС, что позволило обобщить и создать настоящее Пособие, и тем самым разработать методику подготовки к пуску и пуск питательных электронасосов в работу после ремонта энергоблоков тепловых и атомных электростанций.
В ходе изучения Пособия студенты получат навыки решения эксплуатационных задач при пуске в работу питательных насосов с электрическим приводом. Пуск же питательного насоса с турбоприводом, где вместо приводного электродвигателя применяется паровая турбина, существенно не отличается за исключением пусковых операций на приводной турбине. В следующем Пособии мы рассмотрим и такой пуск питательного насоса, тем более турбоприводами снабжен большой парк питательных насосов российских и зарубежных энергоблоков мощностью 300 и более Мвт.
Теперь вспомним, что насосами называются гидравлические лопастные машины, предназначенные для подъема и подачи жидкостей, в нашем случае – питательной воды из деаэратора.
Глава 1. Основные параметры и классификация насосов
Термины в области насосов установлены ГОСТ 17398—72 "Насосы. Термины и определения". Согласно этому ГОСТ насосы подразделяются на две основные группы: динамические и объемные.
Динамическими называют насосы, в которых жидкость под воздействием гидродинамических сил перемещается в камере (незамкнутом объеме), постоянно сообщающейся с входом и выходом насоса.
Объемными называют насосы, в которых жидкость перемещается путем периодического изменения объема жидкостной камеры, попеременно сообщающейся с входом и выходом насоса.
Динамические насосы подразделяются на лопастные, насосы трения и инерционные.
Лопастными называют насосы, в которых жидкость перемещается за счет энергии, передаваемой ей при обтекании лопастей рабочего колеса. Лопастные насосы объединяют две основные группы насосов: центробежные и осевые. В центробежных насосах жидкость перемещается через рабочее колесо от центра к периферии, а в осевых, через рабочее колесо в направлении его оси. Часто насосы поставляются в виде насосного агрегата, т е. насоса и соединенного с ним двигателя. В качестве двигателя могут быть как электрические, так и паровые машины.
Кроме того, существует понятие насосная установка, т. е. насосный агрегат с комплектом оборудования, смонтированного по определенной схеме, обеспечивающей работу насоса в заданных условиях.
Кроме терминов, относящихся к конструктивным и другим признакам насосов, ГОСТ 17398—72 устанавливает и терминологию основных технических показателей насосов и насосных агрегатов.
Основным из этих показателей является объемная подача насоса — объем подаваемой насосом жидкости в единицу времени. Подача воды измеряется в м3/с или м3/ч. Допускается измерять подачу в л/с.
Существует понятие массовая подача — масса подаваемой жидкости в единицу времени. Массовая подача измеряется в кг/с (т/с) или кг/ч (т/ч) и определяется, как вторым основным показателем насоса является развиваемое им давление или напор и определяется приростом удельной энергии воды при движении ее потока от входа к выходу насоса. Напор чаще всего измеряется в метрах водяного столба (м. вод. ст.) или в атмосферах (атм).
Для определения величины полного напора насоса Н применяются следующие формулы:
Н = P2 /ρg – P1 /ρg + Δh + (v22 - v 21 ) / 2g, (м. вод. ст.) (1)
H = Hм+ (v22 - v 21) / 2g, ( м. вод. ст.), (2)
где P2 , P1 – давление воды соответственно в напорном и всасывающем патрубках насоса, атм;
Δh = (z2 - z1 ) –
расстояние по вертикали между точками установки манометра на напоре и вакуумметра на всасе, м;
v2, v1 - скорости воды в нагнетательном и всасывающем патрубках насоса, м/с;
ρ - плотность воды, кг/м3.
Hм – манометрический напор насоса, представляющий собой сумму показаний манометра на напоре насоса, вакуумметра на всасе, и геометрического напора между точками установки этих приборов Δh.
Напор насоса также может быть выражен в виде давления воды на выходе из него:
Р=Нρg, (м. вод.ст.) (3)
Давление измеряется в кПа, мПа, атм или кгс/см2, а напор — в метрах столба перекачиваемой жидкости. Например, метр водяного столба записывается как – м. вод. ст., а 10 м. вод. ст. = 1,0 атм. =1,0 кгс/см2 = 0,1 МПа. Объемная подача Q насоса измеряется в м3/с, а массовая подача М - в кг/с, которая определяется как
M = ρQ, (4)
где ρ - плотность среды, кг/м 3.
В свою очередь объемная подача практически одинакова по всей длине проточной части насосов и может быть рассчитана по средней скорости движения среды с помощью уравнения неразрывности потока:
Q = FC, (5)
где F - площадь поперечного сечения потока жидкости, м2;
С - скорость движения среды, м/с.
Количество энергии, затрачиваемое в единицу времени на привод насоса, определяет ее полезную мощность:
Nп =ρg QH, (кВт) (6)
или
Nп =ρQH / 102, (кВт) (7)
где Q – производительность насоса, м 3 /с;
ρ – плотность среды, кг/м3 ;
Н – полный напор насоса, м. вод.ст.
Потери энергии неизбежны в любом рабочем процессе и действительная мощность, затрачиваемая на привод насоса, больше теоретической величины:
N = Nп + ΔN, (8)
где ΔN - cумма всех энергетических потерь, возникающих из-за несовершенства насоса как лопастной машины.
Для оценки полноты использования энергии, подводимой к насосу от двигателя, применяют характеристику, называемую эффективным КПД агрегата:
η = Nп /N (9)
Таким образом, зная КПД, напор и подачу насоса можно расчетным путем найти потребляемую мощность насоса:
N= ρg QH/η = Nп / η, (кВт) (10)
Но весьма важным для лопастных машин является безразмерная величина, которая называется коэффициентом быстроходности.
Коэффициент быстроходности nsиспользуется для сопоставления геометрических параметров и технико-экономических показателей, подобных между собой насосов, имеющих различные значения напора, расхода и числа оборотов. Зачем это нужно? Коэффициент ns позволяет при проектировании и эксплуатации один насос заменять другим, что особенно важно в настоящее время. Физически под коэффициентом быстроходности понимается частота вращения виртуального модельного насоса, геометрически подобного во всех элементах натурному, с теми же гидравлическим и объемным коэффициентами полезного действия при условии, что модельный насос создает напор, равный 1 метру столба воды, при гидравлической мощности в 1 л.с., т.е. подача модельного насоса равна Q = 0,075 м3/с на режиме максимального к.п.д., если считать, что плотность воды 1000 кг/м3 при нормальных физических условиях.
Известно, что коэффициент быстроходности является функцией трех аргументов – производительности Q, напора H и числа оборотов n ротора насоса, т.е. ns = f (Q, H, n), и оценивает оптимальный режим работы лопастной машины. С его помощью также удобно классифицировать тип насоса по виду рабочего органа, оценивать выбор числа ступеней сжатия, обобщать технико-экономические показатели различных типов насосов. Формула для расчета ns выведена путем натурного моделирования процессов в лопастных машинах, т.е. эмпирическим путем, и записывается в следующем виде для насосов, подающим воду с плотностью ρ=103 кг/м3
ns= 3,65 n√Q / H3/4 , (11)
где n – число оборотов насоса, об/мин;
Q – подача (производительность) насоса, м3/час;
H - напор насоса, м. вод. ст. (для многоступенчатых насосов с одинаковыми рабочими колесами напор, приходящийся на одно колесо).
Таким образом, коэффициент быстроходности позволяет объединять различные колеса насосов в группы по признаку их геометрического подобия и является чисто расчетным параметром, с помощью которого удобно классифицировать тип насоса по рабочим органам, оценивать выбор числа ступеней для многоступенчатого насоса, обобщать технико-экономические показатели различных насосов.
Обычно применяют следующую классификацию рабочих колес центробежных насосов по величине коэффициента быстроходности:
1). тихоходные, ns = 50-100;
2). нормальные, ns = 100-200;
3). быстроходные, ns = 200-350
Приведем пример практического применения коэффициента быстроходности. Например, нам необходимо определить количество ступеней выбранного питательного насоса с расходом Q = 650 м3/час, напором 2000 м. вод. ст. (200 атм), числом оборотов n = 2850 об/мин (привод от асинхронного электродвигателя).
Сначала определяем коэффициент быстроходности ns по формуле (11), который будет равен 663.
ns= 3,65 n√Q / H3/4 .
Тогда ns= 3,65 х 2850 х √ 650 / 2000 3/4 = 663,16 ≈ 663.
Теперь определяем напор одной ступени насоса Н1 по формуле:
Н1 = (3,65n √Q / ns) 3/4
Н1 = (3,65n √Q / ns)¾ = (3,65 х 2850 х √650 / 663) ¾ = 400 м. вод. ст.
Разделив требуемый полный напор 2000 м. вод. ст. на напор одной ступени, получаем число ступеней выбранного питательного насоса - 2000 / 400 = 5 ступеней в насосе, которые удовлетворяют заданным гидравлическим требованиям.
Подбор насоса обычно осуществляется для заданных рабочих условий внешней сети по требуемой подаче, напору, температуре, а также по физико-химическим свойствам перекачиваемой жидкости (коррозионные свойства, вязкость и плотность жидкости). Подача и напор насоса должны соответствовать характеристике гидравлического сопротивления внешней сети, которая состоит из системы трубопроводов и арматуры. При этом насос должен обеспечить максимально возможную подачу для данной сети. Но учитывая возможные отклонения характеристик выбранного насоса при изготовлении его на заводе, напор его все-таки выбираем на 3-5% выше требуемого напора для преодоления гидравлического сопротивления сети. Немало важно и правильная установка насоса. Насосы иногда устанавливают так, что уровень расположения всасывающего патрубка находится выше горизонта жидкости в приемном резервуаре или в камере.
В таких случаях во входном патрубке насоса необходимо создать разрежение (вакуум), за счет которого жидкость будет всасываться в насос под действием давления столба атмосферного воздуха. Высота всасывания, развиваемая лопастным насосом, определяется как:
Hвс = (P0 - P1 ) / ρg, (12)
где Р0 - атмосферное давление или давление в емкости, к которой подключен насос, атм; ρ – плотность жидкости, кг/ м3; g – ускорение свободного падения, равное 9,81 м/с2
В каталогах насосов всегда указывается допустимая вакуумметрическая высота всасывания Нвс, т.е. высота, при которой обеспечивается работа данного насоса без изменения его основных технических показателей. Известно, что от величины допустимой высоты всасывания зависит надежность и устойчивость работы энергетических насосов. Поэтому кратко вспомним, что такое высота всасывания насосов и особенно явление кавитации. Жидкость по всасывающему трубопроводу к рабочему колесу насоса подводится под действием разности давлений в приемном резервуаре и абсолютного давления в потоке у входа в колесо. Последнее зависит от расположения насоса относительно уровня поверхности жидкости в резервуаре и режима работы насоса. На практике встречаются три основные схемы установки центробежных насосов:

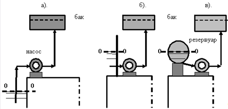
Рис. 1. Схемы установки центробежных насосов
1. ось насоса выше уровня воды (0-0) в приемном резервуаре (камере) – (рис. 1, а);
2. ось насоса ниже уровня воды (0-0) в приемном резервуаре (рис. 1, б), т.е. насос находится под гарантированным заливом воды;
3. ось насоса ниже уровня воды (0-0) в приемном резервуаре и находится она под избыточным давлением (рис. 1, в), поэтому насос находится под гарантированным заливом воды. Как следует из рис.1 самыми лучшими способами подключения насоса к источнику воды являются варианты б) и в), т.к. здесь имеется очень высокая гарантия того, что насос не сорвет в работе, т.е. на всасе всегда будет подпор воды, пока присутствует ее избыточный уровень на входе в насос, и самый неудобный способ – это вариант а). Здесь воду необходимо загнать в насос, а для этого необходимо создать во входе в насос разрежение и поставить обратный клапан на всасывающем трубопроводе, всегда выполнять заливку водой всасывающего трубопровода, при этом обратный клапан должен держать эту воду и не выпускать из насоса. При включении насоса в работу, он сам на всасе создать разрежение и вода будет поступать в насос под действием давления атмосферного воздуха. При отключении насоса обратный клапан должен не упустить воду из насоса и удержать ее в полости насоса, в противном случае, придется его опять заливать водой или ремонтировать обратный клапан. Как видно это неудобный способ подключения насоса, но он применяется, когда нужно откачивать воду из колодца, подземного резервуара или приямка. В любом случае все эти способы широко применяются как на электростанциях, так и на других промышленных предприятиях и в быту.
Из уравнения Бернулли для двух сечений (в нашем случае для уровня воды в приемном резервуаре 0 — 0 и сечения на входе в насос (рис. 1.)) следует:
Hг.в. + h п.в. = pа / ρg – pн / ρg - v2в / 2g, (13)
где h п.в. — потери во всасывающем трубопроводе, Па;
ра — атмосферное давление, Па;
рв — абсолютное давление на входе в насос, Па;
vв — скорость воды на входе в насос, м/с.
Левая часть уравнения (13) представляет собой вакуумметрическую высоту всасывания насоса и измеряется в метрах водяного столба перекачиваемой жидкости.
Также можно записать, что высота всасывания насоса Hв
Hв = H г.в. + h п.в. (14)
Из анализа формул (13, 14) следует, что, если вода в насос поступает с подпором (рис. 1, б), то
Hв = h п.в. -- H г.в. (15)
Отрицательное же значение Hв указывает на работу насоса с подпором.
При работе насоса по схеме, показанной на рис. (1, в), выражение вакуумметрической высоты всасывания приобретает вид:
Hв = (P0 - (Pв + ρ vв / 2g )) / ρg , (16)
где P0 — абсолютное давление среды над свободной поверхностью жидкости, Па.
В зависимости от конструкции лопастного насоса геометрическую высоту всасывания отсчитывают по-разному.
Для горизонтальных насосов H г.в. — это разность отметок оси насоса и уровня жидкости в приемном резервуаре.
Для насосов с вертикальным валом Н г.в. отсчитывается от середины входных кромок лопастей рабочего колеса (в многоступенчатых насосах колеса первой ступени) до свободной поверхности жидкости в приемном резервуаре.
Необходимо помнить, что нормальная работа центробежного насоса обеспечивается только в таком режиме, когда абсолютное давление во всех точках его внутренней полости больше давления насыщенных паров перекачиваемой жидкости при данной температуре.
Если такое условие не соблюдается, то начинаются явления парообразования и кавитации, которые приводят к уменьшению или даже прекращению подачи насоса (насос "срывает") и выходу его из строя.
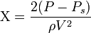
Кавитация – с латинского языка (cavitas) означает – пустота. Так что же это за явление под таким красивым и звучным названием?
Кавитация – это есть процесс нарушения сплошности внутри потока жидкости, т.е. образование в капельной жидкости полостей, заполненных газом, паром или их смесью (кавитационные пузырьки или "каверны", т.е. пустоты). Обычно кавитационное течение характеризуют безразмерным параметром (числом кавитации):
, (17)
где
P — гидростатическое давление набегающего потока, Па;
Ps — давление насыщенных паров жидкости при определенной температуре окружающей среды, Па;
ρ —плотность среды, кг/м³;
V — скорость потока на входе в систему, м/с.
Известно, что кавитация возникает при достижении потоком граничной скорости V = Vc, когда давление в потоке становится равным давлению парообразования (насыщенных паров). Этой скорости соответствует граничное значение критерия кавитации.
В зависимости от величины Χ можно различать четыре вида потоков:
· докавитационный — сплошной (однофазный) поток при Χ>1;
· кавитационный — (двухфазный) поток при Χ~1;
· пленочный - с устойчивым отделением кавитационной полости от остального сплошного потока (пленочная кавитация) при Χ< 1;
· суперкавитационный — при Χ<<1.
Требуемый кавитационный запас ΔhTP обычно вычисляют по характеристике, представляемой производителем насоса. Кривая ΔhTP начинается с точки нулевой подачи и медленно растет с увеличением. Когда подача превышает точку максимального КПД насоса, кривая ΔhTP резко возрастает по экспоненте. Зона справа от точки максимального КПД обычно является кавитационно опасной.
Кавитационный запас не поддается контролю с точки зрения механики и машинист насосной станции только слышит ее как металлический шум и щелчки, но это уже развитая кавитация.
К сожалению, еще мало приборов, позволяющих наблюдать и предотвращать кавитацию. Хотя датчик давления на всасывающей стороне насоса, подающий сигнал тревоги при падении давления ниже допустимого для данного насоса, должен применяться повсеместно.
По опыту эксплуатации насосов известно, что звуки потрескивания пропадают после прикрытия напорной задвижки. Но, снижая тем самым подачу и кавитацию, можно не достичь технологических параметров самого насоса.
Для того, чтобы правильно устранить кавитацию обязательно нужно использовать основной принцип – на входе в насос должно всегда быть жидкости больше, чем на выходе.
Приведу несколько простых способов как этого достичь:
1. замените диаметр всасывающего патрубка на большего размера. Необходимо помнить, что диаметр всаса насоса всегда должен быть больше диаметра напора;
2.переместите насос ближе к источнику воды или к питающему резервуару, но не ближе 5-10-ти диаметров всасывающей трубы;
3.понизьте сопротивление во всасывающей трубе, заменой ее материала на менее шероховатую;
4.замените всасывающую задвижку на шиберную, характеризующуюся меньшими местными потерями;
5.если всасывающая труба имеет повороты, то уменьшите их количество или замените отводы малых на большие радиусы поворота, сориентировав их в одной плоскости (иногда правильно заменить жесткую трубу гибкой);
6. увеличьте давление на всасывающей стороне насоса повышением уровня в питающем резервуаре либо снижением оси установки насоса, либо установите бустерный насос.
Общеизвестно, что кавитация возникает в результате местного уменьшения давления ниже критического значения и для реальной жидкости оно приблизительно равно давлению насыщенного пара этой жидкости при данной температуре. В результате этого наблюдается образование большого количества мельчайших пузырьков, наполненных парами жидкости и газами, выделившимися из нее. Образование пузырьков внешне похоже на кипение жидкости.
Возникшие в результате понижения давления пузырьки увеличиваются в размере и уносятся потоком.
При этом наблюдается местное повышение скорости движения жидкости вследствие стеснения поперечного сечения потока выделившимися пузырьками пара или газа.
Попадая в область с давлением выше критического, пузырьки разрушаются, при этом их разрушение происходит с большой скоростью и поэтому сопровождается местным гидравлическим ударом в данной микроскопической зоне. Так как конденсация занимает некоторую область и протекает непрерывно в течение длительного времени, это явление приводит к разрушениям значительных площадей поверхности рабочих колес или направляющих аппаратов насоса.
Практически появление кавитации при работе насоса можно обнаружить по характерному потрескиванию в области всасывания, нарастающему шуму и внезапному появлению повышенной вибрации насоса. Кавитация сопровождается также химическим разрушением (коррозией) материала насоса под действием кислорода и других газов, выделившихся из жидкости в области пониженного давления.
При одновременном действии коррозии и циклических механических воздействий прочность металлических деталей насоса быстро снижается. При этом воздействие кавитации на металлические детали насоса усиливается, если перекачиваемая жидкость содержит взвешенные абразивные вещества: песок, мелкие частицы шлака и т. п.
Под действием кавитации поверхности деталей становятся шероховатыми, губчатыми, что способствует быстрому их истиранию взвешенными веществами. В свою очередь эти вещества, истирая поверхности деталей насоса, способствуют усилению кавитации.
Кавитационному разрушению наиболее подвержены чугун и углеродистая сталь, и наименее - бронза и нержавеющая сталь.

Рис. 2. Разрушение рабочего колеса центробежного насоса под воздействием кавитации
В целях повышения устойчивости деталей насосов от разрушения применяют защитные покрытия. Для этого поверхности деталей наплавляют твердыми накладками из твердых сплавов (стеллиты), используют местную поверхностную закалку и другие способы защиты. Однако основной мерой борьбы с преждевременным износом проточной части насосов является предупреждение кавитационных режимов их работы.
В технической документации на насосы (каталогах, паспортах и пр.) обязательно должна указываться допустимая высота всасывания (или допустимый кавитационный запас) для нормальных физических условий, т. е. для атмосферного давления 0,1 МПа (что соответствует 760 мм рт. ст.) и температуры перекачиваемой жидкости 20°С.
Следовательно, основными техническими характеристиками, определяющими работу любого насоса, являются:
1. напор (Нн, м. вод. ст; атм.; кгс/см2; Па, кПа, МПа);
2. подача (Q, л/сек; м3 /час; кг/с; т/час);
3. потребляемая мощность (N, кВт);
4. коэффициент полезного действия (η, %);
5. частота вращения (n, об/мин);
6. высота всасывания насоса (Н вс, м. вод. ст.).
Из указанных параметров насоса подача и частота вращения являются независимыми переменными, а остальные параметры находятся в функциональной зависимости от подачи и частоты его вращения. Взаимосвязь параметров в различных режимах насоса обычно изображается графически в виде характеристик.
Для их получения необходимо проведение испытаний насоса в различных условиях всасывания, при различных напорах, подачах и мощностях, изменяющихся от минимальных до максимальных значений. Только в результате этих испытаний может быть получено представление о работе насоса и его энергетических показателях.
Экспериментальные характеристики насоса являются необходимым техническим материалом для оценки качества насоса, для выбора режима его работы и для осуществления правильной и надежной эксплуатации. Эти опытные характеристики получают на испытаниях каждого насоса на заводе-изготовителе и прилагаются к технической документации при продаже насоса.
Мы здесь не будем рассматривать построение нормальных и других характеристик насосов, а также применение математического аппарата для расчета насосов, ибо это не входит в задачу нашего Пособия, поэтому мы адресуем любознательного читателя к Литературе, которая приведена в конце Пособия (11, 13, 14, 15, 19).
По характеру физического и рабочего процесса в насосе происходит преобразование механической энергии приводного двигателя в гидравлическую энергию перемещаемой жидкости.
Мы уже знаем, что существуют десятки различных типов насосов, но из них основными и часто используемыми на электростанциях являются объемные и лопастные. В объемных насосах передача энергии производится принудительным воздействием рабочего органа (плунжер, поршень, ротор) на транспортируемую среду и ее вытеснение (плунжерные, поршневые, роторные насосы). В лопастных же насосах преобразование механической энергии в гидравлическую производится насаженным на вращающийся вал ротора рабочим колесом, снабженного лопастями (центробежные, осевые, вихревые, диагональные насосы). На современных электростанциях, как в России, так и за рубежом, в основном применяются ЦБН – центробежные насосы и ОН - осевые насосы. Обратный клапан на всосе насоса:

Рис. 3. Схема насосного агрегата центробежного типа
1 – открытый источник воды;
2 – всасывающий трубопровод;
3 – открытый нагнетаемый резервуар;
4 – расходомерная вставка в напорном трубопроводе;
5 – насос центробежный;
6 – электродвигатель;
М – манометр на напоре насоса;
V – мановакууметр на всасе насоса;
Р – атмосферное давление.
На рис. 4 показан разрез и устройство обычного центробежного одноступенчатого насоса.

Рис. 4. Схема центробежного насоса
1 – расширяющийся корпус насоса ("улитка");
2 – вал насоса;
3 – рабочее колесо;
4 – лопатки рабочего колеса;
5 – подводящий (всасывающий) патрубок насоса;
6 – отводящий (напорный) патрубок насоса.
Внутри корпуса насоса 1, имеющего, как правило, спиральную форму в виде улитки, на валу 2 насажено рабочее колесо 3. Рабочее колесо состоит из заднего и переднего дисков, между которыми установлены лопасти 4, отогнутые от радиального направления в сторону, противоположную направлению вращения рабочего колеса.
С помощью патрубков 5 и 6 корпус насоса соединен со всасывающим и напорным трубопроводами. Если при наполненных жидкостью корпусе и всасывающем трубопроводе привести во вращение рабочее колесо, то жидкость, находящаяся в каналах рабочего колеса (между его лопастями), под действием центробежной силы будет отбрасываться от центра колеса к периферии. В результате этого в центральной части колеса создается разрежение, а на периферии — избыточное давление. Под действием этого давления жидкость из насоса поступает в напорный трубопровод, одновременно через всасывающий трубопровод под действием разрежения жидкость поступает в насос. Таким образом, осуществляется непрерывная подача жидкости центробежным насосом.
Центробежные насосы могут быть не только одноступенчатыми (с одним рабочим колесом), как показано на рис. 2, но и многоступенчатыми (с несколькими рабочими колесами). При этом принцип их действия во всех случаях остается одним и тем же — жидкость перемещается под действием центробежной силы, развиваемой вращающимся рабочим колесом.
За рубежом получили распространение так называемые диагональные насосы, конструкция которых совмещает в себе признаки центробежных и осевых насосов. В отличие от центробежных в диагональных насосах поток выходит из колеса под углом не в 90°, а в 45°.
У диагональных насосов поток жидкости, проходящий через рабочее колесо, направлен не радиально, как у центробежных насосов, и не параллельно оси, как у осевых, а наклонно, как бы по диагонали прямоугольника, составленного из радиального и осевого направлений.
Наклонное направление потока создает основную конструктивную особенность диагональных насосов — наклонное к оси насоса расположение лопастей рабочего колеса. Это обстоятельство позволяет использовать при создании напора совместное действие подъемной и центробежной сил и по своим рабочим параметрам диагональные насосы занимают промежуточное положение между центробежными и осевыми насосами.
Как ЦБН и осевые, диагональные насосы выпускаются как в горизонтальном, так и с вертикально расположенным валом.

Рис. 5. Разрез диагонального насоса с горизонтальным ротором

Рис. 6. Насос осевого типа
1 – корпус насоса; 2 – направляющий неподвижный аппарат насоса; 3 – вращающийся ротор насоса; 4 – вращающиеся вокруг собственной оси рабочие лопасти ротора насоса.

Рис. 7. Струйный насос
1 – конфузор на подаче побудительной среды (вода, газ);
2 - патрубок отсасываемой жидкости (газа);
3 – рабочая камера смешивания подаваемой и отсасываемой среды (вакуумная камера);
4 – диффузорная часть нагнетательно-напорной части насоса.

Рис. 8. Насос зубчатый
1 – корпус насоса;
2 – всасывающая часть насоса;
3 – предохранительно-перепускной клапан;
4 – напорная часть насоса.

Рис. 9. Насос поршневой (плунжерный)
1 – корпус насоса;
2 – поршень (плунжер);
3 – цилиндр;
4 – шток поршня;
5 – кривошип;
6 – шатун;
7 – привод;
Кв – клапан на всасе в насос;
Кн – клапан нагнетательный со стороны напора насоса
На ТЭС в качестве питательных насосов применяются гидравлические насосы центробежного действия, имеющие весьма высокий коэффициент повышения напора, особенно многоступенчатого исполнения. Механическая энергия подводится в виде вращающегося момента и передается жидкости через лопатки вращающегося рабочего колеса. Действие лопаток на жидкость, заполняющую рабочее колесо, вызывает повышение гидродинамического давления и заставляет жидкость перемещаться в направлении от центра рабочего колеса к периферии, выбрасывая её в спиральный кожух. В дальнейшем движении жидкость поступает в напорный трубопровод. Отсюда следует, что основным рабочим органом центробежного насоса является свободно вращающееся внутри корпуса лопастное колесо. На рис. 10, 11 приведены фотографии рабочего колеса центробежного насоса. В свою очередь, рабочее колесо состоит из двух вертикальных дисков (переднего и заднего по потоку жидкости), как показано на рис. 10, отстоящих на некотором расстоянии друг от друга. Между дисками, соединяя их в единую конструкцию, находятся лопасти, плавно изогнутые в сторону, противоположную направлению вращения колеса (рис.9), т.е. по потоку жидкости. Внутренние поверхности дисков и поверхности лопастей образуют межлопастные каналы колеса, которые при работе насоса заполнены перекачиваемой жидкостью.

Рис.10. Рабочее колесо центробежного насоса в разрезе

Рис. 11. Рабочее колесо центробежного насоса в сборе
Из курса теоретической механики известно, что при вращении колеса с угловой скоростью ω (1/сек) на элементарную массу жидкости m (кг), находящейся в межлопастном канале на расстоянии R (м) от оси вала, будет действовать центробежная сила Fц.б. , определяемая выражением:
F ц.б = m ω2 R (18)
В инженерных расчетах также применяется формула (19) эквивалентная формуле (18):
F ц.б = m V2 / R , (19)
где V (м/с) – линейная скорость движения элементарной массы вещества на радиусе R от центра вращения.
Мы уже говорили, что для обеспечения непрерывного движения жидкости через насос необходимо обеспечить постоянный ее подвод в насос и отвод из насоса. Поэтому жидкость поступает через отверстие в переднем диске рабочего колеса по всасывающему патрубку из всасывающего трубопровода.
Например, движение воды по всасывающему трубопроводу в питательный насос происходит вследствие избыточного давления в корпусе деаэратора и столба питательной воды, равной разности отметок установки аккумуляторного бака деаэратора и отметки установки питательного насоса в машинном зале главного корпуса электростанции.
Обычная отметка установки аккумуляторного бака блочного деаэратора составляет 20÷24 метра в помещении деаэраторной этажерки электростанции в зависимости от мощности энергоблока, а установка питательного насоса выполняется на отметке 0,0 ÷ 5.0 метров в машзале главного корпуса электростанции. Отсюда следует, что разность отметок установки аккумуляторного бака деаэратора и питательного насоса может составлять 15,0 – 19,0 (24 - 5=19) метров и если учесть температуру и удельный объем питательной воды в аккумуляторном баке, а также гидравлическое сопротивление опускного трубопровода питательной воды до всаса питательного насоса, то получится, что подпор на всасе питательного насоса составит 13÷17 м. вод. ст. или 1,3 -1,7 атм. Это дает возможность частично отстроиться от опасного явления кавитации, имея гарантированный запас по давлению питательной воды на всасе питательного насоса. На рис. 12 представлена гидростатическая схема питательного насоса в качестве иллюстрации вышесказанного.

Рис. 12. Гидростатическая схема питательного насоса
А – отметка установки аккумуляторного бака деаэратора;
Б – отметка установки питательного насоса;
H1– высота уровня питательной волы в аккумуляторном баке деаэратора;
H2 – разность отметок установки аккумуляторного бака деаэратора и питательного насоса.
Анализ уравнений (18,19) показывает, что центробежная сила, следовательно, и напор, развиваемый насосом, тем больше, чем больше частота вращения рабочего колеса.
Но увеличение скорости вращения ротора насоса ограничено частотой вращения электродвигателя, т.к. в качестве привода центробежного насоса в основном применяется любой высокооборотный электродвигатель, но чаще всего для этой цели служат электродвигатели асинхронного типа, скорость которых несколько ниже синхронной скорости.
Применение же других электродвигателей, а также электротехнических устройств по регулированию числа оборотов электродвигателя хотя и позволяют изменять скорость вращения ротора насоса, но они не получили широкого распространения на электростанциях в качестве привода питательных насосов из-за своей сложности и не надежности.
В связи с этим в последнее время на российских и зарубежных электростанциях получил широкое применение электропривод питательных насосов с гидромуфтой, которая приведена в Приложении, рис. П-1,2.
В зависимости от требуемых параметров, назначения и условий работы в настоящее время разработано большое число разнообразных конструкций центробежных насосов, которые можно классифицировать по нескольким признакам. Например, по числу рабочих колес различают одноступенчатые и многоступенчатые насосы. В многоступенчатых насосах перекачиваемая жидкость проходит последовательно через целый ряд рабочих колес, насаженных на общий вал.
Создаваемый таким насосом напор равен сумме напоров, развиваемых каждым колесом.
В зависимости от числа колес (ступеней) насосы могут быть двухступенчатыми, трехступенчатыми и т. д. По сути, на одном валу находятся сразу несколько одноступенчатых насосов в виде рабочих колес, которые последовательно повышают напор всего насоса, являющегося его основной напорно-расходной характеристикой.
По способу подвода воды к рабочему колесу различают насосы с односторонним подводом и насосы с двусторонним подводом или, так называемые, центробежные насосы двустороннего входа воды.
По способу отвода жидкости из рабочего колеса различают насосы со спиральным и турбинным отводом.
В насосах со спиральным отводом перекачиваемая жидкость из рабочего колеса поступает непосредственно в спиральную камеру и затем либо отводится в напорный трубопровод, либо по переточным каналам поступает к следующим рабочим колесам.
В насосах с турбинным отводом жидкость, прежде чем попасть в спиральную камеру, проходит через систему неподвижных лопаток, образующих особое устройство, называемое направляющим аппаратом, установленное в статоре насоса.
По компоновке насосного агрегата (
