Сау нагревом возухонагревателя доменной печи
1 Доменное производство.
Чугун выплавляют в шахтных печах. Процесс доменной плавки непрерывный. Сверху в печь загружают сырые материалы (офлюсованный агломерат, кокс), а в нижнюю часть через фурмы подают нагретый воздух и жидкое, газообразное или пылевидное топливо. Полученные от сжигания топлива газы проходят через столб шихты и отдают ей свою химическую и тепловую энергию. Опускающаяся рудная шихта нагревается, восстанавливается и плавится. Часть кокса расходуется в печи на восстановление железа и других элементов, а также на науглероживание железа, но большее его количество достигает фурм, где и сгорает.
Доменная печь является мощным и высокопроизводительным агрегатом, в котором расходуется огромное количество шихты и дутья. Современная доменная печь ежесуточно расходует около 23000 т. шихты, 18000 т. дутья, 1700 т. природного газа и выдаёт 12000 т. чугуна, 4000 т. шлака и 27000 т. колошникового газа. Таким образом, в большой доменной печи ежеминутно выплавляется около 9 т. чугуна. Для обеспечения непрерывной подачи и выпуска столь большого количества материалов необходимо, чтобы конструкции печи были просты, надёжны и позволяли работать без простоев печи в течение длительного времени.
Устройство печи.
Внутреннее очертание вертикального разреза доменной печи называют её профилем, в котором различают колошник, шахту, распар, заплечики и горн. При конструировании диаметр и высоту этих элементов выбирают главным образом на основании анализа данных работы фактических печей. Для примера приведены размера для доменной печи N 5 ОАО "Северсталь" объёмом 5500 м3. Доменная печь снаружи заключена в металлический кожух толщиной 20-25 мм в верхней части и 35-40 мм в нижней, состоящий из ряда цилиндрических и конических поясов. Кожух выполняют цельносварным. С внутренней стороны кожуха находится огнеупорная футеровка, охлаждаемая холодильниками. Во многих случаях верхняя часть печи от распара до колошника опирается на так называемое мараторное кольцо, которое лежит на колоннах, а нижняя часть опирается на фундамент. Материал на колошник подают при помощи двух скипов, движущихся сверху вниз по наклонному мосту, либо же при помощи транспортёра.
Основной частью колошникового устройства является засыпной аппарат. Он, как правило, бывает двух типов. Первый состоит из большого и малого конусов с приёмной воронкой. Для обеспечения равномерного распределения шихты в межконусном пространстве малый конус и его воронка вращаются вокруг своей оси при помощи специального устройства. Скип опрокидывается на колошнике, и шихта сначала выгружается в приёмную воронку, затем при опускании малого конуса - в межконусное пространство и при опускании большого конуса - в доменную печь. Наличие двух поочерёдно опускающихся конусов обеспечивает герметизацию колошника при загрузке шихты.

Засыпной аппарат другого типа имеет приёмные воронки, снабжённые герметическими затворами, в результате чего отпадает необходимость в герметизации с помощью распределительного устройства. Вместо большого конуса применено более сложное устройство. В нижней части печи находятся фурменные устройства, через которые подаётся нагретое дутьё и добавки газообразного, жидкого или пылеугольного топлива. Жидкие продукты плавки непрерывно стекают в горн печи, в котором расположены летки для выпуска чугуна и для выпуска доменного шлака. Через эти летки периодически выпускают продукты плавки. Таким образом, процессы в печи и подача шихты происходят непрерывно, а выпуск чугуна и шлака - периодически.
Футеровка печи.
Для футеровки применяют шамотный кирпич, высокоглинозёмистый кирпич и углеродистые блоки.
Шамотный кирпич получают из смеси обожжённой огнеупорной глины (шамота) и сырой огнеупорной глины. Он содержит 30-40 % Al2O3 и не более 1,6 % Fe2O3. Кирпич с более низким содержанием глинозёма применяют для кладки верхней части печи, его огнеупорность должна быть не ниже 1580 ˚С, а кирпич с более низким содержанием глинозёма - для кладки нижней части печи, его огнеупорность должна быть не ниже 1700-1730 ˚С. Лучше для низа печи применять высокоглинозёмистый кирпич, содержащий более 45 % Al2O3, его огнеупорность составляет около 1750 ˚С.
Углеродистые блоки изготовляют из кокса и обожжённого антрацита с добавкой в качестве связующего небольшого количества каменноугольного пека. Длина блоков достигает 3-4 м, они имеют прямоугольное сечение. Блоки в комбинации с высокоглинозёмистым кирпичом больших размеров применяют для кладки самой нижней части печи - лещади.
Швы между огнеупорными кирпичами заполняют раствором, изготовленным из мертелей, соответствующих классу кирпича. Мертель - это порошок, состоящий из измельчённого шамота огнеупорной глины. Для ответственных видов кладки применяют мертели с добавкой небольших количеств поверхностно активных и клеющих веществ (сода, сульфитно-спиртовая барда), что позволяет приготавливать растворы с меньшей влажностью при одновременном повышении их пластичности. Для заполнения швов между углеродистыми блоками применяют углеродистую пасту, состоящую из кокса и маслопека. Зазор между блоками допускается не более 0,5 мм для вертикальных и не более 1,5 мм для горизонтальных швов.
В современной доменной печи продолжительность пребывания в ней материалов составляет 4-6 часов, а газов - 1-3 секунд. Высокие показатели плавки могут быть получены при хорошем распределении газов по сечению печи. Только в этом случае газы в максимальной степени отдадут физическое тепло материалам и наиболее полно будет использована их восстановительная способность. Естественно, что распределение газового потока по сечению печи зависит от распределения шихты.
Шихту загружают в печь отдельными порциями - колошами. Рудную часть колоши можно загружать отдельно или одновременно с коксом. Величину колоши и способ её загрузки выбирают так, чтобы распределение газов в печи было наилучшим.
Следует учитывать, что дутьё поступает в печь у стен, а газовое сопротивление слоя шихты у стен меньше, чем в центре, и поэтому газы стремятся идти вдоль стен. В настоящее время основным железнорудным материалом является агломерат, слой которого менее газопроницаем, чем слой кокса. Поэтому целесообразно, чтобы слой агломерата у стен был толще, чем в центре печи, а слой кокса - наоборот.
В связи со значительным объёмом доменных печей и переходом на более мелкую калиброванную шихту (окатыши, дроблёный кокс, отгрохоченный агломерат) подачу шихты на колошник осуществляют транспортёром с применением засыпных аппаратов новых типов с большими возможностями регулирования газового потока перераспределением шихты по радиусу колошника.
Продукты доменной плавки.
Конечными продуктами доменной плавки являются чугун и шлак, выпускаемые из доменной печи в огненно-жидком виде, и доменный газ. Чугун, как правило, является основным продуктом доменного производства, а шлак и доменный газ - побочными.
Цель доменного производства состоит в получении чугуна, представляющего собой многокомпонентный сплав железа с углеродом, кремнием, марганцем, фосфором и серой. В зависимости от назначения чугуна и от состава проплавляемых шихтовых материалов в нём может содержаться, кроме того, ещё хром, никель, ванадий, титан, медь и мышьяк. Содержание основных элементов (C, Si, Mn, P, S, Cr, Ni, Cu, As) в чугуне регламентируется соответствующим ГОСТом или техническими условиями.
Состав чугуна, получаемого в ходе доменной плавки, определяется требованиями потребителей и возможностями доменной плавки. Сообразно с этим стремятся подобрать состав шихтовых материалов и технологический режим плавки.
Все доменные чугуны по своему назначению подразделяют на три основных вида: передельный, предназначенный для дальнейшего передела в сталь; литейный, используемый после переплава в чугуноплавильных цехах для отливки чугунных изделий; доменные ферросплавы, используемые в качестве раскислителей или присадки в сталеплавильном и чугунолитейном производствах.
Передельный чугун является преобладающим видом продукции доменного производства. На его долю приходится около 90 % общего производства чугуна. Он предназначен для производства стали в конвертерах или мартеновских печах и обычно содержит 0,3-1,2 % Si; 0,2-1,0 % Mn, 0,15-0,2 % Р и 0,02-0,07 % S. В чугуне некоторых марок, предназначенном для передела в кислых конверторах, фосфора должно быть очень мало (≤0,07 %), а в используемом для специального сталеплавильного передела с получением не только стали, но фосфористых шлаков необходимо, чтобы фосфора было 1,2-2,0 %.
Литейный чугун по содержанию фосфора подразделяют на малофосфорный (до 0,1% Р), обычный (0,1-0,3 % Р), и высокофосфористые чугуны (0,31-0,7 % и 0,71-1,2 % Р). Для изготовления высокопрочных изделий применяют чугуны с низким содержанием фосфора, а для художественного литья - высокофосфористые чугуны.
Следует отметить, что в последние годы передельный чугун используют не только для выплавки стали, но и для переплавки в чугунолитейных цехах для производства чугунных отливок.
Выплавка чугуна в доменных печах неизбежно сопровождается получением значительного количества доменного шлака, являющегося побочным продуктом доменной плавки. Шлак образуется в доменной печи из флюсов, золы кокса и железосодержащих материалов. Его количество определяется содержанием железа в шихте и требуемой основностью. Чем беднее железом шихта и чем выше требуемая основность шлака, тем больше выход шлака из печи. Обычно при выплавке передельного и литейного чугунов выход шлака составляет 0,3-0,6 т на 1 т чугуна.
Доменный процесс определяется тепловыми, химическими, газодинамическими, механическими явлениями, протекающими в печи. Доменная печь как объект управления очень сложна, очень сложно изучить все параметры доменной печи как объекта управления, поэтом управление доменными процессами осуществляется исходя из многолетнего опыта специалистов доменного производства.
В комплексе управлений технологическими процессами можно выделить следующие подсистемы: шихтовки и шихтоподачи, теплового режима, распределения газового потока, хода доменной печи.
Подсистема управления шихтовки и шихтоподачи решает следующие основные задачи: расчёт шихты для доменной плавки из данных материалов, управление набором, взвешиванием и доставкой материала на колошник, управление загрузкой материалов в доменную печь.
Управление тепловым режимом обеспечивает управление тепловыми процессами в верхней и нижней частях доменной печи.
Управление распределением газового потока включает в себя управление распределением дутья и природного газа по фурмам, а также управление распределением материалов на колошнике.
Управление ходом доменной печи обеспечивает управление одновременного схода столба шихтовых материалов.
Подача и нагрев дутья.
Для нормального протекания доменного процесса и достижения высокой производительности необходимо вдувать ежеминутно 1,6-2,3 м3 (или 1,9-3,2 кг) дутья на 1 м3 полезного объёма печи. Нижний предел относится к работе на дутье, обогащённом кислородом. Так, при работе доменной печи объёмом 3000 м3 ежеминутно необходимо подавать дутья около 4800 м3, а для доменной печи объёмом 5000 м3 - около 8000 м3. А так как давление газов на колошнике повышается до 250 кПа, то давление дутья, подаваемого в печь, достигает 350-400 кПа.
Для подачи в доменную печь дутья и его сжатия применяют воздуходувные машины различных типов. Наибольшее распространение получили центробежные воздуходувные машины с паротурбинным приводом, так называемые паротурбовоздуходувки производительностью 4000-7000 м3/мин, создающие давление дутья на выходе, равное 400-500 кПа.
В настоящее время в качестве дутья широко применяют воздух, обогащённый кислородом. Последний получают на кислородных станциях с блоками разделения воздуха. Производительность больших блоков по кислороду составляет 35 000 м3/ч. В этих блоках процесс состоит из предварительного сжижения воздуха, который затем подвергают ректификации, т. е. разделению, основанному на различии температур сжижения различных составляющих воздуха. При разделении необходимо достигать отрицательных температур до -200 ˚С, так как температура кипения воздуха составляет -192˚С. Такие низкие температуры достигают в результате многократного расширения сжатого воздуха и системы теплообменников, в которых происходит передача холода от одной среды к другой. При испарении жидкого воздуха в первую очередь улетучивается смесь газов, богатых азотом (tкип=-195,8˚С), затем аргоном (tкип=-189,4˚С), вследствие чего остаток постепенно обогащается кислородом (tкип=-183˚С). Полученный на кислородной станции газообразный технический кислород (95-97% О2) либо добавляют во входной патрубок воздуходувной машины или же подают к воздухонагревателям по отдельному кислородопроводу.
Дутьё, подаваемое воздуходувной машиной, нагревают до1050-1300˚С в воздухонагревателях, называемых иногда кауперами в честь Каупера, который в 1857 г. получил патент на регенеративный воздухонагреватель с кирпичной насадкой.
Современный воздухонагреватель имеет наружный диаметр 9 м, высота до верха купола составляет 36 м. Верхнюю часть насадки и купол выкладывают из высокоглинозёмистого кирпича или динаса, а нижнюю часть - из шамотного кирпича. Толщина насадочного кирпича составляет 40 мм. Из этого кирпича выложены ячейки размером 45 × 45 мм по всей высоте насадки. Поверхность нагрева 1 м3
такой насадки около 25 м2. В последнее время предложено применять для насадки шестигранные блоки с круглыми ячейками, имеющими горизонтальные проходы. Это более сложная насадка, но её поверхность составляет около 30 м2 на 1 м3 объёма насадки.
Следует различать газовый и воздушный периоды работы воздухонагревателя. В газовый период осуществляется нагрев насадки продуктами сжигания газа, а в воздушный период нагревается дутьё за счёт охлаждения насадки. В газовый период закрыты клапаны холодного и горячего дутья и открыты горелка и дымовые клапаны.
Газ сжигается в камере горения и догорает под куполом, а продукты сгорания проходят сверху вниз через насадку, нагревают её и с температурой 250-400 ˚С уходят через дымовые клапаны и борова в дымовую трубу. Для подачи газа предусмотрена газовая горелка с вентилятором производительностью по воздуху 80-200 тыс. м3/ч. Сжигают главным образом очищенный колошниковый газ или смесь его с природным или коксовым газом.
В воздушный период закрыты дымовые клапаны и отключена газовая горелка, но открыты клапаны для подачи холодного и отвода горячего дутья. Холодное дутьё поступает в поднасадочное пространство, проходит насадку, где нагревается, и через клапан направляется в воздуховод горячего дутья и затем в печь.
По мере охлаждения насадки воздухонагревателя температура горячего воздуха, выходящего из него, падает. Это недопустимо для нормальной работы доменной печи, поэтому воздух нагревают до более высокой температуры, чем это необходимо, и к нему подмешивают, используя автоматическое дозирование, требуемое количество холодного воздуха, чтобы поддержать температуру дутья постоянной. Это осуществляется при помощи смесительного воздухопровода и автоматического смесительного клапана.
Газовый период примерно в два раза продолжительнее воздушного. Следовательно, необходимо не менее трёх кауперов - два одновременно нагреваются, а один нагревает воздух. Фактически на печь приходятся четыре каупера, а в некоторых случаях - семь кауперов на две печи.
Для обеспечения нагрева дутья до высокой температуры (1200 ˚С и выше) необходимо, помимо наличия требуемой поверхности нагрева, применять в подкупольной части достаточно огнеупорные материалы. Для этого применяют специальный высокоглинозёмистый кирпич. Или малоразрыхляющийся динас. С целью увеличения поверхности нагрева воздухонагревателей в последнее время стали применять выносные камеры горения.
Для уменьшения или полного прекращения подачи дутья в печь баз остановки воздуходувной машины на каждой печи имеется воздушно-разгрузочный клапан, или клапан снорт. Он установлен на воздухопроводе холодного дутья между воздухонагревателем и воздуходувной машиной, управление им осуществляется с площадки, расположенной у горна доменной печи.
Конструкция и принцип действия воздухонагревателя.Современный воздухонагреватель представляет собой вертикально расположенный куполообразный цилиндр (основные размеры воздухонагревателей определяют путём теплотехнического и гидравлического расчётов, исходя из требуемой температуры нагрева дутья и его количества; кроме того, производят расчёт воздухонагревателя на прочность, руководствуясь заданным давлением дутья). Снаружи воздухонагреватель заключён в стальной кожух, который изнутри выложен огнеупорным кирпичом для предотвращения прогара и деформаций кожуха, а также для уменьшения тепловых потерь в атмосферу.
Внутреннее пространство воздухонагревателя разделено не доходящей до верха вертикальной стеной 7 из огнеупорного кирпича на две части: камеру сгорания 4 и огнеупорную насадку 6 с вертикальными каналами, которая сверху соединяется с камерой сгорания подкупольным пространством 5, а внизу с поднасадочным пространством 8. Поднасадочное пространство в зависимости от режима работы воздухонагревателя может соединяться либо с боровом и дымовой трубой, либо с воздухопроводом холодного дутья.
Воздухонагреватель работает циклично. Цикл работы начинается с нагрева насадки. Для этого в камеру сгорания 4 через отверстие 2 принудительно подают газо-воздушную смесь, которая, соприкасаясь с раскалёнными стенами в нижней части камеры сгорания, воспламеняется
и полностью сгорает в шахте камеры сгорания. Максимальная температура продуктов сгорания достигается в подкупольном пространстве 5, где газы, изменив направление движения на 180о, устремляются сверху вниз через вертикальные каналы огнеупорной насадки 6, передавая ей своё тепло. Из вертикальных каналов насадки газы поступают в поднасадочное пространство 8, охлаждёнными до 200 – 400о С и через отверстие 9 дымовых каналов поступают в дымовой боров и в дымовую трубу.
Передача тепла более нагретых газов менее нагретой огнеупорной насадке происходит в основном конвекцией и лишь частично излучением. Поэтому чем выше скорость движения газов, чем больше поверхность их соприкосновения с насадкой и чем больше разность температур газов и насадки, тем интенсивнее протекает передача тепла.
После окончания нагрева насадки воздухонагреватель переводят на нагрев дутья. Для этого специальными клапанами закрывают отверстия 2 и 9, отсоединяя воздухонагреватель от горелки и дымового борова, и через отверстие 1 соединяют поднасадочное пространство с воздухопроводом холодного дутья, а камеру сгорания через отверстие 3 с воздухопроводом горячего дутья. Холодный воздух от воздуходувной машины из поднасадочного пространства устремляется через каналы насадки и движется снизу вверх, отбирая тепло нагретой насадки. Из вертикальных каналов насадки нагретый до высокой температуры воздух выходит в подкупольное пространство, где изменяет направление движения на 180о и через камеру сгорания и отверстие 3 поступает в воздухопровод горячего дутья, который соединён с кольцевым воздухопроводом доменной печи. В первый момент после перевода из режима нагрева в режим дутья энтальпия насадки воздухонагревателя максимальна. Температуры купола и верха насадки тоже максимальны. По мере работы в дутьевом режиме насадка отдаёт тепло воздуху и её температура уменьшается. Когда температура верхних рядов насадки станет равной заданной температуре дутья, следует перевести в режим дутья новый нагретый воздухонагреватель, а остывший перевести в режим нагрева. Перевод воздухонагревателей осуществляется по программе: 1 час в режиме дутья, 2 часа в режиме нагрева. Работу воздухонагревателя в период нагрева насадки принято называть газовым режимом воздухонагревателя, а работу в период нагрева дутья – воздушным режимом воздухонагревателя.
Схема Системы автоматического регулирования.

Воздухонагреватели предназначены для нагрева дутья до температур выше 1300 ˚С. Чтобы обеспечить непрерывный нагрев дутья, доменную печь оснащают тремя или четырьмя воздухонагревателями, представляющие собой регенеративные устройства периодического действия и работающие поочерёдно в режимах аккумуляции тепла насадками регенераторов (режим нагрева) или нагрева дутья (дутьевой режим). Перевод воздухонагревателей из одного режима в другой осуществляется автоматически по программе (1 ч. в режиме дутья, 2 ч. в режиме нагрева) или по показателю, характеризующему остывание нагревателя. Это может быть степень закрытия заслонки, регулирующей подмешивание холодного воздуха к дутью, проходящему через воздухонагреватель. Очевидно, что, если заслонка приближается к полному закрытию, то воздухонагреватель остыл, и температура нагрева дутья в нём близка к минимально допустимому значению. Требуется переключение воздухонагревателя на режим нагрева.
Задачами автоматического управления тепловым режимом воздухонагревателей являются полное и экономичное сжигание топлива, нагрев насадки до заданной температуры с ограничением предельной температуры купола для предотвращения разрушения огнеупоров, автоматическое переключение с режима нагрева на режим дутья и наоборот.
Расход газа на каждый воздухонагреватель II контролируется датчиком 2а в комплекте со вторичным прибором 2б и поддерживается на заданном уровне регулятором расхода 2г с помощью исполнительного механизма 2д с регулирующей заслонкой 2е, установленной на подводе газа к горелке III.
Температура купола стабилизируется системой, состоящей из датчика температуры 1а, вторичного прибора 1б, регулятора 1в и исполнительного механизма 1д, который воздействует на лопатки направляющего аппарата вентилятора IV.
Температура дыма после воздухонагревателя измеряется термоэлектрическим термометром - термопара 4а и вторичный прибор 4б.
Работа системы регулирования нагрева протекает следующим образом. Из схемы автоматического переключения воздухонагревателей поступают сигналы на включение вентилятора и частичное открытие клапана на газопроводе. Если в камере горения вспыхивает факел, то датчик наличия факела 3а даёт разрешение на включение регулятора расхода 2г, который с этого момента начинает поддерживать заданный расход газа. Расход воздуха в этот момент устанавливают с таким расчётом, чтобы коэффициент расхода воздуха был близок к единице. Температура купола начинает возрастать и в некоторый момент времени достигает максимально допустимого значения, установленного задатчиком. С этого момента регулятор 1в начинает увеличивать расход воздуха, открывая лопатки направляющего аппарата вентилятора 1е. При этом температура купола стабилизируется вследствие уменьшения температуры продуктов сгорания, а теплоотдача от газов к насадке воздухонагревателя увеличивается, так как возрастает количество продуктов сгорания и увеличивается скорость их движения по каналам насадки.
По мере прогрева насадки возрастает температура дыма, уходящего из воздухонагревателя. Когда она достигает максимально допустимого значения, заданного задатчиком 4в, корректирующий прибор 4б изменяет задание регулятору расхода газа 2г, не допуская дальнейшего увеличения температуры дыма. Если при этом температура купола несколько снизится, то регулятор температуры 1в сократит расход воздуха и обеспечит повышение температуры купола до заданного значения.
Выбор используемых приборов.
Датчик температуры ТТ 242.
Термоэлектрический датчик ТТ 242 предназначен для измерения температуры газовых потоков в условиях механических и температурных воздействий.
Основные технические характеристики:
Диапазон измерений, ˚С 0 +2000
Сопротивление, Ом 2,6 ± 0,2
Показатель термической инерции, с не более 1,5
Вероятность безотказной работы с вероятностью 0,8 не менее 0,98
Масса, кг не более 0,2
Номинальная статическая характеристика ВР(А)-1, ВР(А)-2, ВР(А)-3
Условия эксплуатации:
Воздействие трёх циклов изменения температуры окружающей среды, ˚С -100 +50
Температура, ˚С:
В месте установки датчика, в зоне укладки кабеля и установки
штепсельного разъёма не более +200
погруженной в контролируемую среду части корпуса датчика не более +800
давление рабочей среды в течение 2 с, МПа 0,4
вибрация в полосе частот 3…20 Гц с ускорением, м/с2 24…40
случайная вибрация в полосе частот 20…2000 Гц со спектральной
плотностью, м•с-2/Гц не более 200
ударные ускорения при частоте ударов 30…10 000 Гц, м/с2 50…50 000
акустический шум в диапазоне 20…4000 Гц с интенсивностью, дБ не более 176

Чувствительным элементом датчика является открытая вольфрам-рениевая термопара с диаметром электродов 0,35 мм. Герметизация датчика и крепление чувствительного элемента в корпусе обеспечивается герметичным выводом из прессматериала ВЭП-1. Кабель датчика состоит из вольфрам-рениевых проводников, изолированных друг от друга и экранированных плетёнкой из нержавеющей стали.
Разработчик: НПО измерительной техники, г. Королёв.
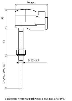
Датчик температуры ТХК 1087.
Термоэлектрический датчик ТХК 1087 предназначен для измерения температуры азотоводородной смеси и газов после сгорания природного газа (H2, N2, CO, O2, H2O, CH4), газообразного и жидкого аммиака, природного газа, конвертированного газа, моноэтанолоаминеового раствора с примесями сероводорода (H2S) и сернистого анигирида (SO2) в допустимых пределах по ГОСТ 12.1.005-76. До 4 ч допускается эксплуатация датчиков при концентрации H2S до 100 мг/м3.
Датчики выпускаются в четырёх конструктивных вариантах. Всего существует 71 заводской вариант исполнения датчика ТХК 1087. Заводские варианты исполнения различаются конструкцией, схемой электрических соединений, материалом защитной арматуры и длиной монтажной части.

Основные технические характеристики:
Диапазон измерения, ˚С 0…+600
Показатель термической инерции, с 20
Масса, кг 1,22
Номинальная статическая характеристика XK(L)
Давление рабочей среды, МПа 16
Защищённость от воздействия окружающей среды со стороны выводов IP55
Виброустойчивость - исполнение N4 по ГОСТ 12997-84
Вид взрывозащиты - взрывонепроницаемая оболочка по ГОСТ 22782.6-81
Маркировка по взрывозащите 2ExdIICT6.
Материал защитной арматуры - сталь 12X18H10T
Изготовитель: Луцкий приборостроительный завод ПО Электротермия, г. Луцк, Украина.
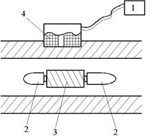
В качестве элемента 3а выберем фотосигнализатор пламени.
Входной сигнал - низкочастотная пульсация света с длиной волны от1 до 3 мкм в диапазоне 6-12 Гц. Выходной сигнал - замыкание контактов реле контроля пламени.
ТУ 311.00225549.084-92.
ФСП 1.1 42.1878.
Изготовитель: Московский завод тепловой автоматики.
Турбинный расходомер состоит из 3-х основных элементов: турбинный первичный преобразователь расхода 3, вторичный преобразователь частоты вращения 4, регистрирующей измерительной системы 1, 2 - подшипник.

Турбинные приборы в качестве первичного преобразователя имеют как правило аксиальные трубки, оси которых совпадают с осью трубопровода, на имеют механической связи с каким-либо измерительным или счётным устройством, за счёт этого снижается погрешность измерения.
В качестве элемента 2а выберем расходомер фирмы Singer, модель 12 GT; эта модель имеет рабочее давление 10 МПа, расход 4250-415000 м3/ч, погрешность ±1.
Выбор регулятора
Исходными данными к расчёту регулятора являются статические и динамические параметры объекта, то есть коэффициент объекта Коб, чистое запаздывание
и постоянная времени
. Тип регулятора выбирают исходя из следующих рекомендаций:

- релейный
- непрерывный
- непрерывный
В нашем случае: τоб=10мин, Tоб= 1 час. Исходя из приведённых выше рекомендаций выбираем релейный регулятор.

U
1
0 t, оС
1400о С 1500о С
Рис. 4. Релейная характеристика регулятора 1в.
Вид релейной характеристики (рис. 4) обусловлен принципом работы САР нагрева купола в режиме нагрева воздухонагревателя. При сгорании газо-воздушной смеси происходит нагрев купола (нижняя ветвь характеристики); когда его температура достигает значения 1500 оС (максимальная температура нагрева купола воздухонагревателя составляет 1550 оС) регулятор подаёт сигнал на включение вентилятора, который увеличивает подачу воздуха (в результате снижается температура продуктов сгорания, а теплопередача от газов к насадке воздухонагревателя увеличивается, так как возрастает их количество и скорость движения по каналам насадки) и температура купола начинает снижаться. Когда снижение температуры достигает значения в 1400о С, регулятор посылает сигнал на выключение вентилятора. В результате этого температура купола снова начинает увеличиваться, так как избытка воздуха уже нет (увеличивается температура продуктов сгорания, а теплопередача от газов к насадке воздухонагревателя уменьшается).
Аналогично поступаем и с регулятором 2г. Его характеристика имеет такой же вид, как у 3-х позиционного реле.

Регулятор выдаёт сигнал однооборотному запорному механизму на закрытие заслонки газопровода при увеличении температуры отработанного газа свыше 400 оС, т. е. когда насадка воздухонагревателя нагрелась. При температуре газа ниже 200 оС регулятор выдаёт сигнал на открытие заслонки - происходит процесс нагрева насадки. Регулятор при регулировании расхода газа должен работать согласно с системой переключения режимов работы воздухонагревателя.
В качестве регулятора выберем программируемый контроллер SIMATIC S7-200, CPU 222 Программируемые контроллеры SIMATIC S7-200 предназначены для построения систем автоматического управления и регулирования, как отдельных машин, так и отдельных частей производственного процесса.
Контроллеры находят применение для управления:
1) прессами;
2) смесителями пластификатора и цемента;
3) насосными и вентиляторами;
4) деревообрабатывающим оборудованием;
5) воротами и дверями;
6) гидравлическими подъемниками;
7) конвейерами;
8) оборудованием пищевой промышленности;
9) лабораторным оборудованием;
10) обменом данными через модем;
11) электротехническим оборудованием и аппаратурой;
На их основе могут создаваться эффективные управляющие устройства, отличающиеся относительно невысокой стоимостью SIMATIC S7-200 позволяют решать широкий спектр задач управления. От замены простых релейно-контактных схем до построения автономных систем управления или создания интеллектуальных устройств систем распределенного ввода-вывода. Программируемые контроллеры S7-200 находят применение там, где основным требованием к системе управления является ее низкая стоимость. Их основные достоинства:
1) Программируемые контроллеры, отличающиеся максимумом эффективности при минимуме затрат.
2) Простота монтажа, программирования и обслуживания.
3) Решение как простых, так и комплексных задач автоматизации.
4) Возможность применения в виде автономных систем или в качестве интеллектуальных ведомых устройств систем распределенного ввода-вывода.
5) Возможность использования в сферах, где применение контроллеров раньше считалось экономически нецелесообразным.
6) Работа в реальном масштабе времени и мощные коммуникационные возможности (PPI, PROFIBUS-DP, AS интерфейс).
7) Компактные размеры, возможность установки в ограниченных объемах
Основные характеристики S7-200:
1). Простота освоения, подкрепляемая наличием специальных стартовых пакетов и технической документации.
2). Простота использования: интуитивно понятный мощный набор инструкций, дружественное программное обеспечение.
3). Работа в реальном масштабе времени.
4). Мощные коммуникационные возможности: работа в сетях PROFIBUS-DP и AS интерфейсе, связь по PPI и MPI, использование свободно программируемых протоколов.
Семейство SIMATIC S7-200 включает в свой состав:
1) 4 типа центральных процессоров различной производительности;
2) 15 типов модулей ввода-вывода дискретных и аналоговых сигналов;
3) 2 коммуникационных процессора для подключения к сетям PROFIBUS и AS-Interface.
Механические характеристики
1) Компактный пластиковый корпус.
2) Простой вариант подключения внешних соединений. Защита всех токоведущих частей пластиковыми крышками.
В качестве центрального процессора контроллера выберем CPU 222 - компактный программируемый процессор с 14 встроенными дискретными входами - выходами и возможностью подключения до 2 модулей расширения.
Технические данные программируемого контроллера SIMATIC S7-200, CPU 222 приведены в приложении I. Модификации процессора CPU 222 приведены в таблице 1.
Таблица 1
Модификации | ||||
| Модификация | Напряжение питания | Входное напряжение | Выходное напряжение | Выходной ток |
| выходы постоянного тока | 24В, постоянное | 24В, постоянное | 24В, постоянное | 0.75 A, транзистор |
| релейные выходы | 85 … 264В, переменное | 24В, постоянное | 24В, постоянное 24…230В, переменное | 2 A, реле |
Для построения систем человеко-машинного интерфейса программируемых контроллеров S7-200 воспользуемся текстовым дисплеем TD 200.
Текстовый дисплей TD 200 является наиболее удобным средством для создания интерфейса оператора с программируемым контроллером SIMATIC S7-200. Дисплей соединяется с контроллером соединительным кабелем, входящим в его комплект поставки, по PPI интерфейсу и не требует использования дополнительного источника питания. TD 200 может быть использован для решения следующих задач: а) отображение сообщений; б) изменение параметров настройки программы; в) ручной запуск и остановка машин и механизмов. Он обладает следующими достоинствами:
1). Удобство пользования.
2). Оперативное управление и мониторинг: отображение текстовых сообщений, изменение параметров настройки системы, установка входов и выходов.
3). Непосредственное подключение к интерфейсу центрального процессора с помощью входящего в комплект поставки кабеля или включение в PPI сеть.
4). Отсутствие необходимости в использовании отдельного блока питания.
5). Настройка параметров из STEP 7 Micro/WIN без использования дополнительного программного обеспечения.
6). Возможность изготовления фронтальной панели с учетом пожеланий заказчика.
7). Выполнение операций адресации и настройки с помощью системы меню.
Параметры настройки текстового дисплея TD 200 сохраняются в памяти центрального процессора программируемого контроллера S7-200. Необходимые части текстовых сообщений и параметры настройки текстового дисплея формируются инструментальными средствами пакета STEP 7-Micro/WIN. Дополнительного программного обеспечения для этих целей не требуется.
В памяти центрального процессора программируемого контроллера S7-200 резервируется специальная область для хранения данных, используемых для организации связи с текстовым дисплеем TD 200. При выполнении функций человеко-машинного интерфейса TD 200 осуществляет непосредственное обращение к этой области памяти центрального процессор
