Основные показатели, определяющие качество электроэнергии
Под термином "качество электрической энергии" понимается соответствие основных параметров энергосистемы установленным нормам производства, передачи и распределения электрической энергии.
Количественная характеристика качества электроэнергии выражается отклонениями напряжения и частоты, размахом колебаний напряжений и частоты, коэффициентом несинусоидальности формы кривой напряжения, коэффициентом несимметрии напряжения основной частоты.
Отклонение частоты - разность усредненная за 10 мин. между фактическим значением основной частоты и номинальным её значением. Отклонение частоты от номинального значения в нормальном режиме работы допускается в пределах ±0,1 Гц . Кратковременные отклонения могут достигать ±0,2 Гц .
Колебание частоты - разность между наибольшим и наименьшим значениями основной частоты в процессе достаточно быстрого изменения параметров режима, когда скорость изменения частоты не меньше 0,2 Гц в секунду. Колебания частоты не должны превышать 0,2 Гц сверх допустимых отклонений 0,1 Гц


Отклонения напряжения - разность между фактическим значением напряжения и его номинальным значением для сети, возникающая при сравнительно медленном изменении режима работы, когда скорость изменения напряжения меньше 1% в секунду.
или 
В условиях нормальной работы допускается отклонение напряжения в следующих пределах:
-5ё+10% - на зажимах электродвигателей и аппаратов для их пуска и управления
-2.5ё+5% - на зажимах приборов рабочего освещения
±5% - на зажимах остальных приемников электрической энергии
В после аварийных режимах допускается дополнительное понижение напряжения на 5%.
Колебание напряжения
Колебание напряжения оценивается следующими показателями:
Размахом изменения напряжения dU т.е. разностью между наибольшим и наименьшим действующими значениями напряжения в процессе достаточно быстрого изменения параметров режима, когда скорость изменения напряжения не менее 1% в секунду


2. Частотой изменений напряжения (1/с, 1/мин., 1/ч.)
F=m/T
где m- количество изменений напряжения со скоростью изменения более 1% в секунду за время Т.
3. Интервал между следующими друг за другом изменений напряжения Dtkj
Несинусоидальность напряжения сети характеризуется коэффициентом несинусоидальности (искажения) кривой напряжения, который определяется по формуле:

где Un - действующее значение напряжения n - й гармоники;
U1 - действующее значение первой или основной гармоники.
Коэффициент несинусоидальности напряжения не должен превышать 5% на зажимах любого приемника электроэнергии.
Под несимметрией напряженийпонимают неравенство фазных или линейных напряжений по амплитуде и углам сдвига между ними.
Нормируемым показателем несимметрии является коэффициент обратной последовательности напряжения, равный отношению напряжения обратной последовательности U2 к номинальному линейному напряжению Uном.

Допустимое значение коэффициента e2 составляет 2%.
При выходе показателей качества за установленные пределы увеличиваются расход и потери электроэнергии в системах электроснабжения, снижается уровень надежности работы электрооборудования, возникают нарушения технологических процессов и снижается выпуск продукции.
Отклонения и колебания напряжения.
Отклонения напряжения
Каждый электроприемник спроектирован для работы при номинальном напряжении и должен обеспечивать нормальное функционирование при отклонениях напряжения от номинального на заданную величину. При изменении напряжения в пределах этого диапазона могут изменятся значения выходного параметра электроприемника ( температура в электротермической установке, освещенность у светильников, полезная мощность на валу электродвигателя и т.д.)
Основными причинами отклонений напряжения в системах электроснабжения предприятий являются изменения режимов работы приемников электроэнергии, изменения режимов питающей энергосистемы, значительные индуктивные сопротивления линий 6-10 кВ. Изменения напряжения на зажимах приемника электроэнергии даже в установленных пределах вызывает изменение его технико-экономических показателей.
Отклонения напряжения зависят от очень многих случайных и к тому же часто изменяющихся факторов. Последствия от отклонений напряжения зависят не только от величины, но и от продолжительности отклонения, а также от того, какой процент потребителей подвергается большим отклонениям. Так, например, кратковременные и редкие, хотя даже и значительные отклонения напряжения у отдельных потребителей не могут оправдать расходов, связанных с удорожанием сети , которое будет необходимо для уменьшения или ликвидации этих отклонений.
Для характеристики качества напряжений в настоящее время разработана вероятная оценка, основанная на методе математической статистики. Этот метод впервые был разработан П. Айере, доказавшим ,что количественную оценку влияния медленных изменений напряжения на экономичность работы электроприемников наиболее удобно и точно можно производить по среднему квадрату отклонения напряжения ((%)2) за период времени Т, названного автором метода неодинаковостью напряжения (Ucк)2(%)2

где, (dUt)=(Ut-UH)/UH - отклонения напряжения в момент t
Ut- напряжение в рассматриваемой точке сети в момент времени t
Величина неодинаковости напряжения имеет размерность процент в квадрате. Единица неодинаковости 1(%)2 или 1/10000 . Например, при неодинаковости 25(%)2 квадрат относительных отклонений 25/10000 , а сами отклонения 5/100 или 5%.
Для анализа режимов напряжения в электросетях применяется специальные статические анализаторы напряжения, позволяющие измерять квадрат среднеквадратичного отклонения (dUск)2 и величины среднего значения отклонения напряжения, % , за время Т,

По этим данным может быть определена дисперсия случайной величины, характеризующая меру отклонения от среднего значения случайной величины

По полученным значениям величины s2 ,
и Uср можно определить вероятность превышения заданных пределов отклонения, пользуясь таблицами нормальной функции распределения ( интеграл вероятности)
Влияние отклонения напряжений на работу отдельных приемников электрической энергии .
В таблице приведены данные по влиянию отклонения напряжения в пределах от-10 до +10% на характеристики асинхронных электродвигателей.
| ХАРАКТЕРИСТИКИ ДВИГАТЕЛЕЙ | Изменение характеристики при изменении напряжения | ||
| -10% | +10% | ||
| 1 | Пусковой и вращающий момент | -19% | +21% |
| 2 | Синхронная частота вращения | const | const |
| 3 | Скольжение , % | +23% | -17% |
| 4 | Частота вращения при номинальной нагрузке | -1.5% | +1% |
| 5 | KПД а) при номинальной нагрузке б) при нагрузке 75% в) при нагрузке 50% | -2% const -1ё-2% | +1% const -1ё+2% |
| 6 | cosj при нагрузке а) 100% б) 75% в) 50% | +1% +2ё+3% +4ё+5% | -3% -4% -5ё-6% |
| 7 | Ток ротора при номинальной нагрузке | +14% | -11% |
| 8 | Ток статора при номинальной нагрузке | +10% | -7% |
| 9 | Пусковой ток | -10ё-12% | +10ё+12% |
| 10 | Прирост t обмотки при номинальной нагрузке | +5ё+6C | Практически без изменений |
Данные приведенные в таблице показывают изменения характеризующих собственно двигателя показатели. Отклонения этих показателей от номинального значения влияют на технологическое оборудование вместе с которыми работает двигатель и вызывает некоторый экономический ущерб.
Проведенные исследования показали следующие величины ущербов от некачественного напряжения.
При среднем отклонении напряжения 3,86% номинального на установке электропечей для плавки цветных металлов общей мощностью 280 кВт был получен перерасход энергии 65000 кВт*ч/год
При отклонении напряжения на 2,87% в цехе горячей вулканизации обувной фабрики получается брак, а отклонения 1-2% ведут к изменению температуры нагрева и задержке в выпуске продукции, что дало бы ущерб более 1млн.руб/год.
Электроплавильная печь мощностью 10000 кВА на заводе ферросплавов при номинальном напряжении работает с суточной производительностью 44 т. силикохрома. При снижении напряжения на 5-9% производительность уменьшается до 38,8 т. т.е. примерно на 12%.
Снижение напряжения ухудшает качество сварочных швов. Цикл времени сварки при снижении напряжения на 10 % удлиняется приблизительно на 20%.
Если в сети ткацкого цеха, где установлено 2220 станков марки АТ-120-5, напряжение на 5% ниже номинального будет держаться только в течении 1 час, то за это время будет недоотпущено 131 м. суровой ткани.
Понижение напряжения на 6-7% на электрических печах отжига цветных металлов мощностью 3ґ225 кВт привело к перерасходу электроэнергии 270 тыс.кВт*ч/год и удлинению технологического процесса.
Наиболее чувствительны к отклонениям напряжения лампы накаливания. На рис. Представлена зависимость мощности, светового потока и срока службы лампы от уровня напряжения сети.

Световой поток F
Световая отдача h
Мощность Р
Средний срок службы Т ( в процентах)
Для ламп накаливания повышение напряжения только на 1% сверх номинального вызывает увеличение потребляемой мощности приблизительно на 1,5%, светового потока на 3,7% и сокращение срока службы ламп накаливания на 14%. Увеличение напряжения на 3% сокращает срок службы ламп накаливания на 30%, а повышение напряжения на 5% приведет к сокращению срока службы ламп в 2 раза. Срок службы люминесцентных ламп при повышении напряжения на 10% сокращается на 20-30%.
Определение убытка при отклонениях напряжения.
Характеристики работы приемников электроэнергии по напряжению можно разделить на технические и экономические. Технические характеристики - это зависимости, например, частоты вращения двигателей, времени плавки в электропечах, светового потока осветительных приборов, активной мощности, потребляемой двигателями и т.д. от напряжения на их зажимах.
При наличии данных о количественном влиянии напряжения на технические характеристики приемника можно определить экономический убыток при отклонениях напряжения.
Y=3(U) - 3(Uном)
3(U) - затраты для выработки продукции при фактическом U
3(Uном) - затраты для выработки продукции при номиналь-
ном U
Зависимость убытка от отклонений напряжения на зажимах приемника называется экономической характеристикой :
Y= f(U)
Пользуясь экономическими характеристиками, можно определить оптимальные режимы напряжения и эффективные способы его поддержания.
На результирующую экономическую характеристику наибольшее влияние оказывает изменение количества выпускаемой продукции, кроме этого оказывает влияние убыток от перерасхода электроэнергии и убыток от изменения срока службы приемника.
Работа асинхронного двигателя работающего с производственным механизмом при отклонении напряжения вызывает суммарный убыток :
Y=Y1+Y2+Y3+Y4
Здесь:
Y1- убыток вызванный изменением производительности механизма
Y1=(Пном-П)at
где Пном и П - часовая производительность работы двигателя соответственно с номинальным напряжением и с отклонением от номинального напряжения
a- стоимость единицы продукции, выпускаемой данным механизмом
t - время, за которое определяется убыток.
Составляющие суммарного убытка от изменения потребления активной Y2 и реактивной мощности Y3 асинхронным двигателем.
Y2=(P-Pном)C0t ; Y3=(Q-Qном)C0tkип
Pном , P - потребляемая активная мощность при работе двигателя соответственно с номинальным напряжением и с отклонением от номинального напряжения;
Q,Qном - то же для реактивной мощности
C0 - стоимость 1 кВт*ч потерянной электроэнергии
kип - коэффициент изменения потерь кВт/ кВАр
Убыток от изменения срока службы двигателя при отклонениях напряжения равен

Где Сдв - стоимость двигателя
В- срок службы двигателя при номинальном напряжении относительный износ изоляции.

где КЗ коэффициент загрузки двигателя
РЕГУЛИРОВАНИЕ НАПРЯЖЕНИЯ
Способы регулирования напряжения в системах электроснабжения промышленных предприятий можно классифицировать следующим образом
а) Регулирование на шинах электростанций и п/ станций
На шинах эл.станций изменением тока возбуждения генераторов повышают напряжения в часы максимума нагрузки и снижают напряжения в часы минимума нагрузок.
Регулирование напряжения на шинах понизительной п/cт 6-10 кВ может осуществляться при помощи трансформаторов, статистических конденсаторов, синхронных компенсаторов и т.д.
б) Регулирование на отходящих линиях
Индивидуальное регулирование напряжения на каждой отходящей от шин п/ст линии является эффективным способом. В этом случае могут быть использованы трансформаторы с РНП, ВДТ и конденсаторы для продольной компенсации.
в) Совместное регулирование напряжения включает в себя первый и второй способы регулирования
г) Дополнительное регулирование напряжения применяется в том случае, когда не удается обеспечить требуемое качество напряжения у некоторой части потребителей эл.энергии.
д) Регулирование изменением схемы электроснабжения
В схеме электроснабжения осуществляют мероприятия позволяющие изменить величину и направление реактивной мощности и сопротивления отдельных участков, в результате чего изменяются уровни напряжения в отдельных точках сети.
Для поддержания уровней напряжения в допустимых пределах используют различные методы, которые можно разделить на 2 группы: не требующие затрат на установку специальных регулирующих устройств и связанные с установкой таких устройств.
Первая группа мероприятий включает в себя:
Рациональное построение системы электроснабжения (применение повышенного напряжения для линий , питающих предприятие, применение глубоких вводов, применение трансформаторов с оптимальным коэффициентом загрузки, применение токопроводов для распределительных сетей и т.д.)
Правильный выбор ответвлений обмоток у трансформаторов, имеющих устройство переключения обмоток без возбуждения (ПБВ).
Использование перемычек на напряжение до 1 кВ между цеховыми трансформаторами.
Снижение сопротивления системы внутризаводского электроснабжения включением на параллельную работу трансформаторов ГПП.
Регулирование напряжения генераторов собственных источников питания предприятия.
Использование регулировочных возможностей синхронных электродвигателей.
Ко второй группе мероприятий по регулированию напряжения относятся:
Установка на ГПП трансформаторов, имеющих устройство регулирования напряжения под нагрузкой (РНП)
Применение компенсирующих устройств
Применение специальных регуляторов напряжения.
Средства регулирования напряжения в сетях промышленных предприятий
Анализ средств регулирования напряжения удобнее всего провести из рассмотрения общей формулы напряжения у электроприемников U2 в зависимости от напряжения генератора U1, добавочного напряжения Uдоб , создаваемого регулирующими устройствами, и потери напряжения, обусловленной активной нагрузкой PM , реактивной QM, активным сопротивлением сети R и реактивным XL.
3 4 7 5 8 6 9 1 13 10 2 14 11 12 13

Регулирование напряжения генераторов
Изменение коэффициента трансформации трансформа-торов
Вольтодобавочные трансформаторы
Линейные регуляторы ( трансформаторы)
Индукционные регуляторы или потенциал регуляторы
Бесконтактные автоматические регуляторы напряжения
Синхронные двигатели.
Параллельно включенные конденсаторные батареи
Синхронные компенсаторы.
Компенсирующие преобразователи.
Статические источники реактивной мощности.
Сети с минимальным реактивным сопротивлением.
Продольная компенсация.
Сдвоенные реакторы.
Рассмотрим некоторые из технических средств регулиро-вания напряжения.
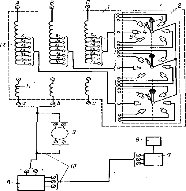
Трансформаторы с регулированием напряжения под нагрузкой
Регулировочные ответвления располагаются обычно в обмотке высшего напряжения. В зависимости от величины мощности и напряжения регулируемые трансформаторы имеют различные схемы соединения обмоток и диапазоны регулирования.
На рис. Показана схема включения обмоток и переключателей ответвления для трансформаторов напряжением 35, 10, 6 кВ мощностью от 60 до 630 вКА. Регулирование напряжения осуществляется в пределах (4ґ(+2.5) и 2ґ(-2,5))%.
Переключатель приводится в действие от электродвигателя. Переключение ответвлений обычно автоматизировано.
Рис . Схема регулируемых трансформаторов с шестью ступенями регулирования.

/—трансформатор; 2—переключатель ответвлений; 3— рабочий контакт переключателя; 4—вспомогательный контакт; 5—неподвижный контакт; 6—редуктор привода; 7—электродвигатели привода; 8—система автоматического управления; 9—трансформатор напряжения типа ТСМАН-630/35; /О—соединительные провода;, II—обмотка низшего напряжения; 12—обмотка высшего напряжения
На ГПП устанавливается трансформаторы с переключаю-щими устройствами, имеющими большое число ступеней и размещенными в отдельном баке. Так для трансформатора типа ТМН с мощностью 5,6 МВА напряжением 35/10 кВ применяют переключатели типа РНТ-9 с реактором с восемью ступенями по 2,5% или более совершенные переключатели с мелкими ступенями регулирования по 1,5% .

Рис . Схема многоступенчатого регулирования напряжения трансформаторов:
Установки продольной компенсации (УПК).
Принцип действия УПК поясняет векторная диаграмма
U1



R1 XL XC U2 I2









cosj1 cosj2




I2XL
U1 I2XL
I2R1




U2I2R1 U2 I2XC


U1







jj1 j2j1 j2



I2 I2
а) без конденсаторов б) при включении трансформаторов
При наличии в сети только активного R1 и индуктивного XL cопротивлений напряжения U2 уменьшается за счет падения напряжений - активного I2R1 и индуктивного I2XL . В этом случае U21, DU=U1-U2>0.
При включении емкостного сопротивления XC получается третье падение напряжения I2XC направленное противоположно I2XL. I2XC может быть подобрана таким образом, что вектор U2 будет равен вектору U1 или даже больше его, т.е. DU=0 или DU<0.
Величина XC выбирается в зависимости от потери напряжения без УПК DU%, допустимой потери напряжения DUдоп%, номинального напряжения Uн, тока нагрузки Im и sinj2

Достоинства УПК:
Автоматическое регулирование напряжения.
При одинаковом регулирующем эффекте мощность конденсаторов УПК получается в 4-6 раз меньше, чем мощность КБ при поперечной компенсации.
Применение конденсаторов, рассчитанных только на перепад напряжения IXC.
Недостатки УПК:
Возможность появления резонансных явлений
Недопустимость сквозных токов к.з.
3) Повышение уровня токов к.з.
ВОЛЬТОДОБАВОЧНЫЕ ТРАНСФОРМАТОРЫ
Вольтодобавочные трансформаторы имеют одну обмотку, включенную последовательно с линией, в которой регулируется напряжение. Эта обмотка получает питание от вспомогательного трансформатора, первичная обмотка которого питается от сети или постороннего источника тока.
На рис (а) показана принципиальная схема ВДТ

основной трансформатор
последовательный трансформатор
регулировочный трансформатор



Здесь к возбуждающей обмотке вольтодобавочного транс-форматора подводится напряжение, сдвинутое по фазе на 900 по отношению к напряжению данной фазы. Так для создания добавочного напряжения Ерег в фазе А к возбуждающей обмотке этой фазы подводят линейное напряжение UВС .
Тогда вектор добавочного напряжения Ерег будет перпендикулярен вектору фазного напряжения UA1, а вектор напряжения на выходе регулятора UA2 ,будет сдвинут на угол a, по отношению к вектору UA1. При этом угол a может быть как опережающим, так и отстающим.
Такой способ регулирования называется поперечным регулированием.
Схема продольного вида регулирования напряжения показана на рис (б).
При продольном регулировании к каждой фазе возбуждающего трансформатора подводится напряжение той же фазы. Тогда вектор добавочного напряжения Ерег будет совпадать по фазе с вектором UA1, а вектор напряжения на выходе регулятора UA2 ,будет равен алгебраической сумме векторов UA1, и Ерег.
Колебание напряжения
При работе электроприемников с резкопеременной ударной нагрузкой в электросети возникают резкие толчки потребляемой мощности. Это вызывает изменения напряжения сети, размахи которых могут достигнуть больших значений. Эти явления имеют место при работе прокатных электродвигателей, дуговых электропечей, сварочных машин и т.д. Указанные обстоятельства крайне неблагоприятно отражаются на работе всех электроприем-ников, подключенных к данной сети, в том числе и электроприемников вызывающих эти изменения.
Так, например, время сварки у контактных машин в пределах от 0,02 до 0,4 с, то колебания напряжения даже малой длительности сказываются на качестве сварки.
При колебаниях напряжения, в результате которых напряжение снижается более чем на 15% ниже номинального, возможно отключение магнитных пускателей, работающих электродвигателей.
На предприятиях с существенной синхронной нагрузкой колебания напряжения могут приводить к выпадению привода из синхронизма и расстройству технологического процесса.
Колебания напряжения отрицательно сказывается на работе осветительных приемников. Они приводят к миганиям ламп, которые при превышении порога раздражительности могут отражаться на длительном восприятии людей.
Колебания напряжения, имеющие место при работе крупных синхронных двигателей с резкопеременной нагрузкой, определяются с учетом переходных процессов, т.к. при этом мощность, потребляемая электродвигателем, значительно отличается от мощности установившегося режима.
В соответствующих точках системы колебание напряжения, вызываемое изменениями (набросами) активной нагрузки на DР и реактивной нагрузки на DQ, может быть ориентировачно определено по формуле:

где dU - потеря напряжения, отн.ед.
DР, DQ - изменения (набросы) активной и реактивной трехфазной мощности электроприемника (МВт и МВАр)
R, X - активное и реактивное сопротивление на фазу Ом
Z - полное сопротивление
SK - мощность к.з. в точке, в которой проверяется колебания напряжения.
Соотношения между активными и индуктивными сопротивлениями элементов сети r/x - составляют:
Воздушные линии 110ё220 кВ 0,125ё0,5
Кабельные линии 6ё10 кВ 1,25ё5
Токопроводы 6ё10 кВ 0,04ё0,11
Трансформаторы 2,5ё6,3 0,06ё0,143
Тоже 63ё500 МВА 0,02ё0,05
Реакторы РБА 6ё10 кВ до 1000 А 0,02ё0,067
Паротурбинные генераторы 12ё60 МВт 0,012ё0,02
Тоже 100ё500 МВт 0,0075ё0,01
Подстанции в распределительных сетях 0,067 и выше
Активное сопротивление всех элементов сети, кроме кабелей, значительно меньше индуктивного. Но в заводских сетях крупных предприятий при широком внедрении токопроводов 6ё10 кВ и глубоких вводов 110ё220 кВ. Они становятся малопротяженными и их доля резко снижается. Поэтому они не оказывают большого влияния на результирующее значение отношения r/x в целом по предприятию. Это позволит упрощенно рассчитать колебания напряжения при резкопеременных ударных нагрузках.
Исходя из выше приведенных соотношений r/x при расчетах колебания напряжения в среднем можно принять, что лежит она в пределах 0, 1ё0,03. При этом отношение z/x получается примерно равны 1. С учетом этих допущений:

Учитывая малое отношение r/x элементов сети, активным сопротивлением вообще можно пренебречь. Тогда, колебания напряжения можно определить по еще простой формуле

На основе изложенного можно сделать вывод о том, что при заданных набросах DР и DQ значение колебаний определяется мощностью к.з. питающей сети и чем последняя выше, тем меньше колебания.
Вторым существенным источником колебаний напряжения являются дуговые сталеплавильные печи (ДСП). При работе ДСП имеют место частые отключения, число которых достигают 10 и более в течение одной плавки. Наиболее тяжелые условия получаются в период расплавления металла и в начале окисления. При этом возникают эксплуатационные толчки тока. Значение тока при толчке зависит от вместимости печи, параметров печного трансформатора, полного сопротивления короткой сети.
Для отечественных ДСП можно принять:
Вместимость печи, т. 0,5ё6 10ё50 100ё200
Iк.з. (3,6ё3,2)Iн (3,2ё2,3)Iн (1,4ё2,2)Iн
При совместном питании ДСП и так называемой "спокойной" общецеховой нагрузки размах изменения напряжения dU на шинах вторичного напряжения 6ё10 кВ понизительного трансформатора ГПП можно с достаточной для практических целей точностью определить по формуле

Таким образом, значения размахов изменения напряжения в основном определяется мощностью к.з. питающей сети.

График нагрузки дуговой сталеплавильной печи ДСП вместимостью 100 т
Мероприятия по ограничению колебаний напряжения.
В первую очередь предусматриваются оптимальные решения схемы электроснабжения с минимальными дополнительными затратами, к числу которых относятся:
- приближение источников высшего напряжения к электроприемникам с резкопеременной нагрузкой
- питание резкопеременных и спокойных нагрузок от отдельных трансформаторов
- соблюдение оптимального уровня мощности к.з. в сетях, питающих электрориемники с резкопеременной нагрузкой в пределах 750ё10000 МВА.
Если эти мероприятия оказываются недостаточными, то предусматриваются специальные устройства и установки для уменьшения размахов изменений напряжения.
Специальные быстродействующие синхронные компенсаторы (СК).
Наиболее эффективным средством для ограничения колебания напряжения является синхронный компенсатор толчковой нагрузки со специальными параметрами, с быстродействующим тиристорным возбуждением, с большой кратностью форсировки возбуждения, работающие в так называемом "режиме слежения" за реактивным током подключенных потребителей электроэнергии. Мощность СК определяют исходя из параметров графика нагрузки объекта, подлежащих компенсации.
Предусматривается регулирование реактивного тока таким образом, чтобы емкостной реактивный ток СК соответствовал реактивной толчковой нагрузке, имеющий индуктивный характер.
Синхронные двигатели . Для ограничения размахов изменений напряжения при резкопеременных толчковых нагрузках используются также синхронные двигатели (СД) со спокойной нагрузкой, присоединяемые к общим шинам с вентильными преобразователями. При этом СД должны иметь необходимую располагаемую мощность, быстродействующее возбуждение (тиристорное)с высоким потолком форсировки и быстродействующий автоматический регулятор возбуждения.
Статические источники реактивной мощности (ИРМ).
ИРМ характеризуется высоким быстродействием, плавным изменением реактивной мощности, безинерционностью.
В качестве примера на рис. приведена схема статического ИРМ с параллельным включением регулируемой индуктивности и нерегулируемой емкости. В качестве индуктивности принят управляемый реактор с подмагничиванием, в качестве емкости - конденсаторная батарея.
Суммарная мощность ИРМ:
Q=QL- QC




































QL- мощность, потребляемая реактором
QC - мощность. генерируемая конденсаторной батареей
Значение и направление мощности ИРМ в каждый момент зависят от регулируемой мощности QL. QC выбирается равной или несколько меньше ожидаемого наброса реактивной мощности. При набросе реактивной мощности ИРМ повышается до максимального значения, равного QC, а при сборе понижается до минимального значения.
ОТКЛОНЕНИЯ И КОЛЕБАНИЯ ЧАСТОТЫ.
Нарушение баланса между мощностью, вырабатываемой генератором электростанции или энергосистемы, и мощностью требуемой промышленными предприятиями, приводит к изменению частоты тока электросети.
Основной причиной возникновения колебаний частоты являются мощные приемники электроэнергии с резкопеременной активной нагрузкой (тиристорные преобразователи главных приводов прокатных станов). Активная мощность этих приемников изменяется от нуля до максимального значения за время менее 0,1с, вследствие чего колебания частоты могут достигать больших значений.
Изменения частоты даже в небольших пределах влияют на работу электросетей и приемников электроэнергии. Понижение частоты тока приводит к увеличению потерь мощности и напряжения в электросетях и к недовыработке продукции. Влияние снижения частоты на потребляемую мощность электроприемников различно:
1) потребляемая мощность приемниками электроосвещения, электропечами сопротивления и дуговыми электропечами практически незначительно зависит от частоты;
2) мощность забираемая механизмами с постоянным моментом на валу ( металлорежущие станки, поршневые насосы, компрессоры и др.), пропорциональна частоте;
3) потери мощности в сети пропорционально квадрату частоты
