Облицовывание кирпичных стен гипсовыми облицовочными листами и оклеивание их флизелиновыми обоями
Гипсокартон впервые начали использовать древние египтяне, которые использовали этот материал в своих погребальных палатах. А вот название гипрос, что означает: кипящий камень, дали греки. Вслед за греческой цивилизацией гипсокартон перешел к римлянам, и именно они, знания о гипсе занесли в Европу. Это произошло в пятнадцатом веке, когда этот материал получил особое распространение при внешней и внутренней отделке.
В наше время современное строительство при помощи гипсокартона создает уникальные отделочные грации. Поистине этот материал стоит во главе строительных материалов. Без пыли и грязи выравнивается даже самые неровные поверхности, создаются межкомнатные перегородки, любые формы потолков: многоуровневый, обычный, подвесной. А при создании декоративных поверхностей, лучшего сочетания чем гипса и картона при отделочных работах просто не найти.
Гипсокартон способен поглощать влагу, обеспечивает теплоизоляцию, не уступая при этом кирпичу и бетону. Этот материал не содержит токсичных веществ, не имеет кислотность, и кроме того он огнестоек, легок и прочен. Облицовка стен происходит быстрее в два раза, чем при шпатлевании или оштукатуривании.
Во влажном виде гипс способен приобретать невероятную пластичность и принимать любую форму.
Существуют стандартные гипсокартоновые листы (ГКЛ), огнестойкие (ГКЛО) и влагостойкие (ГКЛВ), а также два способа стеновых облицовок – каркасный и бескаркасный. Учитывая особенности материала, гипсокартон не следует использовать в помещениях с опасностью давления на стену, например в бильярдных, спортзалах. Этот материал довольно хрупкий и ремонтировать стены и потолки недешево и хлопотно. Также следует учесть и доступ к коммуникациям, ревизионные люки, они конечно могут немного подпортить красоту стен или потолка, но зато обеспечат безболезненную профилактику материала в случае аварии внутренних труб или проводок. При покупке гипсокартона необходимо приобрести: ленту для заделки швов и инструмент, клей гипсовый, металлические профили, крепежные шурупы, шпаклевочный состав и пр.
Технология работы довольно проста. Начинается с установки каркаса, к которому крепится гипсокартон шурупами-саморезами по чертежу. Затем шпатлюются швы. Панели могут устанавливаться как при помощи клея, профиля или обычных деревянных реек. При использовании специальных инструментов вырезаются необходимые отверстия непосредственно перед облицовкой. Гипсокартоновые шаблоны делаются из листовых материалов индивидуально под каждого. Удивительно просто выполняется сгибание, материал смачивается водой и обрабатывают несколько раз. Затем устанавливают на шаблон и сгибают плавными движениями. Восстановление твердости материала происходит при высыхании, при этом закрепляются новые изменения.
Внутренние стены в помещениях облицовывают гипсокартонными панелями для того, чтобы не выполнять операцию оштукатуривания. Такой способ отделки относится к так называемым сухим методам. Облицовку можно производить при ремонте старых зданий (оштукатуренные стены) и отделке вновь выстроенных (неоштукатуренные поверхности). Гипсокартонные плиты делают стены ровными, давая возможность выполнить покраску или наклеить обои.
Данный способ облицовки имеет множество положительных сторон. К ним можно отнести:
уменьшение влажности;
дополнительное теплоизоляционное воздействие;
противопожарную защиту;
уменьшение массы;
многовариантность.
Теперь немного подробнее о каждом пункте.
Использование гипсокартонных листов дает возможность обойтись без оштукатуривания поверхностей стен, а значит, избежать влажных процессов. При этом значительно экономится время, затрачиваемое на отделку помещения.
Дополнительное теплоизоляционное воздействие достигается за счет того, что гипсокартонные панели усиливаются теплоизоляционными материалами. Такого рода облицовка создает многослойную стену и снижает теплопроводность, а также увеличивает звукоизоляцию.
Если для облицовки поверхности стен используются специальные огнестойкие гипсокартонные панели или обычные листы, только повышенной толщины, то противостояние воздействию огня резко возрастает.
Снижение массы квадратного метра стены достигается за счет применения легких конструкций. Благодаря сухому способу строительства стены и перегородки не намокают (что могло бы значительно увеличить вес конструкции).
Имеется возможность применять гипсокартонные панели многократно, например при изменении функции помещения. Кроме того, такого рода плиты легко монтируются и демонтируются.
Процесс облицовки можно начинать только после того, как закончены все влажные работы и просушка помещения.
Гипсокартонными панелями можно облицовывать поверхности бетонных, кирпичных, деревянных, каменных и прочих стен. Крепить листы можно с помощью как клеев, клеящих мастик, так и винтов, шурупов, саморезов к металлическому или деревянному каркасу. Как правило, облицовка стен гипсокартоном производится совместно с выполнением теплоизоляционных и звукоизоляционных работ. Тем самым значительно повышаются технические характеристики строительных конструкций. Кроме этого, использование гипсокартонных плит дает возможность экономить время строительства, снижает трудовые затраты, повышает качество отделываемых поверхностей. В связи с этим в последнее время такой способ отделки получает все большее и большее распространение. Это связано еще и с тем, что штукатурные работы приносят с собой много влаги, грязи и труда, да еще после них требуется просушивать помещения.
Каково же назначение облицовки любых поверхностей гипсокартонными панелями? Его можно охарактеризовать несколькими пунктами:санитарно-техническое, которое состоит в том, что нужно получить ровную поверхность под отделку (окраска, оклейка обоями, ламинатом и пр.), устранить возможность скапливания пыли и грязи на стенах, полах и т. д., а также в облегчении очистки этих поверх ностей; защитно-конструктивное, которое заключается прежде всего в защите помещений от влаги, увеличении теплоизоляции, уменьшении звукопроводности и пр.
Облицовка должна строго соответствовать климату того региона, в котором построено здание, а также температурно-влажностному режиму помещения;
декоративное назначение — это придание поверх ностям специальной фактуры, цвета и других характеристик путем подбора состава раствора и способа его нанесения.
Прежде чем выполнять облицовку гипсокартонными панелями, следует обзавестись проектом, выполненным специалистом (дизайнером или архитектором).
Перегородки являются планировочным элементом, с помощью которого пространство, заключенное между несущими стенами, разделяется на помещения в соответствии с их функциональным назначением.
В отличие от наружных и внутренних несущих стен, воспринимающих все силовые воздействия, действующие на здание, перегородки никаких нагрузок не несут, кроме собственного веса.
В зависимости от назначения перегородки делятся на ограждающие и выгораживающие. Ограждающие перегородки полностью изолируют помещения друг от друга по всей высоте, выгораживающие - лишь на определенную высоту или части помещения. К ограждающим перегородкам предъявляются большие требования в части звукоизолирующей способности, и их диапазон в этой части находится в пределах от 30 до 50 децибел.
Нижний предел обеспечивается при весе однородной конструкции от 20 до 100 кг/м2, верхний предел при весе от 150 до 270 кг/м2.
Звукоизолирующая способность перегородок определяется на основании расчетов и требует специальных знаний и навыка. Вместо расчетов можно пользоваться данными таблиц, позволяющими без особых затрат времени выбрать нужную конструкцию и материал перегородки. Из табличных характеристик можно сделать вывод, что звукоизолирующая способность перегородок в пределах 40-50 дб характерна для междуквартирных, а 30-40 дб - для межкомнатных перегородок.
2. Технологический процесс
Существует два способа облицовки стен гипсокартонными листами (ГКЛ):
закрепление ГКЛ на существующем основании с помощью специального гипсового клея, т.н."сухая штукатурка"
монтаж ГКЛ на каркас из металлических профилей, деревянных брусьев или гипсокартонных реек.
При облицовке гипсокартонными листами стен и потолка, работы начинают с облицовки стен.
Сухая штукатурка
Для облицовки стен методом "сухой штукатурки" используют стандартные гипсокартонные листы (СКВ) шириной 1200 мм, толщиной 12,5 мм. Стандартная длина ГКЛ - 2000, 2500, 2600, 2750 и 3000 мм. Клей, который фирма RIGIPS производит для "сухой штукатурки" называется RIGIPS ANSETZBINDER.
Максимально допустимая высота облицовки с помощью клея - 3 м.
При облицовке стен с использованием гипсового клея к основанию предъявляются следующие требования:
должно быть прочным, не иметь осыпающихся участков
не должно подвергаться пространственной деформации
должно быть защищено от влияния избыточной влажности
не допускается появление конденсата и промерзание
Остатки строительных растворов, воска, масел и прочих веществ, ухудшающих контактную способность клея, должны быть удалены. Свежий сырой бетон (или цементно-песчаный раствор) должен сначала высохнуть.
На гладкие поверхности (бетон) предварительно наносят грунтовку RIKOMBI-KONTAKT. Основания, сильно впитывающие влагу (газобетон, кирпичная кладка, гипс) грунтуют RIKOMBI-GRUND. При комбинировании "сухой" и мокрой штукатурки, первыми выполняются участки мокрой штукатурки.
"Сухая штукатурка" не содействует высыханию влажных стен и улучшению звуко- и теплоизоляции.
Монтаж/выравнивание
С целью оптимизации рабочего процесса следует сразу осуществить прирезку на нужную длину требуемого количества ГКЛ. Прирезку нужно осуществлять, учитывая, что для вентиляции во время твердения клея необходимы зазоры: между ГКЛ и полом - 10 мм, между ГКЛ и потолком - 5 мм. Сразу же можно заготовить подкладки из дерева или гипсокартона для обеспечения зазора между полом и ГКЛ.
Перед установкой ГКЛ производят монтаж скрытой проводки. Монтажные коробки под розетки и выключатели, распределительные коробки должны выступать над поверхностью основания приблизительно на 20 мм.
Клей приготавливают согласно инструкциям производителя (см. на мешке) и наносят на тыльную сторону ГКЛ как показано на рисунке. В местах оконных и дверных проемов, умывальников, кронштейнов, дымоходов и т. п. клей наносят на всю поверхность.
Приставьте плиты с нанесенным клеем к стене. Постукивая по ним резиновым молотком, используя правило, плотно стыкуйте одну с другой и выравнивайте по вертикали и по одной линии.
Монтаж на гипсокартонные рейки
Для выравнивания больших неровностей прикрепите к стене с помощью клея вырезанные из ГКЛ рейки с шагом 60 см. Если стена не является несущей, дополнительно закрепите рейки дюбелями через каждые 60 см.
Выровняйте рейки по вертикали и по одной линии. Приклейте ГКЛ толщиной 12,5 мм с помощью тонкого слоя шпаклевочной массы для швов RIGIPS Fugenfuller Super.
Облицовка на деревянных рейках
Там, где невозможна облицовка стен с помощью клея (большие неровности, осыпающаяся штукатурка и пр.), можно крепить ГКЛ толщиной 12,5 мм к каркасу из деревянных реек.
Сначала к основанию при помощи дюбелей и шурупов (максимальный шаг дюбелей - 100 мм) крепят деревянные рейки 50x30 мм. При этом их выравнивают по вертикали и по одной линии путем подкладывания в нужных местах деревянных брусков нужной толщины. Для улучшения тепло- и звукоизоляции между рейками укладывают слой минеральной или стеклянной ваты. Затем деревянный каркас с изоляцией обшивают ГКЛ RIGIPS, используя шурупы по дереву TD длиной 35 мм. Шаг шурупов - 25 мм.
Свободно стоящая облицовка
Эту конструкцию применяют для выравнивания стен, улучшения тепло- и звукоизоляции, скрытого монтажа коммуникаций. Она обладает наибольшей жесткостью из всех перечисленных выше.
Каркас монтируется из профилей UW50 (играют роль и стоек и направляющих) или потолочных профилей CD (стойки) и UD (направляющие). Можно использовать профили C и U системы RIGISTIL фирмы RIGIPS или деревянные рейки 50x30 мм. Шаг стоек - 600 мм. В качестве скоб используют: для профиля CD60 - детали ES 60/75 и 60/125; для профиля UW50 и рейки 50x30 мм - детали ES 50/75 и 50/125. Существуют также т.н. "акустические" скобы для крепления перечисленных типов стоек. Обязательной является подкладка из звукоизоляционной ленты под направляющие профили и скобы. Шаг скоб: не более 1250 мм для профилей; не более 800 мм - для реек. Однако, крепить не менее двух скоб на стойку.
Для фиксации профилей в скобах применяют саморезы TB 3,9x11 мм с наконечником-сверлом - т.н. "малыши". Деревянные рейки в скобах закрепляют шурупами по дереву TD 25 мм. Крепление ГКЛ к каркасу: саморезы TN 25 мм - для профилей; шурупы по дереву TD 35 мм - для реек. Для улучшения тепло- и звукоизоляции полость заполняют минеральной или стеклянной ватой.
Облицовка стен гипсокартоновыми плитами с использованием металического каркаса
В настоящее время облицовка стен производится в основном с использованием металлического каркаса. У этого метода имеется множество положительных сторон. Поскольку для металлических каркасов выпускаются специальные профили, то устанавливать их намного проще и быстрее. Да и служат такого рода каркасы намного дольше, поскольку не подвержены гниению, прекрасно противостоят вредителям дерева и самому времени. Использование металлических профилей дает возможность иметь пространство для прокладки инженерных коммуникаций, а это один из важных факторов для интерьера квартиры.
Чтобы иметь вышеназванное пространство, каркас устанавливают от стены с нужным зазором, в котором можно проложить трубы отопления, электрические провода и пр. Кроме этого, применение металлических профилей не требует идеально ровных стен. Поскольку такого рода каркас очень жесткий, можно выполнять облицовку стен высотой до 10 м, не допуская уменьшения жесткости несущего каркаса. Примерный вес облицовки при этом составляет 15 кг/м2 стены.
Специалисты рекомендуют использовать для монтажа каркаса профили ПН 28/27 в комплекте с профилями ПП 60/27 или комплект профилей ПН и ПС.
Обрешетку из профилей ПП 60/27 обязательно нужно устанавливать на некотором расстоянии от стены и крепить к стене с помощью прямых подвесов. Крепят металлические профили дюбелями, располагая места крепления через 1 м, а при использовании прямых подвесов их шаг не должен быть больше 1,5 м.
Самое начало монтажа — это обмер стены и разбивка захваток, которые должны быть по ширине равны гипсокартонным панелям. При монтаже металлические профили устанавливают таким образом, чтобы линия стыка соседних листов гипсокартона находилась точно в центре лицевой полки вертикального профиля. После того как определено место расположения соседних профилей, нужно найти проектное положение лицевой плоскости всей облицовки. Чтобы это выполнить, необходимо провести на полу параллельно стене линию длиной, равной глубине каркаса плюс толщина гипсокартонных плит. Но следует учитывать, что на стене имеются неровности, а также сделать зазор, необходимый для монтажа труб отопления, электрических проводов и кабелей и т. д. Затем отвес нужно опустить так, чтобы центральная его точка пришлась на проведенную по полу линию. После этого на потолке намечают несколько точек, соединяют их прямой линией, которая и будет верхней границей облицовки. Далее вглубь облицовки от данной линии отмеряют расстояние, равное толщине гипсокартонных панелей. Тем самым определяется граница лицевой плоскости обрешетки.
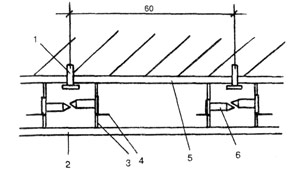
Монтаж каркаса из ПН-профиля
Пример каркаса из металлических ПН-профилей показан на рис. 32. Здесь мы видим мощный каркас, который предназначен для помещений с высокими потолками.

Рис. 32. Монтаж каркаса из ПН-профиля: 1 — ПП-профиль;
2 — прямой подвес; 3 — гипсокартонная панель; 4 — герметик;
5 — ПН-профиль; 6 — упругая лента
Сначала по всей длине стены, как по полу, так и по потолку, устанавливают ПН-профили (подвес «В»). Внизу, между профилем и полом, прокладывают упругую ленту, которая предназначена гасить колебания пола. Монтируют профили следующим образом. На полу проводят линию, на которой будет установлен профиль, прикладывают к ней ПН-профиль и сверлят отверстия для дюбелей (шаг 600—1000 мм). В зависимости от того, какой тип дюбелей был выбран, их вставляют либо в отверстия в профиле, либо сразу в отверстия в полу и закручивают шурупы. Точно так же устанавливают первый профиль на потолке. Эти профили и будут границами плоскости облицовки.
По вертикальным линиям закрепляются подвесы «Е» с одновременной прокладкой упругой ленты. Нужно проследить, чтобы подвес не выходил за границы плоскости обрешетки. Если в наличии нет подвесов заводского производства, то в качестве замены могут выступить стандартные кронштейны из оцинкованной стали, которые поставляются в комплекте с профилями. В случае, когда нет и кронштейнов, их можно изготовить из отрезков ПН-профиля, используя ножницы по металлу или болгарку.
Установка подвесов требует соблюдения некоторых правил:

Рис. Укладка звукоизоляционного материала в пространство
обрешетки: 1 — звукоизоляционный материал; 2 — обрешетка;
3 — гипсокартон
линии подвесов должны располагаться так, чтобы
стойки из ПП-профиля находились на линии стыка двух
гипсокартонных листов; в случае если ширина гипсокартонных панелей больше 600 мм, необходимо смонтировать дополнительные стойки из того же профиля;
в размер стоек должен быть меньше расстояния между верхней и нижней направляющими примерно на 10 мм;
при наращивании профилей следует использовать саморезы LN' с полной резьбой. При этом нужно выполнять нахлест одного профиля на другой не менее 10d, где d — ширина полки профиля; при наличии в стенах оконных, дверных проемов и ниш по их границам обязательно монтируют дополни тельные стойки и горизонтальные перемычки. Если делается облицовка в два слоя, то устанавливают две стойки, чтобы получился перехлест первого слоя над проемом; электрическую проводку прокладывают внутри каркаса таким образом, чтобы края профилей не могли повредить изоляцию проводов.
Закрепляют профили, используя саморезы. Для выполнения данной операции профиль ставят вдоль вертикальной линии вплотную к полкам направляющих профилей и подвесов, после чего шуруповертом закручивают саморезы до упора. Стойки крепят как к направляющим, так и к подвесам или кронштейнам. Если во время крепежа саморез согнется или сломается, его нужно удалить, а рядом установить новый.
Чтобы при большой высоте потолков облицовка не теряла своей жесткости, в горизонтальных швах монтируют горизонтальные перемычки из того же профиля, который использовался для несущих стоек.
Чтобы звукоизоляция стены была лучше, пространство обрешетки заполняют звукоизоляционным материалом .
Как правило, в качестве звукоизоляционного материала используются минераловатные плиты, пенопласт и пр., которые обязательно нужно закреплять в обрешетке. Если произойдет смещение материала, нарушится звукоизоляция. Закреплять звукоизоляционные материалы можно, используя ПС-профили или обрезки гипсо-картонных панелей с последующим креплением их к каркасу или стене. Монтаж каркаса на ПС-профиле. Такой каркас устанавливают в помещениях высотой до 7 м. На рис. 34 показано, как выполнять облицовку кирпичной стены с потолочным профилем по технологии «Кнауф W623». Облицовку можно сделать в один или два слоя.
При двойной облицовке направляющим служит ПН-профиль, а для несущих стоек используют стоечный ПС-профиль. Отличительной особенностью данной конструкции является то, что при высоте помещений до 4 м несущие стойки можно закреплять на полу и потолке. Если мастер сомневается в надежности крепления направляющих при двойной облицовке, то несущие стойки дополнительно можно закрепить на кронштейнах, установленных на стене с прокладкой упругой ленты.

Рис. Облицовка кирпичной стены с применением
потолочного профиля по технологии «Кнауф W623»: 1 — стена;
2 — ПС-профиль; 3 — утеплитель; 4 — двойная обшивка
гипсокартонными листами.

Рис. Несущий каркас на ПС-профиле без направляющих
ПН-профилей: 1 — дюбель; 2 — гипсокартонная панель;
3 — несущая стойка из ПС-профиля; 4 — прямой подвес;
5 — стена; 6 — саморез
Чтобы проверить лицевую плоскость промежуточных стоек, натягивают от крайних стоек шнур. Можно то же самое сделать с помощью правила. Вертикальность проверяют отвесом или уровнем. Во время установки металлического каркаса обязательно нужно прокладывать звукоизолирующую ленту.
Обрешетку на ПС-профиле можно выполнять и без установки направляющих. В этом случае несущие стойки можно закрепить на стене, используя кронштейны (рис). Сами кронштейны крепятся с помощью дюбелей вдоль вертикальных линий разметки. Начало монтажа — крайние несущие стойки, которые устанавливают в противоположных углах, примыкающих к стене. Далее стойки саморезами крепят к кронштейнам. Для установки профилей используют саморезы с полной резьбой, которая дает возможность стыковать металлические элементы без зазоров.
Монтаж гипсокартонных панелей
Крепить гипсокартонные листы обязательно нужно в одном направлении с открытой частью стоечного профиля. При таком способе монтажа саморезы можно будет устанавливать ближе к спинке профиля, а это значит, что при креплении соседнего листа шуруп не будет отгибать внутрь полку профиля.
Если облицовка ведется гипсокартонными панелями, то при вкручивании саморезов необходимо отступить от кромки 10 мм. Если используются гипсоволокнистые плиты, то отступать от кромки нужно на 15 мм. В обязательном порядке шурупы должны входить в гипсокар-тонную панель строго под прямым углом и проходить в полку профиля на глубину примерно 10 мм. Для создания более ровной поверхности головки шурупов утапливают в толщу листа на 1 мм, затем их зашпаклевывают. Саморезы вкручивают не только по периметру, но и в промежуточные вертикальные стойки и горизонтальные перемычки.
Ревизионные люки
Поскольку облицовка гипсокартонными панелями ведется на обрешетке (металлической или деревянной), за ней можно скрыть различные инженерные коммуникации (трубы водопровода и канализации, арматуру теплоснабжения, электропроводку, вентиляционные короба и пр.).
После того как облицовка завершена, доступ к этим коммуникациям бывает затруднен, а в некоторых случаях вообще невозможен. Для того чтобы можно было решить данную задачу, фирма «Кнауф» разработала люк «РевиСтар». Его можно смонтировать как на потолке, так и на стене, т. е. на вертикальной и горизонтальной поверхности.
Люк «РевиСтар» представляет собой рамку, выполненную из алюминия. К этой рамке крепится дверца совстроенным влагостойким или огнестойким гипсокар-тонным листом. Когда люк установлен на стене, его совсем не видно. Рамка, замок и другие технические устройства спрятаны под облицовкой. При легком нажатии на верхнюю часть дверца люка плавно закрывается и удерживается в закрытом состоянии двумя специальными рычажками. Поскольку дверца закрывается плотно, то пыль под облицовку не проникает.
3. Инструменты и приспособления
Инструменты, которые могут иметься у мастера, по роду привода подразделяются на 3 группы:
электрические;
пневматические;
ручные.
Решение остановить свой выбор на какой-либо из этих групп инструментов следует принимать, исходя из нескольких соображений, которые предварительно стоит обдумать, т. е.:
какова цена инструмента и во что обойдется его приобретение;
насколько часто вы будете пользоваться этим инструментом;
каким вы хотите видеть качество инструмента;
какие издержки будут связаны с эксплуатацией и техническим обслуживанием инструмента.
Следует сказать, что при небольших объемах работ дорогие инструменты покупать невыгодно. Но если заниматься ремонтом на профессиональном уровне, то без хорошего инструмента никак нельзя.
Поскольку самым простым из вышеперечисленных групп является ручной инструмент, то вначале несколько слов нужно сказать именно об этой группе.
Ручной инструмент отличается от электро и пневмо-инструментов качеством, и довольно значительно. Ручной инструмент чаще всего бывает низкого качества или просто непригодным для использования. Например, можно заплатить 500 рублей за несколько инструментов и быть довольным, что сэкономлено еще 500 рублей,
которые пришлось бы добавить, покупая инструмент в фирменном магазине. Но впоследствии выясняется, что купленный инструмент быстро тупится, пластмассовые ручки трескаются и ломаются, отвертка гнется, кусачки заклинивает, рулетка показывает размеры неточно или вовсе рвется и т. д. В конечном счете покупка дешевого инструмента обходится дороже.
Комплект инструментов покупать не стоит, потому что, как правило, в набор входят такие предметы, которые никогда не используются. Нужно заранее определиться, с какими шурупами, винтами и саморезами вы будете работать. Уже под них стоит приобретать отвертки, дюбели, сверла и прочий инструмент.
Еще об одной группе инструмента — пневматического тоже не будем рассказывать подробно, поскольку его покупка — удовольствие весьма дорогое из-за необходимости иметь компрессор. Да и шум от работающих пневмоинструментов в закрытом пространстве квартиры будет слишком сильным. Но в двух словах об этой группе скажем.
Пневмоинструменты, как правило, используют для работы профессионалы, т. к. приспособления данной группы во многом превосходят электрические. Наличие компрессора обеспечивает большую, чем у электроинструмента, мощность. Но компрессор сильно шумит и потребляет большое количество электроэнергии, т. е. он должен иметь электродвигатель мощностью не менее 1,5 кВт, а также ресивер емкостью 40—50 л. Помимо этого, понадобится подводка линии трехфазного тока, что влечет за собой дополнительные затраты. В результате использование пневмоинструмента становится нецелесообразным.
Самой распространенной и наиболее широко используемой является группа электроинструментов. Обычно электрические инструменты, применяемые в домашних условиях, потребляют небольшую мощность и вполне доступны по цене.
Электродрель является самым необходимым из электроинструментов. Учитывая многочисленные возможности применения этого инструмента, можно сказать о нем следующее: чем больше у дрели мощность, тем она тяжелее и дороже; чем больше в ней электроники, тем более высокой является простота обращения и комфорт при использовании, но при этом значительно снижается надежность инструмента, повышается чувствительность к механическим повреждениям. После некоторых раздумий вы придете к выводу, что лучше всего иметь в своем арсенале небольшую, легкую, достаточно дешевую электродрель с двухсторонним вращением для работ по дереву.
В дополнение к ней следует приобрести технически совершенную редкоударную мощную сверлильную ручную машину с электронным управлением. Такая машина дает возможность выбрать необходимый режим работы при различных нагрузках в зависимости от материала, она легко включается и автоматически отключается при перегрузке.
Редкоударные сверлильные машины имеют еще одно название — «перфораторы». В таком инструменте к вращательному движению сверла присоединяется ударное действие. При монтаже перегородок, полов или потолков из гипсокартонных или гипсоволокнистых плит обойтись без перфоратора просто невозможно. Он дает возможность проделывать отверстия хоть в бетоне, хоть в кирпиче буквально за несколько секунд.
Перфораторы и дрели для работы с гипсокартоном
На современном рынке строительных инструментов и материалов можно найти большое количество разнообразных перфораторов. Как в них разобраться? Какойлучше выбрать? Решать это нужно самому домашнему умельцу. А чтобы легче было ориентироваться в таком количестве аппаратов, расскажем о некоторых, наиболее часто покупаемых.

Рис. Внешний вид перфоратора «Байкал Е-117А»
Перфоратор «Байкал Е-117А» изготавливается на Ижевском механическом заводе. Имеет довольно высокие технические и эксплуатационные характеристики, обладает хорошим качеством. Недостатком этой модели (и существенным) является незащищенность патрона и кнопки пуска (курка) от пыли, образующейся во время проделывания отверстий. Еще одним большим неудобством данного перфоратора является то, что после каждого часа работы нужно в редуктор заливать масло в объеме 2—3 мм3, т. е. под рукой всегда должна иметься емкость с машинным маслом. На рис. 13 показан внешний вид перфоратора «Байкал Е-117А».
Перфоратор «ХИЛТИ 55» показан на рис. 14. Данная модель оснащена двухскоростным редуктором, имеет прекрасные технические характеристики и несложную конструкцию. Минусом перфоратора «ХИЛТИ 55» является большой вес, а также его дороговизна.

Рис. 14. Внешний вид перфоратора «HILT1 55»

Рис. Внешний вид дрели «Блэк&Деккер 250 CRE»
Дрель ударного действия «Блэк&Деккер 250 CRE» представляет собой машину мощностью 710 Вт. Она оснащена двухскоростным редуктором, реверсом, имеет ударную функцию и электронное управление скоростью. Двигатель с воздушным охлаждением практически не перегревается. Дрель удобна в работе, прекрасно выглядит снаружи и имеет пылезащиту.

Дрель ударного действия «Блэк&Деккер 250 CRE» представляет собой машину мощностью 710 Вт.
Самой сложной является модель В 18Е, которая считается инструментом профессионалов. В ней установлен аккумулятор мощностью 18 В и регулятор крутящего момента, имеющий 17 позиций. В связи с этим шуруповерт может работать непрерывно в течение длительного времени.
Помимо вышеперечисленных моделей, фирма «Спарки» выпускает дрель-шуруповерт «Спарки BUR 15E», которая может не только закручивать шурупы, но и сверлить отверстия, применяя ударный режим. Этим инструментом можно высверливать отверстия в камне, бетоне или кирпиче. В дрели смонтирован патрон с повышенной устойчивостью к ударным нагрузкам, а также двухскорост-ной редуктор с двадцатичетырехступенчатым регулятором крутящего момента.
Шуруповерты «Блэк&Деккер» также имеют несколько модификаций: КС 9661 FK, 1261 FK, 1282 FK.

Рис. Внешний вид шуруповерта «Блэк&Деккер»
Эти инструменты представляют собой аккумуляторные дрели, с помощью которых можно проделывать отверстия в металле и дереве, а также закручивать и откручивать шурупы. А модель КС 1282 FK имеет и ударное действие, так что можно не только откручивать и закручивать шурупы, высверливать отверстия, но и использовать ее в качестве перфоратора. От своих аналогов инструменты фирмы «Блэк&Деккер» отличаются более красивым дизайном, электродвигателем большой мощности и надежности. Кроме этого, у них на рукоятках имеются накладки из мягкой резины, что дает возможность более удобного захвата инструмента.
Дрели «Атлас Копко Локтор» (модификаций S 12T, S 12P, Р 12Р) представляют собой аккумуляторные шуруповерты с плавной регулировкой частоты вращения редуктора с максимальным моментом вращения 50 Нм и с двенадцативольтовым аккумулятором. Их внешний вид представлен на рис.

Рис. Внешний вид дрели «Атлас Копко Локтор»
Дрели оснащены реверсом, электронной регулировкой частоты вращения, двадцатиступенчатой регулировкой момента вращения, электронным тормозом и пр. Первая буква в маркировке моделей означает, обладает ли инструмент функцией удара (S — нет, Р —да). Последняя буква маркировки обозначает тип рукоятки (Т — Т-образная, Р — пистолетная).
Шуруповерты «БОШ GSR» (9,6 МУ-2, 12 МУ-2, 14,4 МУ-2). Все модели этой фирмы отличаются от своих аналогов тем, что имеют все возможные системы защиты как мастера, так и инструмента. Кроме этого, инструменты оснащены электронной регулировкой частоты вращения, пятнадцатиступенчатой регулировкой момента вращения, электронным тормозом и блокировкой шпинделя.
Сверла для бетона
Про перфораторы, дрели и шуруповерты мы поговорили. Теперь следует немного рассказать о сверлах, с помощью которых проделываются отверстия в каменных, кирпичных, бетонных, деревянных и иных перегородках и строительных конструкциях.
Для того чтобы проделать отверстие в древесине, можно воспользоваться любым сверлом. Но при работе с гипсокартонными плитами приходится высверливать несколько десятков отверстий в бетоне. Тут уже стоит задуматься о выборе сверл. Как правило, характеристики сверл не уточняются. Просто в маркировке указывается слово «бетон».
Несведущие люди ищут наличие твердосплавной напайки в режущей части сверла. Но, как показала практика, одной такой напайки для долговременной работы инструмента явно недостаточно. Специалисты-эксперты провели тестирование сверл при работе по сверлению отверстий в бетонных стенах. По результатам этих тестов были определены наиболее работоспособные сверла. Домашним мастерам самим придется выбирать себе инструменты, но чтобы легче было сориентироваться, ниже предлагается описание некоторых из них.
Сверла завода «Фрезер», г. Москва. Сверла изготовлены с твердосплавной вставкой, но поскольку основное тело сверла выполнено из легко деформирующейся мягкой стали, твердосплавная вставка легко выламывается. В связи с этим срок службы такого рода сверл недолог. Существует и еще один негативный момент: из-за небольшого диаметра винтовой части и хвостовика (6 мм) плохо удаляется шлак из отверстий во время сверления. Кроме этого, затруднено охлаждение сверла, из-за чего снижается скорость работы и заметно ухудшается качество.
Сверла «Диаген Бетон». Эти сверла при сверлении отверстий сильно греются, соответственно, возрастает время на охлаждение инструмента, а значит, увеличивается продолжительность работ. Кроме этого, можно сильно обжечься раскаленным сверлом. Остальные технические характеристики в норме.
Сверла «Хеллер Оллмат». Их используют для проделывания отверстий в бетоне и кирпиче. В ударном режиме, т. е. в перфораторах, их применять нельзя. Серьезным недостатком является то, что при сверлении большого количества отверстий могут откалываться куски от твердосплавной вставки. Это отрицательно сказывается на скорости работы и точности диаметров отверстий.
Сверла «БОШ Силвер Перкушн» обладают высокой износоустойчивостью, точностью диаметров отверстий, мягкостью в работе. Минусом является то, что их часто приходится затачивать.
Результаты наработки сверл различных фирм при тестировании
| Маркировка сверл | Скорость в непрерывном режиме (отв./мин) | Среднее количество отверстий при работе с охлаждение м на воздухе |
| «Хеллер Оллмат» | 0,8 | 13,7 |
| «Хеллер 3000» | 0,93 | 22,7 |
| «Диаген Бетон» | 1 | 39,7 |
| «БОШ Блю Грэнит» | 0,88 | 34,3 |
| «БОШ Силвер» | 0,89 | 28,7 |
| Завод «Фрезер» | 0,66 | 1 |
| Сверла китайского производства | 1,88 | 10,3 |
