Контактные осветители
Реферат
КОНТАКТНЫЕ ОСВЕТЛИТЕЛИ
Принцип работы контактных осветлителей
Контактные осветлители представляют собой разновидность фильтровальных аппаратов, работающих по принципу фильтрования воды в направлении убывающей крупности зерен через слой загрузки большой толщины, который реализуется применением восходящего фильтрования, снизу вверх. Обрабатываемая вода через распределительную систему, уложенную на дне сооружения, вводится в нижние гравийные слои (вариант) и затем фильтруется последовательно через слои загрузки, крупность зерен которых постепенно уменьшается.
При этом основная масса примесей воды задерживается в нижних крупнозернистых слоях, характеризующихся большой грязеемкостью, что уменьшает темп прироста потери напора. Снижение темпа прироста потери напора и увеличение продолжительности защитного действия загрузки вследствие большой высоты слоя позволяют очищать на контактных осветлителях воду с содержанием взвеси, значительно превышающим обычно допустимое для скорых фильтров. Скорые фильтры могут работать нормально, если содержание взвеси в поступающей на фильтры воде составляет 5 ... 15 мг/л. Контактные же осветлители, как показала практика, работают нормально при содержании взвеси в очищаемой воде до 120 мг/л и ее цветности до 120 град.
При водообработке на контактных осветлителях коагулянт вводят в воду непосредственно перед ее поступлением в загрузку осветлителей, процесс коагуляции происходит в ее толще.
За короткий промежуток времени от момента введения коагулянта до начала фильтрования в воде могут образовываться лишь микроагрегаты коагулирующих частиц. Дальнейшая агломерация примесей происходит не в свободном объеме воды, а на зернах загрузки контактных осветлителей; частицы адсорбируются на поверхности зерен, образуя отложения характерной для геля сетчатой структуры. Такой процесс является контактной коагуляцией, что обусловливается контактом воды, содержащей коагулированные примеси, с поверхностью зерен контактной массы.
Как показали исследования и практика эксплуатации, процесс контактной коагуляции идет с большей полнотой и во много раз быстрее, чем при обычной коагуляции в объеме. Доза коагулянта для контактной коагуляции, как правило, меньше, чем доза, необходимая для коагулирования примесей в свободном объеме. Для протекания процесса контактной коагуляции необходимо ввести в воду такую дозу коагулянта, при которой частицы примесей теряют свою агрегативную устойчивость в отношении прилипания к поверхности зерен контактной массы. Такие дозы обычно недостаточны для того, чтобы обеспечить быстрое хлопьеобразование в свободном объеме с получением тяжелых, хорошо декантирующих хлопьев. Кроме того, при контактной коагуляции на процесс почти не влияют температура воды, ее анионный состав, наличие грубодисперсных взвесей и ее щелочность.
Отпадает необходимость в перемешивании воды для обеспечения протекания ортокинетической фазы коагулирования примесей.
Однако, быстрота смешения и равномерность распределения коагулянта в обрабатываемой воде, как показали исследования Е. И. Апельциной, Е. Ю. Рождественской, имеют решающее значение.
Благодаря этим преимуществам в условиях обработки маломутных вод контактные осветлители весьма удачно заменяют обычную двухступенчатую очистку воды, обеспечивая высокий эффект осветления и обесцвечивания при одновременном удешевлении стоимости строительства и эксплуатации очистных сооружений.
На водоочистных комплексах с контактными осветлителями необходимо предусматривать барабанные фильтры и входную камеру для воздухоотделения и смешения реагентов с водой.
Объем камеры рассчитывают на пятиминутное пребывание в ней воды и секционируют на два отделения. Скорость движения воды в камере принимают 5 мм/с. Микрофильтры или барабанные сита располагают обычно над входной камерой.
Устройство и расчет контактных осветлителей
Контактные осветлители рекомендуется использовать без поддерживающих слоев при промывке водой и с поддерживающими слоями при водовоздушной промывке.
Контактный осветлитель КО-1 представляет собой резервуар, заполненный загрузкой из песка и гравия (рис. 13.1). Песок не должен

Рис. 13.1. Контактные осветлители КО-1 (а) и КО-3 (б).
13,9 _ подача и отвод промывной воды; 2, 7 — нижнее и верхнее отделения центрального канала; 3 — водораспределительная система; 10 — слой гравия; 4 — слой песка; 5 — водосборный желоб; 8, 1 - отвод фильтрата и подача исходной воды; 11 — воздухораспределительная система; 12 — подача воздуха на промывку; 16 — струенаправлякдций выступ; 14 — боковой карман; 15 — пескоулавливающий желоб содержать фракции крупнее 2 мм и меньше4 0,8 мм.
Средний диаметр зерен песка 0,9... 1,1 мм, <4=1,0... ... 1,3 мм, толщина слоя песка около 2 м. Гравийные слои располагаются под песчаной загрузкой на дне контактного осветлителя и имеют общую толщину 0,6 ... 0,8 м. Рекомендуемая высота и крупность песчаных и гравийных слоев приведены в табл. 13.1.
Таблица 13.1
| Крупность зерен, мм | Высота слоев, м, в контактном осветлителе | |
| безгравийном | гравийном | |
| 40..20 | — | 0,2.. 0,25 |
| 20.. 10 | — | 0,1 .. 0,15 |
| 10..5 | — | 0,15 .. 0,2 |
| 5..2 | 0,5 ... 0,6 | 0,3 .. 0,4 |
| 2..1,2 | 1,0... 1,2 | 1,2.. 1,3 |
| 1,2...0,7 | 0,8 ... 1,0 | 0,8 .. 1,0 |
Расчетную скорость фильтрования для контактных осветлителей КО-1 принимают 4,0 ... 5,5 м/ч (большие значения при форсированном режиме). Очищаемую воду, предварительно смешанную с коагулянтом, подают в загрузку с помощью распределительной системы дырчатых труб, уложенной на дне в слое мелкого гравия. Распределительная система служит и для подачи промывной воды. Промывку с интенсивностью 15... ...18 л/(с*м2) в течение 7... 8 мин производят так же, как и обычных скорых фильтров. Осветленная вода, как и промывная, отводится с помощью желобов, расположенных над песком.
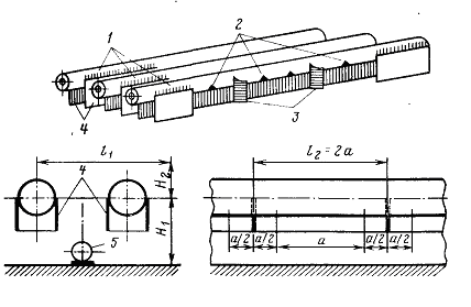
Важным конструктивным элементом контактных осветлителей является распределительная система, которая должна обеспечить равномерное распределение промывной воды по всей площади сооружения. В безгравийных контактных осветлителях (КО-1), промываемых водой, должны устраивать безгравийную трубчатую распределительную систему с приваренными вдоль дырчатых труб боковыми шторками (рис. 13.2), между которыми приваривают поперечные перегородки, разделяющие подтрубное пространство на ячейки.
Работа распределительной системы в контактных осветлителях осложняется тем, что она служит также и для подач неочищенной воды и поэтому отверстия в трубках могут засоряться. В связи с этим распределительная система должна быть доступна для прочистки. Это требование выполняется при устройстве магистрали распределительной системы в виде железобетонного канала достаточно большого сечения, чтобы в него мог проникнуть человек. Магистральный канал располагается в центре контактного осветлителя или вдоль его передней стенки (см. рис. 13.1). Все другие расчетные и конструктивные требования к распределительной системе такие же, как и для фильтров.

Рис. 13.2. Безгравийная трубчатая распределительная система.
1 — водораспределительные трубы; 2 — проходные отверстия; 3 — поперечные перегородки; 4 — боковые шторки; 5 — воздухораспределительная труба
В контактных осветлителях с поддерживающими слоями и водовоздушной промывкой следует применять трубчатые распределительные системы для подачи воды и воздуха и систему горизонтального отвода промывной воды.
В контактных осветлителях без поддерживающих слоев отверстия в дырчатых трубах должны быть расположены в два ряда в шахматном порядке в нижней части и направлены вниз. Диаметр отверстий 10 ... 12 мм, расстояние между осями в ряду 150 ... 200 мм. Распределительную систему надлежит проектировать в соответствии с рекомендациями СНиПа.
В контактных осветлителях без поддерживающих слоев сбор промывной воды производят желобами согласно СНиПу. Над кромками желобов предусматривают пластины с треугольными вырезами высотой и шириной по 50 ... 60 мм, расстояниями между их осями 100 ... 150 мм.
Для промывки следует применять очищенную воду. Допускается использование неочищенной воды при ее мутности неболее 10 мг/л, коли-индексе — до 1000 ед/л с предварительной обработкой воды на барабанных сетках (или микрофильтрах) и обеззараживании. При этом должен быть предусмотрен разрыв струи перед подачей воды в емкость для хранения промывной воды. Непосредственная подача воды на промывку из. трубопроводов и резервуаров фильтрованной воды не допускается.
Водовоздушную промывку контактных осветлителей следует' осуществлять со следующим режимом: взрыхление загрузки воздухом интенсивностью 18 ... 20 л/(с-м2) в течение 1 ... 2 мин; совместная водовоздушная промывка при подаче воздуха 18.....20 л/(с*м2) и воды 3...3,5 л/(с-м2) при продолжительности 6 ... 7 мин; дополнительная промывка водой с интенсивностью- 6 ... 7 л/(с*м2) продолжительностью 5 ... 7 мин.
Продолжительность сброса первого фильтрата при промывке очищенной водой 5... 10, неочищенной — 10... 15 мин.
В контактных осветлителях, в отличие от скорых фильтров,, слой воды над загрузкой осветленный, так как вода уже профильтровалась через загрузку. Следовательно, зеркало осветленной воды в контактных осветлителях открыто. Для предотвращения вторичного загрязнения воды оно должно быть изолировано от помещения обслуживания осветлителей. Для этого осветлители группами или каждый в отдельности отделяют от коридора управления остекленными перегородками высотой не менее 2,5 м. Благодаря остеклению можно вести простые визуальные наблюдения за качеством осветляемой воды.
Контактные осветлители типа КО-1 с безгравийной загрузкой следует применять для вод с умеренной цветностью и мутностью при небольшом содержании планктона, в остальных случаях — контактные осветлители типа КО-3 (рис. 13.1,б) с гравийно-песчаной загрузкой.
В контактных осветлителях типа КО-3 предусматривают две- трубчатые распределительные системы: одна для подачи воды, другая — воздуха. Воздухораспределительная система состоит из дырчатых полиэтиленовых труб, располагаемых у дна сооружения точно посередине между распределительными трубами для воды. В контактных осветлителях типа КО-3 применяют систему горизонтального отвода промывной воды, основными элементами которой являются пескоулавливающий желоб и струенаправляющий выступ (см. рис. 13.1,б).
Работа и промывка контактного осветлителя типа КО-3 осуществляется по следующей схеме. Во время работы обрабатываемая вода, смешанная с реагентами, подается в нижнее отделение бокового кармана и далее по распределительной системе поступает в загрузку. Фильтрат собирается в надзагрузочном объеме и через водослив пескоулавливающего желоба поступает в верхнее отделение бокового кармана, откуда по трубопроводу отводится в сборный коллектор очищенной воды.
В начале промывки загрузка продувается воздухом для предварительного разрушения загрязнений и выравнивания гидравлического сопротивления загрузки по площади сооружения. Затем в результате одновременной подачи воды и воздуха загрязнения полностью разрушаются и перемещаются кверху, выходя на поверхность загрузки, и далее в верхнее отделение бокового кармана и за пределы аппарата. По окончании совместной водовоздушной промывки подача воздуха в загрузку прекращается и производится дополнительная промывка загрузки водой. Таким образом, в конце промывки из загрузки удаляется оставшийся в ней воздух, она несколько разрыхляется и восстанавливается ее первоначальная пористость. По окончании промывки производится сброс первого фильтрата, а затем вновь начинается фильтроцикл.
Удаление загрязнений при промывке осуществляется с помощью системы горизонтального (низкого) отвода воды. Промывная вода из надгрузочного объема, двигаясь горизонтальным потоком, проходит через пескоулавливающий желоб и сливается в верхнее отделение бокового кармана и далее в водосток. Необходимая скорость горизонтального потока в начальном сечении создается за счет его стеснения струенаправляющим выступом (см. рис. 13.1,б). Выносимые потоком отдельные зерна загрузки оседают на стенках желоба и через щель между стенками попадают обратно в загрузку.
фильтрование вода контактный осветитель
ЛИТЕРАТУРА
1. Алексеев Л. С., Гладков В. А. Улучшение качества мягких вод. М., Стройиздат, 1994 г.
2. Алферова Л. А., Нечаев А. П. Замкнутые системы водного хозяйства промышленных предприятий, комплексов и районов. М., 1984.
3. Аюкаев Р. И., Мельцер В. 3. Производство и применение фильтрующих материалов для очистки воды. Л., 1985.
4. Вейцер Ю. М., Мииц Д. М. Высокомолекулярные флокулянты в процессах очистки воды. М., 1984.
5. Егоров А. И. Гидравлика напорных трубчатых систем в водопроводных очистных сооружениях. М., 1984.
6. Журба М. Г. Очистки воды на зернистых фильтрах. Львов, 1980.
