Расчет сопротивления ограждающей конструкции
Содержание
1. Расчет сопротивления теплопередаче ограждающей конструкции
2. Расчет сопротивления паропроницанию ограждающей конструкции
3. Расчет сопротивления воздухопроницанию ограждающей конструкции
4. Список литературы
1. Расчет сопротивления теплопередаче ограждающей конструкции
1) Выписываем характеристики района строительства:
-расчетная температура наружного воздуха холодного времени года-
text=- 40 0С (определяем по приложению 1 источника (1));
-средняя температура воздуха периода со среднесуточной температурой воздуха меньшей 8 0С – tht=-6.2 0С (определяем по приложению 1 источника (1));
-продолжительность периода со среднесуточной температурой воздуха меньшей 8 0С – zht=264 сут (определяем по приложению 1 источника (1));
-зона влажности – нормальная (определяем по приложению 1 источника (1));
2) Назначение помещения – клуб:
- температура внутреннего воздуха – tint=18 0С (определяем по таблице 1.2 источника (1));
-влажность воздуха в указанном помещении – φ=55% (определяем по таблице 1.3 источника (1));
3) Влажностный режим помещения – нормальный (определяем по таблице 1.1 источника (1));
4) Условия эксплуатации ограждающей конструкции – Б (определяем по таблице 1.4 источника (2));
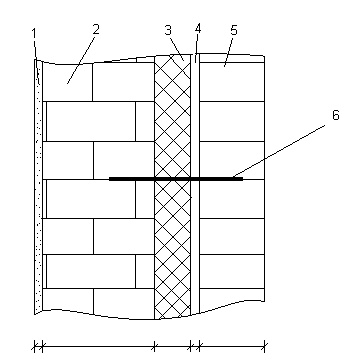
5) Конструкция стены:

0,015 0,250 0,020 0,120
| Теплотехнические характеристики материала стены | |||
| Материал | Наименование характеристик | ||
δ, м. | ρ, кг/м3 | λ, Вт/м. 0С | |
| 1. Мрамор | 0,015 | 800 | 0,91 |
| 2. Кирпичная кладка из силикатного четырнадцатипустотного кирпича на цементно-песчаном растворе | 0,25 | 1400 | 0,52 |
| 3. Пенополистирол Стиропор PS30 | x | 225 | 0,0072 |
| 4. Воздушная прослойка | 0,020 | 0,15 | |
| 5. Кирпичная кладка из силикатного четырнадцатипустотного кирпича на цементно-песчаном растворе | 0,120 | 1400 | 0,52 |
| 6. Стальной анкер | 0,004 | 7850 | 58 |
