Газохроматографический метод определения загрязненности воздуха
Расширение масштабов производственной деятельности человека приводит к тому, что ее влияние на состояние окружающей среды становится определяющим. Антропогенное воздействие на среду обитания уже носит глобальный планетарный характер, хотя наиболее остро его результаты проявляются в регионах с высокой концентрацией населения, промышленности и т.п., что позволяет говорить об экологическом кризисе этих территорий. Осознание того факта, что качество окружающей среды во многом определяет качество жизни человека, привело к резкому усилению общественного и научного интереса к проблемам экологии и формированию «экологических» направлений в таких науках как химия, физика, биология и т.д. Можно сказать, что экологическое направление научной деятельности имеет в настоящее время (особенно в экономически развитых странах) приоритетный характер. В этой связи встает задача подготовки специалистов, способных ориентироваться в экологических проблемах и участвовать в практической работе по их решению. Такая подготовка не может считаться полной без практического знакомства обучаемых с физико-химическими методами контроля окружающей среды, методикой организации комплексного экологического мониторинга, проведением измерений основных экологических параметров.
Глава 1. Газовая хроматография
Параметры удерживания в газовой хроматографии. Время удерживания и удерживаемый объем
Разделение в хроматографии основано на различной сорбируемости анализируемых соединений при движении их по слою сорбента в колонке. Если соединение не сорбируется, то оно не удерживается сорбентом в колонке и будет выходить из колонки со скоростью потока газа-носителя. Если же вещества сорбируются, то они удержатся в колонке, это будет определяться их сорбционной способностью: чем сильнее сорбция соединения, тем дольше оно будет удерживаться в колонке.

Рис.1. Параметры удерживания
Параметры удерживания, по существу, характеризуют сорбционную способность анализируемых соединений. Различие в сорбируемости в конечном итоге определяется различием межмолекулярных взаимодействий вещество – сорбент.
Время от момента ввода пробы в колонку до выхода максимума пика называется временем удерживания tR (рис. 4.1.1). Оно складывается из двух составляющих: времени нахождения молекул соединения в газовой фазе
и времени нахождения молекул соединения в сорбируемом состоянии
:
.
Время нахождения молекул исследуемого соединения в газовой фазе зависит от доли пустот в насадочной или капиллярной колонке. В разных насадочных колонках плотность набивки может изменяться, будет также изменяться и величина tм, поэтому для характеристики истинной удерживающей способности необходимо определять величину t'R — так называемое приведенное время удерживания:
.
Величину tм определяют по времени выхода несорбируемого соединения (иногда называемого мертвым временем). В газовой хроматографии эту величину определяют по времени выхода гелия или водорода в случае применения детектора по теплопроводности и метана при использовании пламенно-ионизационного детектора.
Приведенное время удерживания зависит от скорости газа-носителя: чем больше скорость газа-носителя, тем меньше время удерживания, поэтому на практике удобнее использовать удерживаемый объем VR — произведение времени удерживания на объемную скорость газа-носителя Fr:
.
Удерживаемый объем — это объем газа-носителя, который необходимо пропустить через хроматографическую колонку, чтобы элюировать данное анализируемое соединение.
Приведенный удерживаемый объем
соответственно равен:
![]()
где Vd — объем пустот в колонке (мертвый объем).
В хроматографе Vd реально складывается из объемов всех пустот в газовом тракте (дозатора, переходных соединений, колонок, детектора).
Объемную скорость газа-носителя чаще всего измеряют на выходе из колонки. Из-за сжимаемости газа-носителя при повышении давления объемная скорость неодинакова по длине колонки. В начале колонки она меньше, чем на выходе, поэтому для определения средней скорости в колонке вводится специальная поправка j, учитывающая перепад давления:
,
где p1 — входное давление, p0 — давление на выходе колонки.
Приведенный удерживаемый объем с поправкой на среднее давление называется чистым удерживаемым объемом:
.
Чистый удерживаемый объем можно считать физико-химической константой, так как он не зависит от скорости газа-носителя при постоянной температуре и доли пустот в колонке.
Чистый удерживаемый объем зависит от количества сорбента в колонке, поэтому для точных физико-химических измерений используют понятие удельного удерживаемого объема
. Величина
— это чистый удерживаемый объем, отнесенный к массе сорбента g в колонке или к площади поверхности адсорбента SК при усредненном давлении в хроматографической колонке и температуре T колонки:
;
.
Для особо точных физико-химических измерений вводят поправку на давление пара воды вследствие того, что измерения обычно проводят мыльно-пенным измерителем, а также на разность температур на выходе из колонки и в колонке.
Относительные параметры удерживания
Все рассматриваемые выше параметры удерживания зависят от случайных небольших колебаний параметров опыта, в частности расхода газа-носителя и температуры термостата колонки.
Для исключения этих влияний используют относительные параметры удерживания.
При расчете относительного параметра удерживания (времени или объема) берут отношение чистого объема удерживания исследуемого вещества к чистому объему удерживания стандартного соединения:
;
.

Рис. 2. Оценка асимметричности пиков
В качестве стандартных соединений используют н-алканы, с параметрами удерживания, близкими к параметрам удерживания исследуемого вещества. В этом случае при случайных колебаниях расхода или температуры абсолютные параметры удерживания будут изменяться, а их отношения — практически нет.
В качестве относительного параметра широко используют индекс Ковача:
,
где tn, tn+1 — приведенные времена удерживания н-алканов, с числом атомов углерода в молекуле n и n+1,
— приведенное время удерживания исследуемого соединения.
Индекс Ковача — безразмерная величина и может быть подсчитана с большой точностью, например в капиллярных колонках — до сотых долей процента. Индексы Ковача в первую очередь применяют для идентификации неизвестных веществ (проведение качественного анализа).
Изменения индексов Ковача для соединений, отличающихся природой функциональной группы, используют для оценки межмолекулярных взаимодействий. Индексами удерживания определенного набора стандартных веществ характеризуют полярность неподвижных жидких фаз и адсорбентов (см. Приложение).
1. 1. Основные уравнения в газовой хроматографии
Коэффициент распределения — отношение концентраций исследуемого соединения в неподвижной и подвижной фазах в равновесных условиях:
.
Фазовое отношение — это отношение объемов подвижной и неподвижной фаз в колонке:
.
Фактор удерживания (фактор емкости) — это отношение приведенных времен удерживания к мертвому времени:
.
Фактор разделения — величина, характеризующая селективность разделительной системы, равная отношению факторов удерживания или приведенных времен удерживания двух соседних пиков на хроматограмме:
.
Эффективность колонки — характеристика степени размывания полос в колонке, характеризуется числом теоретических тарелок N или H.
,
где W0,5 — ширина пика на половине высоты.
,
где L — длина колонки; N — безразмерная величина; Н имеет размерность длины обычно в мм.
Разрешение Rs — это отношение расстояния между максимумами исследуемых соседних пиков к сумме их полуширин, выраженных в одних и тех же единицах измерения:
.
Связь степени разрешения с фактором разделения a , фактором удерживания k и эффективностью N:
.
Число тарелок, необходимое для полного разделения при Rs = 1:
,
при k > 10 это уравнение можно упростить:
.
Определение различий свободных энергий сорбции двух соседних компонентов:
.
Связь удерживаемого объема с температурой колонки
.
График зависимости lgVR от обратной температуры (1/Т) — прямая линия, тангенс угла наклона которой равен:
; ![]()
т.о., из наклона прямой температурной зависимости удерживаемого объема можно определить теплоту сорбции.
Влияние экспериментальных параметров на хроматографическое разделение (на величины a , R и N)
Влияние природы сорбента. Природа сорбента играет решающую роль в разделении компонентов. Разделение происходит за счет различий межмолекулярных взаимодействий разделяемых молекул с сорбентом. Селективность разделения определяется природой сорбента. В большинстве случаев селективность разделения (величина a ) уменьшается с повышением температуры.
Длина колонки. Степень разделения пропорциональна квадратному корню от длины колонки. Эффективность прямо пропорциональна длине колонки.
Сечение колонки. С уменьшением сечения колонки (диаметра) возрастает эффективность и степень разрешения колонки.
Размер зерен сорбента. Размывание хроматографических полос, эффективность в значительной степени зависят от размера зерен сорбента. Вихревая диффузия и внешний массообмен сильно зависят от диаметра зерен сорбента.
Толщина жидкой пленки на носителе. С увеличением толщины пленки жидкой фазы (в случае газо-жидкостной хроматографии) увеличиваются времена удерживания, затрудняется внутренний массообмен и уменьшается эффективность
,
где Vd — мертвый объем, K — коэффициент распределения, Vж — объем жидкой фазы.
Природа газа-носителя. В газовой хроматографии при небольших давлениях инертные газы-носители практически не адсорбируются, особенно в газо-жидкостной хроматографии. Поэтому природа газа-носителя практически не влияет на селективность разделения, за исключением некоторых случаев в газо-адсорбционной хроматографии при разделении газов на активных тонкопористых адсорбентах. Природа газа-носителя влияет на эффективность колонок особенно при высоких скоростях. Сопротивление колонки, перепад давления в ней определяется вязкостью газа-носителя.
Давление газа-носителя. В большинстве случаев на входе в колонку используют избыточное давление в пределах от 0,1 до 2 атм (в очень редких случаях выше). Изменение давления в этих пределах практически не влияет ни на селективность, ни на эффективность разделения. В ряде работ применялись пониженные давления на выходе из колонки, т.е. вакуумная хроматография для разделения малолетучих высококипящих соединений. Описаны варианты газовой хроматографии при повышенных давлениях. При повышении давления возрастает сорбция газа-носителя и уменьшается сорбция разделяемых соединений, особенно если в качестве подвижной фазы используются пары жидкостей, в частности воды. Парофазная хроматография расширяет аналитические возможности газовой хроматографии.
Размер пробы. Размер введенной пробы анализируемой смеси должен быть таким, чтобы не вызывать перегрузку колонки. При введении пробы больше максимально допустимой изменяются времена удерживания. Особенно важно не перегружать капиллярную колонку, так как ее эффективность сильно падает с перегрузкой.
Способ дозирования. Пробу можно ввести быстро, в виде узкой полосы или медленно, в виде разбавленной полосы. Первый способ введения — «метод поршня» — идеальный, второй — «способ экспоненциального разбавления» может приводить к дополнительному размыванию полосы. Способ дозирования в реальных случаях занимает промежуточное состояние между этими крайними случаями. В общем случае ширина дозируемой пробы должна быть значительно меньше ширины полосы вещества, получаемого на выходе из колонки.
Чувствительность, линейность, инерционность и стабильность детектора. Назначение детектора — регистрация выходных кривых в виде сигналов (пиков) достаточной амплитуды, необходимых для количественных измерений. Для точных количественных измерений необходимо, чтобы
· детектор не искажал истинную форму полосы, образующейся на слое сорбента, другими словами, детектор должен быть малоинерционен, постоянная времени — небольшой;
· показания детектора были пропорциональны концентрации или количеству дозируемых веществ, т.е. детектор должен обладать достаточно широкой областью линейности;
· запись сигнала была устойчивой, не должно быть флуктуации нулевой линии или же монотонного смещения нулевой линии в течение длительного времени (дрейфа нулевой линии).
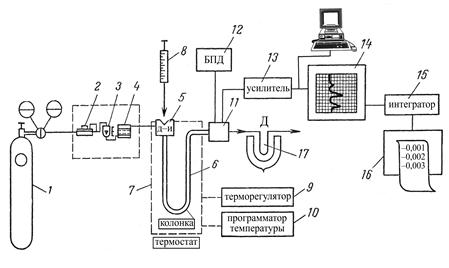
1. 2. Аппаратура для газовой хроматографии. Функциональная схема газового хроматографа
В аналитических хроматографах используют проявительный вариант хроматографии, в этом случае газ-носитель непрерывно продувается через хроматографическую колонку. Расход газа-носителя создается за счет перепада давления на входе и выходе колонки.

Рис. 3. Функциональная схема газового хроматографа
Схема современного газового хроматографа изображена на рис. 3. Для создания перепада давления через колонку хроматограф подсоединяют к источнику со сжатым газом 1 (баллонная или лабораторная линия со сжатым газом). Через колонку поток газа-носителя должен проходить с постоянной и определенной скоростью, поэтому на входе в колонку на линии газа-носителя устанавливают регулятор и стабилизатор расхода газа-носителя 2 и измеритель расхода газа 3. Если газ-носитель загрязнен нежелательными примесями, то в этом случае устанавливается еще фильтр 4. Таким образом, на входе в колонку подключается ряд устройств, часто объединяемых в один блок (блок подготовки газа), назначение которого — установка, стабилизация, измерение и очистка потока газа-носителя. Перед входом в колонку устанавливается устройство для ввода анализируемой пробы в колонку — дозатор-испаритель 5. Обычно анализируемую пробу вводят микрошприцем 8 через самозатекающее термостойкое резиновое уплотнение в дозаторе, газовые пробы вводят дозирующим шестиходовым краном.
Анализируемая проба, введенная в дозатор, захватывается потоком газа-носителя (если анализируемая проба — жидкость, то она предварительно переходит в дозаторе-испарителе в парообразное состояние) и направляется в хроматографическую колонку 6. За счет различной сорбируемости компоненты смеси будут с разной скоростью продвигаться по колонке. Вещества, которые сорбируются слабо, будут продвигаться по колонке с большей скоростью и выходить первыми. Сильносорбируемые вещества будут продвигаться по колонке медленнее.
Если выбран достаточно селективный сорбент и подобраны оптимальные условия, то на выходе колонки компоненты смеси будут полностью разделены. Детектор 11 зарегистрирует присутствие разделенных компонентов в газе-носителе. Эти сигналы в случае необходимости усиливаются (усилитель 13) и регистрируются на шкале вторичного самопишущего прибора 14 или дисплея ПЭВМ в виде выходных кривых (или пиков). Для обеспечения стабильного режима работы детектора используется блок питания детектора 12.
Сорбируемость веществ зависит от температуры. Для исключения влияния колебания температуры на результаты разделения, колонку помещают в специальную камеру-термостат, температура которой устанавливается и поддерживается терморегулятором 9. В случае необходимости температура колонки в процессе разделения может изменяться по определенной программе с помощью блока программирования температуры 10.
Высота или площадь пика пропорциональны количеству или концентрации компонента в смеси. Площадь пика может быть измерена с помощью электронного интегратора 15 или ПЭВМ. Значения площадей пиков могут быть отпечатаны на бумажном носителе.
Таким образом, перед хроматографическим анализом необходимо провести следующие операции на приборе:
· открыть вентиль баллона со сжатым газом и установить по манометру или специальному измерителю определенный расход газа-носителя;
· включить питание детектора;
· установить необходимую температуру в термостате колонок;
· включить самопишущий прибор, интегратор или ПЭВМ, после выхода прибора на устойчивый режим (через 30–60 мин.) микрошприцем отобрать и ввести в дозатор-испаритель анализируемую пробу.
Все дальнейшие операции проходят без участия оператора: компоненты пробы разделяются на колонке, регистрируются в детекторе, записываются на диаграммной ленте вторичного прибора, интегратор или ПЭВМ определяет площадь пика, а в случае применения ПЭВМ с принтером можно сразу получить полный протокол — хроматограмму с распечатанной рядом таблицей концентраций разделенных компонентов.
Элементы блока подготовки газов
Как было указано выше, назначение блока подготовки газов (БПГ) или системы подготовки газов — очистка, установка, регулировка стабилизация и измерение газовых потоков: газа-носителя, воздуха, водорода и других дополнительных газовых потоков. Поддержание стабильного потока газа-носителя важно для получения воспроизводимых значений параметров удерживания и параметров пиков. Колебания расходов газа-носителя влияют на шумы (флуктуации) детектирующих систем.
Основные элементы БПГ: дроссель, регулятор давления и регулятор расхода.
Дроссель изменяет расход газа путем изменения сопротивления канала, по которому проходит газ.
Регулятор давления стабилизирует давление на входе в колонку при возможных внешних колебаниях давления газа. Специальная мембрана в регуляторе давления воспринимает изменение давления газа и передает соответствующее смещение исполнительному механизму.
В режиме программирования температуры термостата сопротивление колонки повышается, а расход падает. В этом случае для сохранения постоянного расхода в колонке используется регулятор расхода. При падении расхода в связи с увеличением сопротивления в колонке регулятор расхода повышает входное давление настолько, чтобы восстановился первоначальный расход газа-носителя. Расход газов измеряют мыльно-пенным измерителем, реометром, ротаметром или специальным электронным измерителем расхода на принципе теплового расходомера. Фильтры для очистки газа-носителя заполняют адсорбентами (активированный уголь, силикагель, цеолит).
В современных хроматографах используются БПГ с электронным заданием и управлением расходов газов.
Дозирующие устройства (дозаторы)
Дозаторы предназначены для ввода в хроматографическую колонку точно выбранного количества анализируемой пробы. Общие требования к дозаторам: воспроизводимость ввода пробы (желательно ниже 1–2%), сохранение состава исходной анализируемой пробы. Кроме того, ввод пробы должен происходить быстро, без сильного размывания исходной смеси. Различают дозаторы для ввода газообразных, жидких и твердых проб. Для быстрого ввода газообразных проб используют микрошприцы, мембранные краны (чаще всего в автоматических промышленных хроматографах), золотниковые, поршневые и вращающиеся поворотные краны. В современных лабораторных хроматографах чаще всего применяются поворотные краны. Такой кран состоит из неподвижного корпуса со штуцерами для подвода газа-носителя и анализируемого газа и сверху движущейся поворотной втулки с каналами, соединяющими линии газа-носителя и анализируемого газа. На корпусе устанавливается трубка-доза для точного ввода пробы. Корпус и вращающаяся втулка сильно прижаты друг к другу, их контактирующие поверхности тщательно отполированы и при повороте должны плавно скользить относительно друг друга. Такие краны могут быть 6, 8, 10 и даже 14-ходовые (или портовые). Чаще всего для дозирования применяются 6-ходовые краны. Схема ввода газовой пробы таким краном показана на рис. 4. Поворот крана может проводиться вручную или автоматически, электрическим или пневматическим приводом. При изготовлении крана используются следующие материалы: нержавеющая сталь, хостеллой, тефлон, наполненный тефлон, веспел и др.

Рис. 4. Ввод краном: а — заполнение пробоотборной петли крана пробой S; б — ввод пробы в потоке газа-носителя G
![]()
Рис. 5. Шприц
Жидкие пробы вводятся в газовые хроматографы микрошприцами на 1, 5, 10, 50 мкл через термостойкое резиновое уплотнение испарителя. Величина дозируемой пробы легко регулируется в широких диапазонах. Общий вид таких микрошприцев изображен на рис. 5. Эти шприцы сравнительно недороги и удобны для очистки.
Для автоматического ввода жидких проб применяют специальные поршневые, вращающиеся и золотниковые дозирующие краны. В поршневом кране движущийся поршень имеет сбоку кольцевую канавку, глубина которой определяет объем введенной пробы. Поршень двигается между полостью, промываемой непрерывным потоком анализируемого вещества, и нагретым испарителем.
Твердые пробы в основном вводят в пиролизных устройствах через специальные шлюзы.
1. 3 Детекторы для газовой хроматографии
Всего для газовой хроматографии предложено более 60 типов детектирующих систем. По общепринятой классификации детекторы подразделяются на дифференциальные и интегральные по форме зарегистрированного сигнала. Дифференциальные детекторы измеряют мгновенное различие в концентрации вещества в потоке газа-носителя. Хроматограмма, зарегистрированная таким детектором, представляет собой ряд пиков, площадь которых пропорциональна количеству разделенных соединений. Интегральные детекторы измеряют суммарные количества соединений, выходящих из колонки. Хроматограмма в этом случае ступенчатая, высота ступеней пропорциональна количеству соответствующих соединений.
В зависимости от однократной или многократной регистрации молекул анализируемых соединений выделяют концентрационные и потоковые детекторы. В концентрационных детекторах сигнал пропорционален концентрации соединения в подвижной фазе (элюенте). Здесь имеет место многократная регистрация молекул анализируемых соединений. В потоковых (или массовых) детекторах сигнал пропорционален количеству пробы компонента, достигаемому ячейки детектора в единицу времени. В этом случае происходит только однократная регистрация.
По селективности детекторы классифицируются на универсальные, селективные и специфические. В универсальных детекторах регистрируются все компоненты смеси, выходящие из колонки, за исключением подвижной фазы. Селективные детекторы регистрируют определенные группы соединений на выходе из колонки. Специфические детекторы регистрируют только один компонент или ограниченное число компонентов с подобными химическими характеристиками.
Основные технические характеристики детекторов:
· чувствительность или предел детектирования;
· линейность (динамический диапазон);
· инерционность (постоянная времени, быстродействие);
· стабильность (уровень шума и дрейфа);
· величина эффективного объема чувствительной ячейки.
Чувствительность концентрационных детекторов Ак определяется следующим выражением:
,
где Sп — площадь пика, см2; V — шкала самописца, мВ × cм–1; Fr — скорость газа-носителя, мл × с–1; q — масса соединения, мг; F — скорость движения ленты самописца, см × с.
Размерность чувствительности в этом случае мВ · мг × мл –1.
Чувствительность потоковых детекторов (мВ · мг × с-1) равна:
.
В последние годы чаще всего определяют предел детектирования. Для оценки минимально обнаруживаемой концентрации необходимо, кроме чувствительности, знать уровень флуктуаций (шума) нулевой линии. Минимальным сигналом, поддающимся измерению, обычно принято считать сигнал, высота которого в несколько раз (2–5) превышает уровень шумов d :
.
Величина сmin — предел детектирования — определяет предельные возможности прибора.
Под линейностью детекторов понимают диапазон концентраций, в пределах которых наблюдается линейность зависимости сигнал – концентрация. Для определения величины линейности строят соответствующий график. Обычно диапазон линейности расположен от предела детектирования до концентраций, в которых уже наблюдается отклонение от линейности на 5–10%.
Под инерционностью (быстродействием, постоянной времени) подразумевается скорость реагирования детектора на быстрое изменение концентрации на выходе из колонки. Детектор должен иметь такое быстродействие, чтобы при регистрации не искажать формы полосы соединения, выходящего из колонки. В современных, особенно ионизационных детекторах постоянная времени — менее 0,1–0,01 с. В некоторых катарометрах, чаще всего устаревших конструкций, постоянная времени может составлять около 1 с и даже выше.
Быстродействие сильно зависит от величины эффективного объема ячейки.
Уровень шума нулевого сигнала детектора определяется кратковременными флуктуациями. Дрейф — это монотонное смещение нулевой линии. Величину смещения оценивают в течение 1 часа. Обычно требования к этим показателям таковы: шум 0,5% рабочей шкалы и дрейф не более 3% в час.
В табл. 1 приведены технические характеристики детекторов, применяемых в современных газовых хроматографах.
Таблица 1
Технические характеристики наиболее часто применяемых детекторов для ГХ
Детектор | Предел детектирования (S/N = 2) | Линейный динамический дапазон | Тип | Анализируемые соединения |
| ПИД | 5 · 10–12 гс × c–1 | 107 | Селектив. | Регистрирует органические соединения, ионизируемые в пламени водорода |
| ДТП | 4 · 10–1г × мл–1 | 106 | Универс. | Регистрирует все соединения, отличающиеся по теплопроводности от газа-носителя |
| ЭЗД | 1 · 10–14 г × с–1 | 103–104 | Селектив. | Регистрирует в основном галогенорганические соединения |
| ФИД | 2 · 10–12 г × с–1 | 107 | То же | Регистрирует все соединения за счет УФ-излучений с потенциалом ионизации менее 10,7 эВ или 11,7 эВ |
| ТИД | 4 · 10–13 г(N) × с–12 · 10–13 г(P) × с–1 | 104 | То же | Селективно определяет гетеросоединения, имеющие атомы N и P в молекуле |
| ПФД | 2 · 10–11 г(S) × с–19 · 10–13 г(P) × с–1 | 103104 | Специф. | Специфичен к S- и P- содержащим соединениям |
| АЭД | 1 · 10–13 2 · 10–11 г × с–1 | 104 | Универс. | Регистрирует все соединения, имеющие в своем составе 12 основных элементов (H, C, S, N, P и др.) |
| МСД | 1 · 10–11 г × с–11 · 10–9 г × с–1 | 105 | Универс. | Регистрирует все соединения и может по масс-спектрам идентифицировать соединение |
