Тема: Исследование устройства и принципа действия системы смазки двигателей внутреннего сгорания
Лабораторная работа № 3
Дисциплина: «Механизация лесного хозяйства»
Для специальности: 2-75 01 01 «Лесное хозяйство»
Лабораторная работа № 3
Тема: Исследование устройства и принципа действия системы смазки двигателей внутреннего сгорания
Цель: Сформировать умение анализировать устройство и принцип действия системы смазки двигателей внутреннего сгорания, определять их техническое состояние, причины и способы устранения неисправностей.
Задание на выполнение лабораторной работы:
1. Изучить назначение узлов и деталей системы смазки.
2. Изучить устройство масляного насоса.
3. Изучить устройство центробежного масляного фильтра.
4. Ознакомиться с работой системы смазки.
5. Изучить неисправности системы смазки.
Методика выполнения лабораторной работы:
Лабораторная работа выполняется каждым студентом индивидуально. Задания выполняются на основании представленных ниже материалов, и записываются на специальных листах в установленный срок.
Материалы и оборудование: клей-карандаш, карандаш, линейка, учебные плакаты, методические рекомендации.
Материалы для выполнения лабораторной работы:
1 Назначение узлов и деталей системы смазки
Система смазки двигателя служит для подачи масла к трущимся поверхностям с целью уменьшения трения, удаления продуктов износа и охлаждения трущихся деталей, повышения их долговечности и износостойкости.
В зависимости от способа подвода масла к трущимся поверхностям различают три системы смазки — разбрызгиванием, под давлением и комбинированную. В настоящее время на большинстве автотракторных двигателей применяется комбинированная система смазки, при которой часть деталей смазывается маслом под давлением, а часть - разбрызгиваемым маслом и самотеком.
Масляный насосслужит для подачи масла под давлением к трущимся деталям, приборам очистки и охлаждения масла.
Масляные фильтры служат для очистки циркулирующего в системе смазки масла от примесей (частиц износа, смол, абразивных частиц и пр.), ускоряющих износ деталей двигателей.
В зависимости от требуемого качества очистки масла различают следующие типы фильтров.
Сетчатые фильтры маслоприемников устанавливаются перед входом масла в насос. Эти фильтры не пропускают в масляный насос крупные механические примеси, что предохраняет насос от повышенного износа или поломок.
Часто металлические частицы (продукты износа) улавливают при помощи магнита, устанавливаемого в сливной пробке поддона картера.
Фильтры грубой очистки служат для очистки масла, поступающего в магистраль, задерживая при этом частицы размером до 0,1 мм. Эти фильтры обладают сравнительно малым сопротивлением и включаются в масляную систему последовательно, т. е. через них проходит все масло, подаваемое насосом. Грубую очистку масла обычно производят с помощью пластинчато-щелевых или ленточно-щелевых фильтров.
В качестве фильтров тонкой очистки широко применяются центробежные фильтры или центрифуги, ротор которых вращается с частотой 6000-7000 об/мин. Преимуществами центробежного фильтра являются повышенная фильтрующая способность и отсутствие сменных фильтрующих элементов.
Для поддержания температуры масла в рекомендуемых пределах его необходимо охлаждать, что достигается автоматически благодаря обдуву поддона картера двигателя воздухом. Когда этого недостаточно, в схеме смазки предусматривают специальные радиаторы, которые обычно устанавливают перед радиатором системы охлаждения двигателя.
Контроль уровня, давления и температуры масла осуществляется соответственно маслоизмерительным стержнем (щупом), манометром и дистанционным термометром.
Масло в картер двигателя необходимо наливать до определенного уровня через маслозаливную горловину. На маслоизмерительном стержне нанесены риски, соответствующие допустимым максимальному и минимальному уровням масла.
2 Устройство масляного насоса
На автотракторных двигателях применяются шестеренчатые одно- и многосекционные насосы с шестернями внешнего зацепления.
На рис. 2.1 представлены схема и конструкция двухсекционного масляного насоса. Устройство и действие каждой его секции ничем не отличаются от устройства и действия односекционного насоса.
Двухсекционный масляный насос состоит из корпуса основной секции 7, разделительной пластины 5 и корпуса дополнительной 3 (радиаторной) секции. Каждая секция имеет ведущие 1, 10 и ведомые 2, 8 шестерни. Ведущие шестерни 1, 10 приводятся во вращение от ведущего вала 12, установленного во втулке 11. В корпусе основной секции 7 насоса установлен редукционный клапан 9 насоса, а в корпусе 3 предохранительный клапан 4.

Рис. 2.1 – Двухсекционный масляный насос:
1, 10 – ведущие шестерни; 2, 8 – ведомые шестерни; 3 – корпус
дополнительной секции; 4 – предохранительный клапан;
5 – разделительная пластина; 6 – ось; 7 – корпус основной секции;
9 – редукционный клапан; 11 – втулка; 12 – ведущий вал;
13, 14 – промежуточные шестерни; 15 – маслозаборник;
16 – всасывающая трубка
При работе насоса масло под действием разрежения, создаваемого при вращении шестерен, поступает в насос через маслозаборник 15 и всасывающую трубку 16, заполняет впадины между зубьями шестерен и переносится ими в нагнетательный канал насоса. Из насоса масло поступает под давлением к масляным фильтрам и трущимся деталям.
Основная (верхняя) секция насоса подает масло в систему смазки, а дополнительная (нижняя) - в масляный радиатор или в фильтр центробежной очистки масла. Масляный насос устанавливается внутри или снаружи картера.
Подача масляных насосов значительно выше, чем это необходимо для надежной смазки деталей двигателя. Это сделано для обеспечения необходимого давления масла на всех режимах работы двигателя. Для отвода излишка масла, подаваемого насосом, и ограничения давления в системе смазки служит редукционный клапан, через который этот излишек сливается в поддон картера или перепускается снова на линию всасывания. По мере износа подшипников двигателя увеличивается и расход масла, подаваемого к трущимся поверхностям. В этом случае давление масла не снизится, но через редукционный клапан будет перепускаться меньшее его количество.
Редукционный клапан может быть выполнен в виде плунжера или шарика, нагруженного пружиной.
3 Устройство центробежного масляного фильтра
Центробежный фильтр состоит из корпуса 3 (рис. 3.1), закрытого кожухом 6. В корпусе закреплена пустотелая ось 1, на которой установлен ротор 4, вращающийся на упорном подшипнике 9. К ротору 4 при помощи гайки 8 крепится колпак 5. Внутри ротора имеются две вертикальные трубки с сетчатыми фильтрами 7 в верхней части. Под трубками в основании ротора проходят два горизонтальных канала с завернутыми в них жиклерами 2.

Рис. 3.1 – Центробежный масляный фильтр:
1 – ось; 2 – жиклеры; 3 – корпус; 4 – ротор; 5 – колпак;
6 – закрытый кожух; 7 – вертикальные трубки с сетчатыми фильтрами;
8 – гайка; 9 – упорный подшипник
Масло в центробежный фильтр поступает под давлением из системы смазки двигателя через пустотелую ось 1 ротора 4 и вытекает из жиклеров двумя струями, направленными в разные стороны, что создает реактивную пару сил, вращающую ротор. При этом тяжелые частицы грязи и осадков, подлежащие отделению, отбрасываются к внутренней поверхности стенок колпака 5 и оседают на них в виде плотного слоя, который удаляется при техническом обслуживании.
Центробежный масляный фильтр включается в систему смазки параллельно при наличии фильтра грубой очистки и последовательно при его отсутствии. На автотракторных двигателях последних выпусков применяется полнопоточная масляная центрифуга. Особенность ее состоит в том, что все масло очищается в роторе реактивной центрифуги.
4 Работа системы смазки
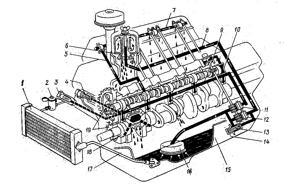
Работу системы смазки рассмотрим на примере двигателя автомобиля ГАЗ-53А, который имеет комбинированную систему смазки, типичную для двигателей с верхним расположением клапанов.
При работе двигателя приводится в действие от распределительного вала шестеренный масляный насос 14 (рис. 4.1), который через маслоприемник 16 забирает масло из поддона картера 15. Нижняя секция 12 масляного насоса нагнетает масло по каналу 8 в центрифугу 6, после которой масло сливается в поддон картера. Верхняя секция 11 масляного насоса нагнетает масло в главную масляную магистраль 9 блока цилиндров. Из главной магистрали масло по каналам 10 в блоке подводится к коренным подшипникам коленчатого и распределительного валов. От коренных шеек коленчатого вала по каналам 18, просверленным в валу, масло поступает к шатунным подшипникам.

Рис. 4.1 – Система смазки двигателя:
1 – радиатор; 2 – кран; 3 – предохранительный клапан;
4, 13 – редукционные клапаны; 5, 8, 10, 18 – каналы; 6 – центрифуга;
7 – полые оси коромысел; 9 – главная масляная магистраль;
11 – верхняя секция масляного насоса; 12 – нижняя секция масляного насоса;
14 – шестеренный масляный насос; 15 – поддон картера;
16 – маслоприемник; 17 – трубопровод; 19 – распределительные шестерни
Из второй и четвертой втулок распределительного вала масло пульсирующим потоком подается по каналу 5 в полые оси 7 коромысел. Смазка распределительных шестерен 19 осуществляется маслом, сливаемым из центрифуги.
Из полости, расположенной между пятой шейкой распределительного вала и заглушкой блока цилиндров, масло подается к приводу прерывателя-распределителя зажигания.
Для охлаждения масла при работе двигателя с большой нагрузкой или при температуре выше 20°С краном 2 включается радиатор 1, подключенный параллельно главной масляной магистрали. Масло в радиатор поступает через предохранительный клапан 3, который открывается при давлении 0,1 МПа и отводится по трубопроводу 17. Клапан 3 даже при открытом кране 2 автоматически закрывается и не пропускает масло в радиатор 1.
В системе смазки имеются два автоматически работающих редукционных клапана 4 и 13. Редукционный клапан 13 расположен в корпусе нижней секции насоса и предназначен для поддержания давления масла, подаваемого к центрифуге не выше 0,45 МПа. Лишнее масло при избыточном давлении поступает во всасывающую полость насоса. Клапан 4 главной масляной магистрали отрегулирован на давление 0,4 МПа. При более высоком давлении клапан открывается и часть масла сливается в поддон 15 картера.
Для контроля минимального давления масла в системе смазки служит сигнальная лампа на щитке приборов, включающаяся, когда давление падает до 0,04 МПа.
Вместимость системы смазки определяется типом двигателя и колеблется в пределах 4-30 л.
5 Неисправности системы смазки
Условие: Уровень в норме, масло соответствует модели двигателя и сезону.
1 Отсутствует давление масла
ü Повреждение привода масляного насоса.
ü Заедание редукционного клапана в открытом положении.
2 Пониженное давление масла
ü Разжижение топливом или охлаждающей жидкостью.
ü Перегрев двигателя.
ü Засорение фильтра предварительной очистки, засорение или заедание редукционного клапана (сливного или предохранительного) в открытом положении, засорение сетки маслоприемника насоса, неисправен датчик (на двигателе) или указатель (на щитке приборов) давления масла.
ü Износ деталей насоса.
ü Износ коренных и шатунных подшипников коленчатого вала.
ü Повышенное давление масла.
ü Засорение или заедание редукционного клапана в закрытом положении.
3 Повышенный расход масла
ü Течь масла (повреждение прокладок, ослабление соединений, износ сальников коленчатого вала).
ü Износ поршневых колец.
ü Засорение системы вентиляции картера.
Контрольные вопросы по теме:
1. Объясните назначение деталей и узлов системы смазки.
2. Объясните назначение и расскажите устройство масляного насоса.
3. Объясните назначение и расскажите устройство центробежного масляного фильтра.
4. Расскажите устройство и работу системы смазки.
5. Охарактеризуйте неисправности системы смазки.