Рельефа
Рис 1.9. Соотношение уровненных поверхностей геоида и сфероида с поверхностью
Рис.1. 8 Схема взаимодействия массы Земли с точечной массой.
Рис. 1. 7. Схема взаимодействия масс
Рис. 1. 7 Схемы изучения тенденций изменения физических свойств осадочных пород
Породы породы породы породы породы


углистой глинистой силикатной карбонатной рудной
группы группы группы группы группы
Б) Увеличение (уменьшение) физического параметра в зависимости от стадий преобразования осадочных пород

· Проектное задание раздела 1-А
1) Дать определение геофизики, как фундаментальной и прикладной науки.
2) Объяснить сущность возникновения естественных и создания искусственных геофизических полей.
3) Составить схему структуры разведочной геофизики.
4) Объяснить содержание полного цикла геофизических исследований.
5) Объяснить содержание прямой и обратной геофизических задач.
6) Составить логическую схему полевой геофизики, как информационно-измерительного тракта.
7) Дать определения геофизического и геологического разрезов и их трансформации.
8) Составить типовую классификацию горных пород для изучения физических показателей.
9) Перечислить и объяснить тенденции изменения геофизических параметров.
· Тесты рубежного контроля раздела 1-А
1. Вопрос: К какой группе наук относится геофизика?
Ответ: Науки о земле. Физико-математические науки. Биологические науки. Науки историко-археологические.
2. Вопрос: Что понимается под геофизическим полем?
Ответ: Физические явления на Земле. Материальная среда распределения физических потоков в зависимости от физических свойств геологических объектов. Поле солнечной и ветровой деятельности.
· Критерии оценки раздела 1-А
Коллоквиум.
· Литература к разделу 1-А
Основная:
1. Геофизика: учебник /Под ред. В.К. Хмелевского. - М.: КДУ, 2007. – С. 9-20.
2. Геофизические методы исследования. (Под редакцией В.К.Хмелевского). Учебное пособие. – М.: Недра, 1988. – С. 3-9.
3. Знаменский В.В. Общий курс полевой геофизики. Учебник. – М.: Недра, 1989. – С – 3-5.
Дополнительная:
1. Федынский В.В. Разведочная геофизика. Учебное пособие. – М.: Недра, 1967. – 6-42.
2. Огильви А.А Основы инженерной геофизики: Учеб. для вузов /Под редакцией В.А.Богословского. – М.: Недра, 1990. – С. 4-26.
Гравиразведка
Лекция 2. Тема: Краткая теория гравитационного поля и его изучение в гравиметрии и гравиразведке.
Гравиразведка один из основных разделов разведочной (полевой) геофизики, основанный на распределении в земной коре гравитационного поля с целью изучения строения земной коры, для решения геологических задач при поисках, оценки, разведки и эксплуатации полезного ископаемого в частности нефтегазовых месторождений.
Гравитационное поле - это поле силы тяжести, т.е. взаимодействия масс (соответственно) в материальной среде.
В основе лежит закон Ньютона
(1.1)
где F - сила притяжения, f - постоянная гравитационного поля и равняется 6,68*108*2 -1 см 3 сек-2, m1 и m2 - взаимодействующие массы, r - расстояние между m1 и m2.


Если m1 считать точечной массой, а m2 увеличить до массы Земли (Рис.8), то формула Ньютона примет вид:
(1.2)

где q/ - ускорение свободного падения Земли, значение которого составляет 9,81 м/с2.
В гравиразведке за единицу свободного падения принят 1мГл = 10-3 см/с2. Потенциал гравитационного поля описывается формулой:
(1.3)
Этот потенциал обладает свойством аддитивности (складываемости) и для суммы дискретных масс mi принимает вид:
(1.4)
Следовательно, для любого геологического объекта U может быть получен путем предельного перехода от суммы дискретных материальных точек к совокупности элементарных масс dm, из которых состоят геологические тела:
(1.5)
Поскольку в прямоугольной системе координат приращение массы является произведением плотности на объем, то есть dm =
*dx*dy*dz, то
(1.6)
Из формулы (1.6) следует, что U – является функцией плотности.
В гравиразведке измерения выполняются по параметру
- приращение силы тяжести в редукции Буге. Этот параметр является результирующим между аномальным gаном (измеренным) и нормальным gнор (теоретическим) значениями силы тяжести. Кроме того, в показания
вводятся поправки: 1) за свободный воздух
, 2) за промежуточный слой пород (толщу пород между точкой наблюдения поверхностью геоида или за поправку Буге
), 3) за рельеф
(рис.1.9).

h1,h2 - толщины слоев воздуха и пород, залегающих выше поверхности геоида
Измеренное значение силы тяжести gаном является частной производной от потенциала гравитационного поля в точке наблюдения:
gаном=
(1.7)
Параметр gнорм – представляет собой ускорение силы тяжести Земли, как сфероида малого сжатия. Последний описывается уровенной поверхностью, близкой к геоиду, который в свою очередь также является уровенной поверхностью свободной воды океанов.
Показатель gсв.возд. или gф (Фая) учитывается в гравиметрических измерениях как поправка за слой воздуха находящийся между точкой наблюдения и поверхностью геоида.
gф = 0,3086.h1 (1.8), где
h1 толщина слоя воздуха.
Параметр gб вводится в измеренные значения как поправка за промежуточный слой, который еще носит название поправки Буге. Поправка gб необходима в том случае если измерения производятся в точке, находящейся выше поверхности геоида и, следовательно, проявляется влияние толщи пород заключенных между поверхностью геоида и поверхностью рельефа (см. рис. 9).
gБ = -0,418
h2 (1.9), где
- средняя плотность, а h2 – толщина промежуточного слоя.
Поправка за рельеф
gр учитывается, если этот рельеф очень сложный, например в горной местности.
В конечном виде формула аномальной силы тяжести в редукции Буге включает разность значений наблюденного и теоретического полей и сумму поправок за свободный воздух, промежуточный слой и рельеф:
gб = gаном - gнорм + gф + gб + gр (1.10)
Как и любое геофизическое гравитационное поле может быть измерено путем специальных приборов. В основу их функционирования положено физическое явление притяжения. Следовательно, измерения могут быть выполнены путем маятниковых наблюдений, наблюдение процесса растягивания или кручения пружин, времени падения грузов. Эти измерения разделяются на относительные и абсолютные, среди которых преимущество получили первые, которые более легко реализуются в практике полевых гравиразведочных работ. Абсолютные же измерения требуют очень высокой точности и могут осуществляться только в специальных обсерваториях. Достаточно сказать, что для достижения точности в 0,1 мГал в маятниковых приборах необходимо определить длину маятника с точностью < 0,7 мкм, а время измерять с точностью сотых долей наносекунд (10-7с). Кроме того следует вводить поправки за свободный воздух, температуру и ход хронометра (колебания маятника).
В основу маятниковых приборов положена формула Гюйгенса:
(1.11), где
Т – период; l - длина
В методе свободного падения грузов используется формула:

, (1.12), где
S – высота падения груза, t – время падения груза.
Относительные измерения характеризуются тем, что ведутся по отношении к одной выбранной базовой точке, обычно привязанной к какому-либо триангуляционному пункту. Приборы для таких измерений носят название гравиметров. В отечественной практике их два основных вида:
1) Маятниковый;
2) Астазированый (на основе кручения упругой нити).
В основу маятниковых приборов положена та же формула, что и для абсолютных измерений. Отличие в том, что эти приборы используют в совокупном виде от двух до шести и более маятников. Этим за счет разностных колебаний каждой пары маятников, исключается необходимость учета длины этих маятников. То есть, при расчетах gi по формуле:
(1.13), где
(T1/2)o=√ℓ/go, а (T1/2)i=√ℓ/gi (1.14),
показатель ℓ уничтожается.
Маятниковые гравиметры эффективны при измерениях в движении, в частности на морских суднах.
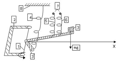
Основной тип гравиметров - это астазированные. Механизм их действия поясняется схемой на рис. 1.10.
Конструкция гравиметра помещается в сосуд Дюара, с тем, чтобы максимально снизить влияние температуры воздуха, влажности, ветровых воздействий и т.д. Работа системы осуществляется таким образом, что при размещении гравиметра в точке измерения на массу (m) главного рычага воздействует сила притяжения. Пропорционально ей изменяется угол . Этот, угол тарируется (размечается) делениями микрометрического винта. Последний регулирует действие измерительной пружины. При этом роль главной пружины заключается в поддержании равновестности рычажной системы. Диапазонная пружина предназначена для искусственного увеличения угла . Эта операция называется астазированием, что и предопределило название гравиметров. Астазированием достигают высокой точности измерений (до 0,01 мГал). Визуализация микрометрических меток осуществляется с помощью оптической системы.
Рис. 1.10. Схема механизма действия астазированных гравиметров
1 - упругая кварцевая нить, 2 - рамка крепления нити, 3 - главный рычаг с массой m, 3’ - дополнительный рычаг жестко связанный с главным, 4 - главная пружина, 5 - диапазонная пружина -,
6 - измерительная пружина, 7 - микрометрические винты, 8 - корпус прибора
К другим типам гравиметрических приборов относятся вариометры и градиентометры. Они измеряют вторые производные гравитационного потенциала. Их основа - крутильные весы (Рис.1. 11).
