Релейные регуляторы.
Двухпозиционные регуляторы, или Рп2-регуляторы - это приборы выходная величина которых может принимать только два установившихся значения. Характеристика двухпозиционного регулятора (рис.3.6, а), отражающая зависимость выходной величины у от входной х, представляющей собой разность между текущими значениями регулируемой величины и ее заданным Х0 значением, определяется выражением:

где В - регулирующее воздействие регулятора. Характеристика имеет зону неоднозначности, равную 2а.
В установившемся режиме при поступлении на вход одноемкостного объекта с самовыравниванием ступенчатого воздействия В (рис.3.6, в) регулируемая величина будет изменяться по экспоненциальному закону:

где ko6, Тоб - соответственно коэффициент усиления и постоянная времени объекта.
Регулируемая величина в процессе регулирования колеблется относительно заданного значения с максимальной амплитудой отклонения Ag (рис.3.6, 6). Если значение регулируемой величины меньше заданного с учетом зоны неоднозначности, то регулирующее воздействие у - В, что обеспечивает полнее поступление энергии в объект. При этом регулируемая величина будет повышаться.

Рис.3.6. Переходные процессы в системе с двухпозиционными регуляторами: а - статическая характеристика двухпозиционного регулятора с зоной неоднозначности; б - переходные процессы, в системе регулирования без запаздывания; в - переходные процессы в двухпозиционном регуляторе
После того как X превысит заданное значение Х0 на величину а, регулирующее воздействие у=-В и доступ энергии в объект .прекратится. Регулируемая величина начнет уменьшаться до тех пор, пока не станет меньше заданной на величину а. Затем процесс повторяется. Установившееся состояние отсутствует. Регулятор не может удержать параметр X на уровне, равном заданному Х0.
Диапазон колебаний, или динамическая ошибка, определяется следующим образом:

Из этого выражения находится длительность импульсов:

Период установившихся колебаний:

Частота переключений регулятора n=2/Тк.
Из этих уравнений следует, что снижение нечувствительности приводит к уменьшению периода колебаний и увеличению числа переключений регулятора. Уменьшение числа переключений возможно за счет понижения энергии, коммутируемой регулятором. Однако это может привести к недокомпенсации возмущающих воздействий на объект. Увеличение постоянной времени объекта также увеличивает период колебаний и уменьшает частоту переключений регулятора.
Трехпозиционные регуляторы, или Рп3-регуляторы – это приборы, выходная величина которых может принимать три установившихся значения. Они отличаются от двухпозиционных формами статических характеристик релейных устройств и способами подвода энергии в объект регулирования.

Рис.3.7. Статические характеристики трехпозиционного регулятора: а - с зоной нечувствительности; б - с зоной нечувствительности и неоднозначности
Кроме режимов максимального подвода энергии при у=В и отсутствии подвода энергии при у=-В, Рп3-регуляторы позволяют устанавливать промежуточную мощность при у=0. Статическая характеристика трехпозиционного регулятора, имеющего зону нечувствительности 2ε (рис.3.7, а), определяется выражением:

Для регуляторов с релейными устройствами, имеющими, кроме зоны нечувствительности, еще и зоны неоднозначности (рис.3.7, б):

Характер регулирования аналогичен процессам в системах с Рп2-регуляторами, но с меньшими значениями амплитуды отклонений Ag. Кроме того, при выборе промежуточной мощности, достаточно близкой к номинальной потребляемой, возможно осуществлять регулирование не только с меньшими Ag, но и удерживать величину X в пределах зоны нечувствительности более длительное время, не образуя периодических колебательных процессов при достаточной ширине зоны нечувствительности.
Регуляторы постоянной скорости, или Рс-регуляторы, обеспечивают трехпозиционное управление исполнительными механизмами в соответствии с выражением:

где ε - половина зоны нечувствительности релейного устройства; 1/Тим - максимальное значение скорости перемещения исполнительного механизма (Тим - время полного хода).
Рс-регулятор работает следующим образом. При значении регулируемой величины X<Х0-ε(X>Х0+ε) исполнительный механизм включен и с максимальной скоростью перемещает регулирующий орган в направлении, обеспечивающем повышение (уменьшение) величины X. В пределах зоны нечувствительности регулятор не реагирует на величину и направление изменения ошибки. Статическая характеристика такого регулятора может быть представлена как зависимость скорости изменения регулирующего воздействия dy/dx от величины ошибки (рис.3.8).

Рис.3.8. Статическая характеристика регулятора постоянной скорости
Максимальная статическая ошибка Рс-регулятора, как и у всех видов релейных регуляторов, σ>ε. Динамическая ошибка определяется свойствами объекта, значениями максимальной скорости перемещения исполнительного механизма и шириной зоны нечувствительности релейного устройства. Величины максимального значения скорости 1/Тим и зоны нечувствительности 2ε являются параметрами настройки регулятора.
В регуляторе постоянной скорости предусмотрены системы измерения, элементы сравнения измеренного и заданного значений регулируемой величины и трехпозиционный релейный элемент с ограниченной регулируемой зоной нечувствительности. Формирование Рс-закона регулирования осуществляется электрическими позиционными устройствами вторичных электронных приборов, работающих в комплекте с исполнительными механизмами, которые имеют постоянную скорость при ±x≥±ε, вне зависимости от величины поступившего в объект возмущающего воздействия.
Регуляторы с переменной структурой – этоприборы, содержащие ключевые (релейные) элементы, которые в соответствии с выбранным законом размыкают или восстанавливают различные каналы передачи информации. Структурная схема регулятора меняется в течение переходного процесса таким образом, чтобы обеспечить высококачественное выполнение задач управления.
В общем виде регулятор с переменной структурой (рис.3.9) можно представить в виде трех функциональных элементов: измерительного устройства ИУ, формирователя функции переключения ФФП и блока коммутируемых коэффициентов БД.
Назначение измерительного устройства ИУ состоит в преобразовании сигнала Х0, пропорционального заданному значению регулируемой величины, и сравнении его с измеренным значением X регулируемой величины. Сигнал ошибки х1=Х0-X с выхода блока ИУ поступает на блоки БК и ФФП.

Рис.3.9. Структурная схема регулятора с переменной структурой
Блок ФФП формирует функцию переключения s. Преобразование структуры регулятора осуществляется в момент перехода через нуль функции s, заданной уравнением
s=c1x1+c2s2
В блоке ФФП сигнал ошибки хх дифференцируется и величина х2 = dxχΙdτ поступает на выходной суммирующий усилитель с релейной характеристикой. Требуемое соотношение коэффициентов с1и с2 обеспечивается введением на второй вход усилителя дополнительного сигнала х1 с соответствующим коэффициентом. Функция s преобразуется выходным усилителем в релейный сигнал Usgns, являющийся выходным сигналом блока ФФП.
Блок БК формирует управляющее воздействие U и осуществляет скачкообразное изменение структуры регулятоpa в соответствии с логическим законом, записываемым в виде:

где α2,- β2 - коэффициенты каналов регулятора; г - любая из коммутируемых координат х1, у или U.
Этот блок состоит из логических переключающих устройств (ЛПУ), реализующих закон регулирования и выходного сумматора, на котором формируется управляющее воздействие U. В зависимости от вида решаемой задачи в БК могут использоваться от одного до трех ЛПУ, Соответственно этому управляющее воздействие U будет представлять собой комбинацию одного, двух или трех сигналов вида
U = ψ2z
Характерно наличие в регуляторе с переменной структурой блока БК, который обеспечивает скользящий режим работы в требуемых областях фазового пространства (х1, х2), в то время как другие типы регуляторов содержат блоки, аналогичные ИУ и ФФЛ.
Для примера можно назвать пневматический регулятор с переменной, структурой ПР5.1. Он подразделяется на регулирующую и логическую части. Первая реализует стандартный ПИ-закон регулирования для двух режимов - умеренного и форсированного. Вторая - в зависимости от величины рассогласования между заданным и текущим значениями регулируемого параметра и скорости изменения этого рассогласования осуществляет автоматическое скачкообразное изменение настроек регулирующей части (предела пропорциональности и времени изодрома), т.е. переход работы регулятора с одного режима на другой в зависимости от знака выражения:
s=±a(xl)i-Tи(x2),
где x1 - величина рассогласования (сигнал ошибки); х2 - скорость изменения рассогласования; а - коэффициент пропорциональности (величина безразмерная); Та - коэффициент пропорциональности (мин), аналогичный постоянной времени дифференцирования. Коэффициенты а и Тп являются настроечными параметрами логической части регулятора.
Регулятор ПР5.1 предназначен для работы на объектах, подверженных частым и значительным возмущениям и имеющих большие времена запаздывания, на которых применение обычных регуляторов не дает удовлетворительных результатов.
Импульсные регуляторы – эторегуляторы дискретного действия, в структуре которых имеется импульсный элемент, преобразующий непрерывно изменяющуюся регулируемую величину в последовательность импульсов. Параметры импульсов меняются в соответствии со значениями входной величины модулирующего сигнала. Модулируемым параметром для последовательности импульсов на выходе импульсного элемента может быть амплитуда импульса, его ширина и интервал времени между импульсами. В соответствии с этим различают три вида модуляции импульсов:
1) амплитудно-импульсную (АИМ), при которой модулируемым параметром, зависящим от значения входного сигнала хвх (рис.3.10, а) вначале очередного периода Ти повторения импульсов, является высота (амплитуда) импульсов А (рис.3.10, б);
2) широтно-импульсную (ШИМ), при которой модулируемым параметром является ширина импульса Ти(рис.3.10, в);
3) время-импульсную (ВИМ), которая подразделяется на фазоимпульсную (рис.3.10, г) и частотно-импульсную. В первом случае модулируемым параметром является величина запаздывания Т3 импульса относительно начала периода. Во втором - частота fи=1/Ти следования импульсов.
Импульсные регуляторы по сравнению с непрерывными имеют следующие преимущества, обусловленные прерывистым характером передачи сигналов между отдельными частями системы управления: возможность многоточечного управления; многократное использование линий связи; повышенную помехозащищенность. Кроме того, импульсные регуляторы могут применяться для управления объектами с запаздыванием, когда другие типы регуляторов не подходят.

Рис.3.10. Виды импульсной модуляции
В тех случаях, когда объекты управления многочисленны, характеризуются большими постоянными времени, малыми скоростями изменения переменных, целесообразно управлять с помощью одного импульсного регулятора путем его циклического подключения последовательно к каждому объекту. Промежуток времени между двумя очередными импульсами, поступающими на один и тот же объект, используется для обмена дискретными сигналами с другими объектами. В результате система управления существенно упрощается по сравнению со случаем применения для каждого объекта отдельного регулятора.
Цифровые регуляторы – это приборы, в которых информация об управляющем сигнале хотя бы в одном из блоков выражается в цифровом коде и для ее обработки используют средства цифровой вычислительной техники. Для представления сигнала в цифровом коде в регуляторе осуществляется квантование сигнала по времени и по уровню
Цифровые регуляторы обладают следующими достоинствами:
- высокой точностью измерения регулируемой величины, зависящей от числа разрядов используемого цифрового кода;
- пониженной чувствительностью к помехам на всех стадиях преобразования сигнала;
- возможностью использования в качестве регулирующего устройства ЦВМ и УВМ;
- возможностью использования любого из алгоритмов регулирования;
- способностью автоматически обнаруживать и исправлять возникающие при обработке сигналов ошибки и искажения.
Такие регуляторы обычно многоканальные и используются для управления большим количеством объектов посредством машин централизованного контроля и управления.
Работа цифрового регулятора определяется его динамическими свойствами, для описания которых можно применить законы регулирования линейных идеальных регуляторов. Однако в цифровых регуляторах законы регулирования вырабатываются в цифровой форме. При воспроизведении регулирующих воздействий в цифровой форме операции интегрирования и получения производной соответственно заменяются операциями суммирования и вычисления разности.
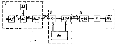
В общем случае цифровой регулятор состоит из входных устройств, вычислителя и выходных устройств. Структура всех этих устройств и структурная схема цифрового регулятора в основном зависят от закона регулирования и способа его реализации. На рис.3.11 приведена одна из возможных структурных схем цифрового регулятора.

Рис.3.11. Структурная схема цифрового регулятора
Входное устройство I представляет собой совокупность блоков, предназначенных для получения электрических сигналов, пропорциональных текущему и заданному значениям регулируемой величины, сравнения этих значений и получения в цифровой форме сигнала ошибки х*[пТ]. Текущие значения регулируемой величины определяются при помощи аналогового датчика АД с выходным сигналом в виде тока или напряжения. Последний поступает на вход аналогового блока отклонения АО и сравнивается в нем с сигналом аналогового блока задания A3. Сигнал ошибки в аналоговой форме поступает на вход аналого-цифрового преобразователя АЦП, в котором осуществляется его квантование по уровню и во времени.
Вычислительное устройство II представляет собой совокупность различных вычислительных блоков, запоминающих элементов и логических устройств, которые обеспечивают вычисление управляющего воздействия в соответствии с принятым законом регулирования. Вычислительное устройство включает в себя следующие блоки: настройки БН; цифровых операторов БЦО; управления БУ. Блок настройки БΗ предназначен для хранения коэффициентов настройки k1 - k3. Блок управления БУ обеспечивает последовательность работы всех блоков цифрового регулятора и представляет собой систему логических устройств, формирующих последовательность командных импульсов. Блок цифровых операторов БЦО выполняет основные операции по вычислению отдельных составляющих закона регулирования. В зависимости от способа кодирования входной величины существуют различные варианты схем вычисления закона регулирования. Все эти схемы состоят из типовых элементов цифровой техники: реверсивных счетчиков, схем сравнения и др. На выходе вычислительное устройство выдает управляющее воздействие у*[пТ] в цифровой форме.
Выходное устройство III состоит из блоков и устройств, при помощи которых осуществляется воздействие на регулируемый объект в соответствии с выходным сигналом вычислительного устройства. Оно включает в себя: цифро-аналоговый преобразователь ЦАП, усилитель У и исполнительный механизм ИМ. Цифро-аналоговый преобразователь в моменты времени τ = Τ, 2Τ, ..., пТ. преобразует управляющий сигнал у* [ιΤ] в пропорциональное значение длительности импульса τi, в течение которого исполнительный механизм отрабатывает этот управляющий сигнал. Успехи в развитии вычислительной техники позволили широко использовать мини-ЭВМ при создании систем непосредственного цифрового управления.
Экстремальные регуляторы (или оптимизаторы) – это автоматическое устройство, обеспечивающее отыскание и поддержание таких значений входных переменных у1, у2, ..., уп объекта управления, при которых его выходная переменная X достигает наибольшего или наименьшего (экстремального) значения.
Такие регуляторы применяются в системах автоматической оптимизации (САО) работы отдельных агрегатов или технологических процессов в металлургическом производстве, например для оптимизации теплового режима методических печей при нагреве металла перед прокаткой, в системе управления нагревательного колодца и др.
В отличие от обычных систем регулирования в системах САО не известно заданное значение регулируемой величины. Поэтому их задача принципиально сложнее и заключается в автоматическом поиске такого управляющего воздействия, которое обеспечивает максимум (минимум) регулируемой величины. Задача поиска экстремума разбивается на две части:
1) определение градиента или отклонений от точки экстремума (изучение объекта);
2) организация движения к точке экстремума.
Для решения задачи поиска экстремума предложено большое число различных способов. Рассмотрим наиболее распространенные из них и соответствующие им структурные схемы экстремальных регуляторов.
Экстремальный регулятор с запоминанием экстремума. Этот регулятор реагирует на разность между наибольшим, достигнутым в предыдущие моменты времени, значением выходной величины и текущим значением X.
Структурная схема экстремальной системы с запоминанием экстремума представлена на рис.3.12, а. Экстремальный регулятор ЭР включает в себя: запоминающее устройство ЗУ, фиксирующее только увеличение величины X; устройство реверса УР, представляющее собой сигнум-реле (реле знака изменения сигнала на выходе объекта управления); исполнительный механизм ИМ, воздействующий на входной сигнал у объекта управления ОУ.

Рис.3.12. Структурная схема и диаграмма работы экстремального регулятора с запоминанием экстремума
Выходная величина объекта X подается на запоминающее устройство регулятора и запоминается им, если происходит увеличение X при воздействии на объект управляющего воздействия у. Сигнал Х3 с запоминающего устройства непрерывно подается на элемент сравнения ЭС, где сравнивается с текущим значением сигнала X. Сигнал разности (X-Х3) с выхода элемента сравнения поступает на устройство реверса. При достижении этой разности значения, попадающего в зону нечувствительности сигнум-реле, последнее срабатывает и производит реверс исполнительного механизма, воздействующего на объект. При этом запомненное в предыдущий момент значение Х3 стирается и осуществляется запоминание нового текущего значения X.
Диаграмма, поясняющая работу регулятора с запоминанием экстремума, приведена на рис.3.12, б. В момент включения регулятора τ1 экстремальное значение Хтах выходной величины объекта управления неизвестно, а его состояние характеризуется входным сигналом ух и выходным Х1. Запоминающее устройство в этот момент запоминает сигнал Х1 После включения в работу экстремальный регулятор может либо увеличивать значение у (при этом значение X уменьшается), либо уменьшать (значение X увеличивается). Предположим, что регулятор начал уменьшать значение у. Исполнительный механизм непрерывно работает с постоянной скоростью, воздействуя на объект и увеличивая значение X. Рабочая точка движется к экстремуму (участок кривой 1-2).
Если система достигла экстремума (точка 2)и продолжает функционировать в том же направлении, то значение X уже уменьшается, а запоминающее устройство запоминает Хтах. В точке 2, когда разность между Х2 и Хтах достигает зоны нечувствительности сигнум-реле Хи, происходит реверс исполнительного механизма и сброс запомненного значения Хmах. При этом воздействие исполнительного механизма на объект увеличивает X и рабочая точка снова перемещается к экстремуму (участок кривой 3-4). Затем последовательность работы схемы повторяется. В результате устанавливается автоколебательный режим работы регулятора около точки экстремума. Из рис.3.12, б видно, что период колебаний Твх входной величины объекта в два раза больше, чем период колебаний Твых выходной величины.
Шаговый экстремальный регулятор – это регулятор, изменяющий управляющее воздействие уступенчато. Первоначально производится принудительное изменение у в какую-нибудь сторону на некоторую величину шага ∆у. Значение X в конце шага сравнивается с тем, которое было в начале. В зависимости от знака разности этих значений определяется новое направление изменения у.
Структурная схема шаговой экстремальной системы приведена на рис.3.13, а. Экстремальный регулятор ЭР включает в себя: элемент запоминания (запаздывания) е-pT , запоминающий значение выходной величины X объекта управления на время Т; сигнум-реле СР, осуществляющее реверс исполнительного механизма ИМ; два импульсных элемента ИЭ1 и ИЭ2, работающих синхронно.

Рис.3.13. Структурная схема и диаграмма работы шагового экстремального регулятора
Выходная величина объекта X подается на импульсный элемент ИЭ1, осуществляющий ее квантование по уровню. Выходной сигнал ИЭ1 представляет" собой последовательность импульсов, высота которых пропорциональна значениям X в дискретные моменты времени τ=nΤ (Τ - период повторения импульсного элемента). Обозначим значение X в момент времени τ=пТ через Хп. Тогда на элемент сравнения ЭС в соответствии со схемой подаются значения Хп-1 и Хп. На выходе ЭС получается сигнал разности ∆Х=Хп-Χn-1. В следующий момент времени τ=(n+1) Τ значение Xn-1 сбрасывается с элемента сравнения и запоминается Хп-1.При этом на ЭС подаются уже значения Хп и Хп+1.
На сигнум-реле поступает сигнал, пропорциональный приращению ΔΧ выходной величины объекта за отрезок времени Т. При ΔΧ>0 сигнум-реле не меняет направление вращения исполнительного механизма, а при ΔΧ<0 производит его реверс. Импульсный элемент ИЭ2 осуществляет периодическое размыкание цепи питания исполнительного "механизма. Изменение входного сигнала объекта целесообразно производить быстро, чтобы время перемещения исполнительного механизма за один шаг было достаточно мало. При этом возмущения, вносимые в объект исполнительным механизмом, будут приближаться к скачкообразным.
На рис.3.13, б приведена диаграмма, поясняющая работу шагового регулятора. Из точки 1 в момент времени τ1регулятор может произвести шаговое изменение Δy либо вправо, либо влево. В последнем случае ΔΧ<0 и произойдет реверс исполнительного механизма. При движении вправо исполнительный механизм на шаг Δy увеличивает входной сигнал объекта, что вызывает увеличение выходного сигнала X. Так как ΔX1=Х2 - Х1>0, исполнительный механизм в момент времени τ2 производит шаг в ту же сторону.
Движение рабочей точки к экстремуму осуществляется ступенчато. При этом, если шаг изменения управляющего воздействия конечен, система всегда перейдет экстремум. В момент времени τ4 приращение выходного сигнала объекта ΔΧ3=Х5-Х4 станет отрицательным, сигнум-реле сработает и следующий шаг Δy исполнительный механизм сделает в сторону уменьшения входного сигнала у. Таким образом, около точки экстремума установятся автоколебания, частота и амплитуда которых будут зависеть от параметров объекта, настроек регулятора (периода повторения Τ и величины шага Δy) и начальных условий работы.
В настоящее время выпускаются следующие пневматические экстремальные регуляторы (или их аналоги): АРС-2-0 - запоминание экстремума (максимума или минимума); АРС-1-ОН - шаговый поиск максимума регулируемой переменной; АРС-2-ОИ - шаговый поиск максимума или минимума регулируемой переменной.
Адаптивные регуляторы. Многие технологические процессы и агрегаты в металлургии относятся к классу нестационарных с изменяющимися во времени динамическими характеристиками. Поэтому автоматические системы регулирования (АСР), в которых применяют регуляторы с фиксированными параметрами, не могут обеспечить высокое качество, а иногда даже и просто устойчивого управления. В связи с этим в последние годы при реализации АСР обращаются к принципу адаптивного управления, создавая самонастраивающиеся системы (СНС) с применением адаптивных регуляторов, выполненных на базе элементов и средств цифровой вычислительной техники.
Принцип работы СНС заключается в следующем. Для системы задается некоторый функционал качества Q3, который в общем случае зависит от параметров системы и внешних воздействий. В процессе работы функционал качества изменяется при изменении входных воздействий и динамических характеристик объекта. Самонастройка сводится к решению двух основных задач:
1) стабилизации динамических или статических характеристик системы управления, т. е. обеспечения условия Q = Q3 или Q ≤ Q3 (Q — текущее значение функционала качества);
2) оптимизации динамических или статических характеристик системы управления, т.е. обеспечения условия Q=Qmin. .
Отыскание оптимума функционала осуществляется путем поиска. При этом вектору управления или вектору перенастраиваемых параметров регулятора задается приращение и оценивается отклонение меры качества, в зависимости от которого осуществляется соответствующее изменение этих векторов. Самонастраивающиеся системы такого типа получили название поисковых.
Обычно на практике чаще используют беспоисковые СНС, в которых обеспечение условий Q=Q3 или Q=Qmin осуществляется на основе принципа управления по отклонению или возмущению с использованием эталонной модели основного контура управления, включающего в себя объект управления и регулятор с настраиваемыми параметрами. При номинальном режиме работы системы параметры объекта и настроечные параметры регулятора обеспечивают близость динамических характеристик основного контура к характеристикам эталонной модели. При отклонении параметров объекта от номинальных необходимо перестроить параметры регулятора так, чтобы динамические характеристики основного контура совпали с характеристиками эталонной модели.
В беспоисковых СНС управление настройкой параметров усложнено по сравнению с несамонастраивающимися системами управления. Это обусловлено трудностями создания датчиков параметрических отклонений.
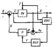
На рис.3.14приведена структурная схема беспоисковой СНС по отклонению. Кроме основного контура (ОУ, Р), данная схема содержит эталонную модель системы ЭМС и вычислительное устройство ВУ, которое на основании информации о входных воздействиях g и f, выходных координат модели хм и объекта X, а также заданного значения регулируемой величины Х0 вычисляет значения, составляющих вектор ν, настраиваемых параметров регулятора Р. Адаптация в данной системе осуществляется с помощью замкнутого контура обратной связи. Применение при этом компенсационных сигналов по внешним возмущающим воздействиям обеспечивает повышение качества адаптации.

Рис.3.14. Структурная схема беспоисковой СНС по отклонению
На рис.3.15 приведена структурная схема беспоисковой СНС по возмущению. Данная система состоит из основного контура, блока оценки параметров объекта управления БОП и блока настройки параметров регулятора БНП. Управление в такой системе осуществляется на основе беспоисковой оценки параметров объекта ОУ и настройки регулятора по разомкнутому циклу. Этот тип адаптивных систем особенно эффективен, если удается выделить один технологический параметр, от которого зависят все настраиваемые параметры регулятора.

Рис.3.15. Структурная схема беспоисковой СНС по возмущению