Устройство и принцип действия поршневого насоса
Поршневые насосы
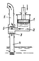
Насос прямого действия показан на рис. 11.9.

Рис. 11.9. Поршневой насос прямого действия: 1 – поршень, 2 – цилиндр; 3 – клапан; 4 – всасывающий патрубок; 5 – нагнетательный клапан; 6 - нагнетательный патрубок
Принцип действия насоса состоит в следующем.
Когда поршень 1 идет вверх, под ним образуется разреженное пространство, кото-
рое заполняется перекачиваемой жидкостью, поднимающейся в цилиндр 2 через клапан 3 по всасывающему патрубку 4.
При обратном ходе поршня жидкость в цилиндре сдавливается, в результате чего закрывается всасывающий клапан 3 и открывается нагнетательный клапан 5. Так, с каж-
дым ходом поршня вниз через нагнетательный патрубок 6 в систему подается определен-
ное количество жидкости.