Конструкции капиллярных вискозиметров и работа на них
Вискозиметры капиллярного типа применяются для определения вязкости материалов, обладающих относительно небольшой ее величиной: мясокостного бульона, крови и топленого жира, подсолнечных и соевых мисцелл, растворов мыла, миндального, а арахисового масел, кондитерского жира. Капиллярные вискозиметры не имеют недостатка, присущего ротационным вискозиметрам: в капилляре непрерывно подвергается сдвигу вновь поступающая жидкость, и тепловыделения уносятся с материалом, тогда как в ротационных вискозиметрах один и тот же испытуемый материал находится в зазоре вискозиметра в течение всего опыта. Теория капиллярных вискозиметров была разработана несколько позднее, чем теория ротационных вискозиметров.
Одно время отрицали применимость капиллярных вискозиметров для определения реологических свойств материалов при сдвиге, ибо в капилляре происходит неоднородный или менее однородный, чем в ротационных вискозиметрах, сдвиг материала.
В капиллярных вискозиметрах задаются либо постоянным во всех опытах расходом исследуемой жидкости, либо постоянным перепадом давления в капиллярах. В вискозиметрах с постоянным расходом измеряется перепад давления между концами капилляра, в приборе с постоянным давлением – расход материала.
Каждый вискозиметр состоит из следующих частей: емкости для исследуемого материала, калиброванного капилляра, приспособлений для определения и регулирования давления, определения скорости течения (или истечения) материала, определения температуры.
Принцип действия капиллярных вискозиметров основан на непрерывном сдвиге в капилляре вновь поступающей жидкости и постоянном уносе с материалом выделяющейся теплоты. Капиллярные вискозиметры имеют размер капилляра от 0,3 до 0,7 мм, что позволяет измерять вязкость в широком диапазоне. При выборе вискозиметра следует иметь в виду, что время вытекания жидкости должно составлять от 1 до 3 мин. В противном случае точность определения вязкости будет низкой.
Капиллярные вискозиметры можно разделить на три группы:
W стеклокапиллярные,
W цилиндр – поршень
W приборы истечения, постоянного и переменного уровня
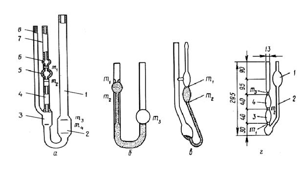
К первой группе приборов относятся простейшие вискозиметры, представляющие собой U – образные трубки, в одно из колен которых помещен капилляр (ВПЖ-1, визкозиметр Уббелоде, Оствальда). В вискозиметре Уббелоде, представленном на рисунке 6а, для истечения жидкости необходимо в одном из колен принудительно создавать давление или разрежение. Капилляр в приборе располагается вертикально, что представляет определенные трудности при работе с жидкостями, обладающими значительной вязкостью и поверхностным натяжением. Далее трубки соединяются с атмосферой, и определяется время истечения жидкости из резервуара через капилляр в резервуар. Время истечения отсчитывается при снижении уровня жидкости в трубке с резервуарами от риски m1 до m2. Зная время истечения жидкости, находят измеряемую вязкость.

а – Убеллоде; б – Оствальда; 1 – емкость для измерения количества
протекающей через капилляр жидкости; 2 – капилляр; 3 – емкость для сбора
жидкости.
Рисунок 5 – Капиллярные вискозиметры
Капиллярные вискозиметры ВПЖ (типа Уббелоде) позволяют определять кинематическую вязкость жидкости в диапазоне от 0,6 до 104 мм2/с при температуре не выше 100 °С. Измерение вязкости сводится к определению времени истечения через капилляр заданного диаметра определенного количества жидкости из измерительного резервуара.
В вискозиметре Оствальда (рисунок 6б) перетекание жидкости из одного колена в другое происходит под воздействием гидростатического давления из емкости с рисками (m1 - m2) исследуемый материал протекает через капилляр. При работе на вискозиметре Оствальда подбирают такой объем испытуемой жидкости, чтобы после заполнения левого колена до верхней метки в нижней части правой емкости едва выступал мениск жидкости. Прибор помещают в термостат и укрепляют его вертикально. Жидкость термостатируют 20 -25 мин, после чего с помощью резиновой трубочки ее засасывают в левое колено до такого положения, чтобы мениск был на 2 - 3 мм выше верхней метки, и дают жидкости свободно стекать через капилляр. Когда мениск будет на уровне метки, включают секундомер и измеряют время прохождения жидкости между метками. Вязкость на приборах Уббелоде и Оствальда обычно определяют по отношению к известной вязкости стандартной жидкости (вода, касторовое масло, глицерин). Вязкости двух жидкостей, измеренные при равных условиях в одном и том же капилляре, будут относиться как

где η0, η - вязкость соответственно стандартной и исследуемой жидкости, Па·с; ρ0, ρ - плотность соответственно стандартной и исследуемой жидкости, кг/м3; τ0, τ - время истечения соответственно стандартной и исследуемой жидкости, с.от уровня m1 до уровня m2.

Рисунок 6 – Капиллярные стеклянные вискозиметры
На вискозиметре Оствадьда - Фенске (рисунок 6в) можно определять вязкость в пределах от 1 до 8000 мм2/с, находя время перемещения материала от уровня m1 до уровня m2.
Вискозиметр Канон - Фенске (рисунок 6г) применяется для определения вязкости непрозрачных материалов. Он имеет набор да одиннадцати капилляров диаметром от 0,3 до 4 мм, что позволяет определять скорость сдвига в пределах от 1 до 20000 с-1, кинематическую вязкость - в пределах от 0,6 до 10000 мм2/с. Испытание заключается в определении времени перемещения материала из емкости 1 через капилляр 2 сначала до уровня m1; а затем до m2 и m3.Постоянные капилляра разные для емкостей 3 и 4, что необходимо учитывать при расчете вязкости. В лабораторной практике используются стеклянные вискозиметры многих авторов, причем во всех приборах перемещение материала происходит или под действием собственной массы, или под действием внешнего вакуума. Общим для всех приборов этого типа является наличие капилляра, устройства для измерения расхода или объема жидкости и системы, обеспечивающей создание гидростатического давления. В качестве капилляра может быть использована, трубка диаметром от долей миллиметра до 2 - 3 мм для измерения вязкости ньютоновских и маловязких неньютоновских жидкостей. Получаемые результаты, как правило, инвариантны, т.е. не зависят от диаметра трубки. Для неньютоновских жидкостей с более высокой вязкостью и вязкопластичных систем диаметр может достигать 10 мм и более, а результаты измерений зачастую зависят от диаметра, т.е. неинвариантны. Термостатирование исследуемой жидкости в приборах занимает 10 – 3 мин, что определяется ее объемом. За это время температура жидкости в приборе достигает температуры жидкости в термостате и восстанавливается структура, т.е. создаются условия, идентичные предыдущему измерению. При кратковременном термостатировании температурные ошибки дают существенные отклонения результатов измерения вязкости от истинных ее значений. Использование избыточного давления при течении жидкости по капилляру создает возможность турбулизации потока, поэтому необходимо проводить проверку на ламинарность по критерию Рейнольдса.
Вискозиметры ВПЖ-1, ВПЖ-2 и ВПЖ-4 рекомендуется использовать для оценки качества желатина по его вязкости. Измерения следует проводить при температуре 40 °С и концентрации 10 %. Прибор ВПЖ-1 позволяет определять вязкость мелассы и мелассных растворов при изменении температуры от 20 до 120 °С и концентрации сухих веществ от 7 до 79 %. С помощью вискозиметра Оствальда изучалась зависимость вязкости от температуры для мясокостного бульона и технической дефибрированной крови, виноградного сока, а также вязкость водно-спиртовых и водно-спиртово- сахарных растворов. В области температур 40 - 95 °С зависимость вязкости мясокостного бульона от температуры описывается степенным уравнением. С увеличением температуры и уменьшением концентрации сухих веществ вязкость бульона снижается. Например, при концентрации 16 % вязкость равна 6,67·10-3 Па·с, а при 90 °С - 2,69·10-3 Па·с. Вязкость топленого говяжьего жира при температуре 50 °С равна 29·10-3 Па·с, а при 90 °С - 10·10-3 Па·с, вязкость рыбьего жира соответственно равна 11,5·10-3 и 3,7·10-3 Па·с.
Ко второй группе относятся приборы, в которых течение материала происходит за счет, гидравлического, пневматического или механического перемещения поршня в цилиндре. (Визкозиметр типа Арвесон, Азарова и др.). Такие вискозиметры можно использовать для изучения как ньютоновских, так и неньютоновских материалов.
Вискозиметр типа Арвесон с гидравлическим приводом (рисунок 7а) состоит из цилиндра 5, поршня 3, перемещение которого происходит от нагнетаемой жидкости 2. Привод шестеренного насоса 7 осуществляется от электродвигателя 8. Давление в гидравлической системе контролируется манометром 1. Изучаемая масса 4 при помощи поршня 3 продавливается через капилляр 6, при этом замеряются давление и скорость выпрессовывания. Вискозиметр имеет 8 сменных капилляров из нержавеющей стали. При скорости сдвига 10 с-1 можно определить вязкость в пределах от 2,5 до 104 Па·с, а при скорости 1,5·10-4 с - от 0,1 до 10 Па·с. Вискозиметр Б.М. Азарова предназначен для изучения реологических свойств высоковязких тестовых и конфетных масс. Он состоит (рисунок 7б) из рамы, системы силового гидравлического привода 1, рабочего цилиндра 2 с рубашкой 3 для термостатирующей жидкости, блока электротензометрической аппаратуры. Гидропривод состоит из насоса высокого давления, масляного бака, силового гидравлического цилиндра, двух дроссельных кранов и манометра. Рабочий цилиндр 2 с днищем 5 снабжен поршнем 6 и капилляром 4. Цилиндр, днище и капилляр имеют водяные рубашки 3, соединенные с термостатом. Электротензометрическая аппаратура состоит из датчика давления, встроенного в днище цилиндра, датчика температуры, установленного в канале капилляра, усилителя и осциллографа. Расход материала определяется при помощи резательного механизма, который представляет собой два электромагнита-соленоида, на сердечниках которых закреплен специальный нож-струна, подвешенный под обрез капилляра.

Рисунок 7 – Вискозиметры с гидравлическим приводом.
Важным преимуществом капиллярной вискозиметрии является возможность моделирования реальных технологических процессов, поэтому эти методы широко используются при исследовании формования выдавливанием, транспортирования по каналам различной длины и формы, а также определения зависимости реологических характеристик продуктов от технологических факторов.
Третья группа – визкозиметры переменного уровня или свободного истечения, приборы, принцип действия которых основан на истечении материала под действием собственной массы. Основным узлом является емкость с расположенной внизу капиллярной трубкой. Расход жидкости поддерживается постоянным, а уровень ее изменяется пропорционально вязкости. Измеряя высоту уровня, находят значение исследуемой вязкости. Одним из приборов переменного уровня является вискозиметр Лейба, который состоит из двух сосудов, расположенных один под другим. Жидкость поступает в верхний сосуд и вытекает по капилляру в нижний с более длинным капилляром. Стационарное состояние устанавливается при определенном гидростатическом столбе жидкости в нижнем сосуде. По высоте этого столба судят о значении вязкости данной жидкости.
Вискозиметры постоянного уровня (рисунок 8) основаны на наблюдении за характером струи жидкости, вытекающей из капилляра, по которому судят о величине вязкости. На определенном расстоянии от сопла-капилляра 1 происходит дробление струи, причем, чем меньше вязкость жидкости, тем меньше расстояние до места дробления. Следящее устройство в виде каретки с фотоэлементом 3 перемешается вдоль трубки 2. При прохождении фотоэлементом точки дробления в цепи меняется фототок, который регистрируется вторичным прибором.

Рисунок 8 – Вискозиметр постоянного уровня
В заключение рассмотрим три простейших капиллярных вискозиметра истечения - Энглера, Редвуда и Форда, которые хотя и не имеют теоретического обоснования, однако часто применяются в производственных технических лабораториях. К существенным недостаткам приборов относятся короткий рабочий капилляр, переменное гидростатическое давление, неточность распределения термостатирующей жидкости и др. Поэтому их не рекомендуют использовать при научных исследованиях.
Вискозиметр Энглера предназначен для определения относительного времени истечения жидкостей, т.е. для определения вязкости в градусах Энглера. На рисунке 9 дана схема такого вискозиметра марки ОВ-108 (ВНР). Резервуар 5 заполняется испытуемой жидкостью до указателя уровня 7 (около 200 см3). После удаления палочки 2 жидкость вытекает через трубку 9. При этом определяется время вытекания τж. Контрольный опыт проводится на таком же количестве дистиллированной воды с определением времени ее вытекания τж.). Вязкость в градусах Энглера определяется отношением
VЭ= τж./ (τв)
VЭ –вязкость, °Е;
τж. – определяемое время истечения 200 мл испытуемой жидкости, с;
τж. - время истечения такого же объема дистиллированной воды при 20 °С.
Температура термоcтатирующей жидкости в сосуде 6 поддерживается нагревателем 5, встроенным в дно водяной бани, и регулируется тиристорным регулятором. Для выравнивания температуры имеется мешалка 10 с ручкой 1. Температура измеряется термометрами 3 и 4. Сточная трубка имеет длину 20 мм, верхний диаметр 2,9 мм и нижний - 2,8 мм. Мощность нагревателя 400 Вт. Прибор довольно широко используется для измерения вязкости различных жидкостей в производственных условиях. Для пересчета вязкости в градусах Энглера в единицы динамической вязкости в литературе имеются различные эмпирические формулы, например

где η - динамическая вязкость, Па·с; °Е - вязкость в градусах Энглера; ρ - плотность жидкости, кг/м3.

Рисунок 9 – Вискозиметр Энглера
Вискозиметр Энглера применяли для маловязких пищевых продуктов: мясокостных бульонов, растворов желатина, молочных изделий и т.п. По данным А.А. Соколова, вязкость стандартного раствора клея (17,75 % сухого вещества) при 30 °С находится в пределах от 1,8 до 6 °Е (от 0,01 до 0,045 Па·с). Вязкость мясокостного бульона при этих же условиях равна 2,1 °Е (около 0,013 Па·с). Растворы желатина той же концентрации при 40 °С имеют вязкость от 15 до 40 °Е (от 0,11 до 0,3 Па·с).
Таблица 12 – Виды ошибок капиллярной реометрии