Гидрораспределители
Гидрораспределитель – это гидроаппарат, обеспечивающий изменение направления потока рабочей жидкости в двух или более гидролиниях в зависимости от наличия внешнего управляющего воздействия.
Гидрораспределители бывают направляющими и дросселирующими.
Направляющим называется гидрораспределитель, обеспечивающий перекрытие или изменение направления потока жидкости за счет полного открытия или полного перекрытия соответствующих проходных сечений.
Гидрораспределители подразделяются:
– по конструкции запорно-регулирующего элемента: золотниковые, крановые и клапанные;
– по числу внешних гидролиний: двухлинейные, трехлинейные и т.д.;
– по числу характерных позиций запорно-регулирующего элемента: двухпозиционные, трехпозиционные и т.д.;
– по виду управления: на распределители с ручным, механическим, электрическим, гидравлическим и комбинированным управлением;
– по числу запорно-регулирующих элементов: на одноступенчатые, двухступенчатые и т.д.
В условном обозначении гидрораспределителя (рисунок 95) указывают число его позиций (I, II), внешние гидролинии (А, В, Р, Т), подводимые к распределителю, их соединение, а также способ управления.
Число позиций изображают соответствующим числом квадратов (прямоугольников). Проходы изображают прямыми линиями со стрелками, показывающими направление потоков рабочей жидкости в каждой позиции, а места соединений проходов выделяют точками; закрытый проход изображают тупиковой линией с поперечной черточкой. Внешние гидролинии подводят только к исходной позиции. Способ управления распределителем указывают знаками, примыкающими к торцам обозначения распределителя.

Рисунок 95 – Условные обозначения направляющих гидрораспределителей:
а – двухлинейный двухпозиционный (2/2) с ручным управлением; б – двухлинейный двухпозиционный (2/2) с гидравлическим управлением; в – трехлинейный двухпозиционный (3/2) с управлением от кулачка; г – четырехлинейный трехпозиционный (4/3) с электромагнитным управлением
Чтобы представить действие гидрораспределителя в некоторой рабочей позиции, необходимо мысленно передвинуть соответствующий этой позиции квадрат обозначения на место квадрата исходной позиции, оставляя линии связи в прежнем положении. Тогда истинные направления потока рабочей жидкости укажут стрелки, имеющиеся в этом квадрате.
Условные обозначения едины для золотниковых, крановых и клапанных гидрораспределителей, т.е. условное обозначение не отражает конструкцию их запорно-регулирующих элементов.
Кроме графических обозначений гидрораспределителей приводят также их цифровые обозначения в виде дроби: в числителе указывают число подведенных к гидрораспределителю внешних гидролиний, в знаменателе – число его рабочих (характерных) позиций. Например, четырехлинейный трехпозиционный гидрораспределитель обозначают дробью 4/3 (см. рисунок 95 г).
Запорно-регулирующие элементы (золотник, кран, клапан) в направляющих гидрораспределителях всегда занимают фиксированные позиции по принципу «полностью открыто» или «полностью закрыто». Поэтому направляющий гидрораспределитель практически не влияет на давление и расход потока рабочей жидкости, проходящей через него.
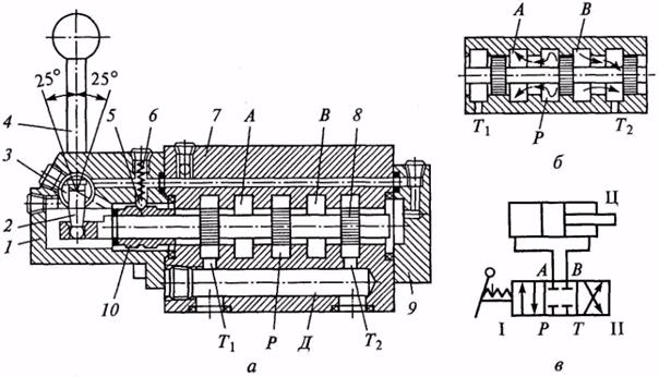
На рисунке 96 а показана конструктивная схема золотникового гидрораспределителя 4/3 типа ПГ74-24М с ручным управлением. Распределитель состоит из корпуса 7, цилиндрического золотника 8, рукоятки 4 с осью 3 и пальцем 2, крышек 1 и 9 и уплотнений.

Рисунок 96 – Направляющий золотниковый гидрораспределитель
4/3 типа ПГ74-24М с ручным управлением: 1, 9 – крышки корпуса; 2 – палец; 3 – ось; 4 – рукоятка; 5 – шарик; 6 – пружина; 7 – корпус; 8 – золотник; 10 – втулка; а –в исходной (нейтральной) позиции; б –при сдвиге золотника вправо; в –условное обозначение гидрораспределителя с подключенным гидроцилиндром
В центральном отверстии корпуса 9 выполнены пять кольцевых расточек, образующих полости Т1, А, Р, В и Т2, которые сообщаются каналами с входными отверстиями. Полости Т1 и Т2 (сливные) соединены каналом Д. Золотник 8, располагающийся в центральном отверстии корпуса 7, имеет три цилиндрических пояска, которые перекрывают соответствующие цилиндрические расточки корпуса. Каналами, выполненными в корпусе 7 и крышках 1 и 9, торцовые полости распределителя соединены с дренажной гидролинией. Шарик 5 пружиной 6 прижимается к втулке 10, обеспечивая фиксацию золотника в рабочих позициях.
Принцип работы распределителя следующий. В исходной позиции (ей соответствует средний квадрат условного обозначения, показанного на рисунке 96 в) все проходные сечения в гидрораспределителе перекрыты. При смещении золотника, например, вправо (рисунок 96 б)в позицию I (при этом левый квадрат на рисунке 96 в как бы передвигается на место среднего), напорная полость Р распределителя соединяется с полостью А и поток жидкости под давлением поступает на выход распределителя и далее, например, в левую полость гидроцилиндра Ц (см. рисунок 96 в). При этом полость В распределителя, а значит и правая полость гидроцилиндра Ц, через золотник соединяется с полостью Т2, т.е. со сливом. При смещении золотника из нейтральной позиции влево, т.е. при переключении гидрораспределителя в позицию II (см. рисунок 96 в),направление потока жидкости изменяется: полость Р (см. рисунок 96 а) соединяется с полостью В, аполость А – с полостью Т1.
Основным недостатком гидрораспределителя с цилиндрическим золотником является наличие утечек жидкости через диаметральный зазор между корпусом (гильзой) и золотником.