Вопрос № 3. Мониторинг и анализ внешних и внутренних факторов риска
Вопрос № 2. Классификация рисков
В каждом источнике по управлению рисками /14,23,31,49/ приводится своя классификация рисков. Прежде чем унифицировать классификацию, рассмотрим наиболее полный перечень видов риска, представленный в работе Н. В. Хохлова /49/:
♦ промышленные;
♦ экологические;
♦ инвестиционные;
♦ кредитные;
♦ технические;
♦ предпринимательские;
♦ финансовые;
♦ коммерческие;
♦ страховые;
♦ политические.
Рассмотрим подробнее перечисленные виды риска.
1. Под промышленными рисками понимают опасность нанесения ущерба предприятию (объекту риска) и третьим лицам вследствие нарушения нормального хода производственного процесса. Кроме того, к ним относят опасность повреждения или утери производственного оборудования и транспорта, разрушение зданий и сооружений в результате воздействия таких внешних факторов, как силы природы и злоумышленные действия.
Для промышленного производства наиболее серьезным и часто встречающимся является риск возникновения отказов машин и оборудования, а в наиболее тяжелых проявлениях — возникновение аварийной ситуации. Это может произойти на промышленных объектах в результате событий различного характера:
♦ природного — землетрясение, наводнение, оползни, ураган, смерч, удар машин, шторм, извержение вулкана и т. п.;
♦ техногенного — износ здании, сооружений, машин и оборудования, ошибки при их проектировании или монтаже, злоумышленные действия, ошибки персонала, повреждение оборудования при строительных и ремонтных работах, падение летательных аппаратов или их частей и др.;
♦ смешанного — нарушение природного равновесия в результате техногенной деятельности человека, например возникновение нефтегазового фонтана при разведочном бурении скважин или оползня при строительных работах.
Эти события вызывают несколько групп неблагоприятных последствий: взрыв, пожар, поломку механизмов и оборудования, ущерб окружающей среде, персоналу, третьим лицам, снижение производства продукции и т.д.
2. Под экологическим риском понимается вероятность наступления гражданской ответственности за нанесение ущерба окружающей средe, а также жизни и здоровью третьих лиц. Он может возникнуть в процессе строительства и эксплуатации производственных объектов и является составной частью промышленного риска. Ущерб окружающей среде выражается в виде загрязнения или уничтожения лесных, водных, воздушных и земельных ресурсов, нанесения вреда биосфере и сельскохозяйственным угодьям. При этом последствия аварии подразделяются на ближайшие и отдаленные (долговременные).
Понятие эколого-правовой ответственности впервые было сформулировано в законе РСФСР «О предприятиях и предпринимательской деятельности*, в котором предусматривается возмещение ущерба от загрязнения и нерационального использования природной среды. Это положение было развито в законе РСФСР «O6 охране окружающей природной среды», где, в частности, рассматриваются три типа вреда, подлежащего компенсации:
♦ причиненный окружающей природной среде источником повышенной опасности;
♦ причиненный здоровью граждан неблагоприятным воздействием на окружающую природную среду;
♦ причиненный имуществу граждан.
Принятый в 1997 г. закон РФ «О промышленной безопасности опасных производственных объектов» предусматривает, что предприятие — источник повышенной опасности — обязано обеспечить меры по защите населения и окружающей среды от опасных воздействий. Закон также регламентирует порядок лицензирования опасных производств, вводит обязательное экологическое страхование как механизм управления экологическими рисками.
3. Инвестиционные риски связаны с возможностью недополучения или потери прибыли в ходе реализации инвестиционных проектов. Объектом рисков данном случае выступают имущественные интересы лица, осуществляющего вложения своих средств.
Инвестиционные риски классифицируются в зависимости от особенности реализации им проекта и способа привлечения средств. В общем случае выделяют следующие риски:
а) кредитные;
б) возникающие на первой стадии инвестиционного проекта;
в) предпринимательские, связанные со второй стадией инвестиционного проекта;
г) страховые.
Среди общих рисков, присущих первой стадии реализации проекта, можно выделить следующие:
♦ риски, возникающие вследствие неправильного оформления юридических прав: прав собственности или аренды на земельный участок и объекты недвижимости, а также разрешения на строительство;
♦ риск превышения сметы вследствие удорожания стоимости строительства и др.
4. Кредитные риски связаны с возможным невозвратом суммы кредита и процентов по нему. Невозврат может произойти по различным причинам: незавершение строительства, изменение рыночной и общеэкономической ситуации, недостаточная маркетинговая проработка инвестиционного проекта, чрезвычайные события.
Для кредитора имеет значение не только сам факт возврата суммы кредита и процентов, но и сроки возврата. Таким образом, для кредитора существует риск прямых убытков в случае невозврата суммы кредита или его части, и риск косвенных убытков, связанный с задержкой уплаты основного долга и процентов по нему.
Возможных путей снижения кредитного риска несколько, в том числе финансовые мероприятия — получение финансовых гарантий и страхование. Целесообразность использования того или иного метода управления риском в данном случае является составной частью разработки общей стратегии отрасли при принятии финансовых решений.
Разновидностью кредитного риска является процентный риск, который возникает в том случае, если кредит получен под «плавающую» процентную ставку. «Плавающая» ставка обычно привязывается к различным международным эталонам, таким как ставка LIBOR, ставка ФРС США, ставки по межгосударственным финансовым инструментам, принятые Европейским сообществом. В случае увеличения этих показателей к моменту возврата кредита заемщик несет дополнительные расходы. Процентный риск возникает и тогда, когда процентная ставка по кредиту определяется в зависимости от изменения мировых экономических показателей на дату получения кредита.
5. Технические риски сопутствуют строительству новых объектов и их дальнейшей эксплуатации. Среди них выделяют строительно-монтажные и эксплуатационные. Технические риски могут быть составной частью промышленных, предпринимательских и инвестиционных рисков. К строительно-монтажным рискам относятся следующие:
♦ утери или повреждения строительных материалов и оборудования вследствие неблагоприятных событий — стихийных бедствий, взрыва, пожара, злоумышленных действий и т. д.;
♦ нарушения функционирования объекта вследствие ошибок при проектировании и монтаже;
♦ нанесения физического ущерба персоналу, занятому на строительстве объекта.
По окончании строительства объекта и сдачи его заказчику подрядчик принимает на себя гарантийные обязательства по обеспечению его бесперебойной эксплуатации в течение гарантийного срока. В случае обнаружения значительных дефектов в строительной части работ или установленного оборудования и необходимости и устранения подрядчик может понести большие убытки и оказаться не в состоянии выполнить свои обязательства. Такой риск называется риском невыполнения послепусковых гарантийных обязательств.
6. Предпринимательские риски различают внешние и внутренние. Внешние риски связаны с нанесением убытков и неполучением предпринимателем ожидаемой прибыли вследствие нарушения своих обязательств контрагентами предпринимателя или по другим, не зависящим от него обстоятельствам.
Внутренние риски зависят от способности предпринимателя организовать производство и сбыт продукции. На них влияют следующие факторы: качество системы менеджмента, качество продукции, производственные затраты, организация маркетинга и др.
Страховые компании и финансовые институты не предоставляют предпринимателям гарантий компенсации убытков от внутренних рисков, поскольку они подвержены воздействию многих субъективных факторов.
Ущерб от предпринимательских рисков бывает прямым и косвенным. Прямой ущерб — это потери основных и оборотных средств (капиталов), физический ущерб персоналу, физический и имущественный ущерб третьим лицам (населению и организациям). Косвенный ущерб — это неполучение дохода (упущенная выгода) вследствие перерыва в хозяйственной деятельности по различным причинам.
Предпринимательские риски могут быть обусловлены следующими причинами:
♦ природными — землетрясение, наводнение, ураган, смерч, удар молнии, шторм, извержение вулкана и др.;
♦ износ основных производственных фондов;
♦ ошибки персонала;
♦ нарушение своих обязательств контрагентами;
♦ непредвиденные расходы;
♦ злоумышленные действия и др.
7. Финансовые риски возникают в процессе управления финансами организации.
Финансовые риски бывают:
♦ валютными (операционный, трансляционный, экономический);
♦ процентные (позиционный, портфельный, экономический);
♦ портфельные (систематический, несистематический).
Операционный валютный риск можно определить как возможность возникновения убытков или недополучения прибыли в результате изменения обменного курса и воздействия его на ожидаемые доходы от продажи продукции. В частности, если иностранный инвестор вкладывает средства в строительство объектов газовой промышленности в России с целью продажи газа или продуктов его переработки российским потребителям, то он недополучит прибыль в результате снижения курса российской валюты по отношению к национальной валюте страны инвестора. Если средства вкладываются в проект, связанный с экспортом газа, то иностранный инвестор проиграет в случае понижения курса страны-импортера по отношению к российской валюте.
Трансляционный валютный риск возникает при наличии у головной компании дочерних компаний или филиалов за рубежом. Его источником является возможное несоответствие между активами и пассивами компании, пересчитанными в валютах разных стран. Понижение обменного курса страны местонахождения филиала (или дочерней компании) по отношению к валюте страны местонахождения материнской компании вызывает кажущееся уменьшение его (ее) прибыли. Если компания имеет консолидированный баланс, то пересчет активов и пассивов филиала или дочерней компании в валюту страны материнской компании приведет к кажущимся убыткам в случае понижения обменного курса.
Таким образом, трансляционный валютный риск возникает в следующих случаях:
♦ при необходимости общей оценки эффективности компании, включая ее филиалы в других странах;
♦ при потребности в составлении консолидированного баланса;
♦ при необходимости пересчета налогов в валюте стран местонахождения материнской компании.
Экономический валютный риск определяется как вероятность неблагоприятного воздействия изменений обменного курса на экономическое положение компании. Он возникает, например, в результате изменения объема товарооборота в стране или цен на средства производства либо на готовую продукцию, а также вследствие изменения конкурентоспособности организации. Его воздействие может иметь и другие источники, например правительственные меры, вызванные падением курса национальной валюты (искусственное сдерживание роста заработной платы, ограничения на хождение иностранных валют, обмен денег и др.).
Экономический валютный риск сильнее всего проявляется в странах, зависимых от импорта товаров. Если, например, производство товаров зависит от импортных компонентов, то рост иностранных валют по отношению к национальной увеличивает стоимость продукции и снижает конкурентоспособность организации по сравнению с производителями аналогичной продукции из отечественного сырья. Рост курса иностранных валют стимулирует экспортно-импортные производства и угнетает зависимые от импорта.
Под процентными рисками понимается вероятность возникновения убытков в случае изменения процентных ставок по финансовым ресурсам.
Позиционный процентный риск возникает, если проценты за пользование кредитными ресурсами выплачиваются по «плавающей» ставке. Компания, выдавшая кредит или имеющая депозит в банке под «плавающие» проценты, понесет убытки в случае понижения процентных ставок. Компания, получившая кредит по «плавающей» ставке, наоборот, понесет убытки в случае повышения процентных ставок.
Портфельный процентный риск отражает влияние изменения процентных ставок на стоимость финансовых активов, таких как акции и облигации. При этом воздействие оказывается не на отдельные виды ценных бумаг, а на инвестиционный портфель в целом. Увеличение процентных ставок на основные кредитные ресурсы, как правило, уменьшает стоимость портфеля, и наоборот.
Экономический (структурный) процентный риск связан с воздействием изменения процентных ставок на экономическое положение компании в целом. Например, если конкурентами компании выступают производители, привлекающие для своей деятельности большие суммы заемных средств, то конкуренция может усилиться в случае снижения процентных ставок. Рост процентных ставок отрицательно сказывается на активности отраслей хозяйства, связанных со строительством. Изменения процентных ставок могут также повлиять на обменные курсы валют, что, в свою очередь, отразится на деятельности организации.
Портфельные риски показывают влияние различных макро и микроэкономических факторов на активы предпринимателя или инвестора. Портфель активов может состоять из акций и облигаций, государственных ценных бумаг, срочных обязательств, денежных средств, страховых полисов, недвижимости и т. д. Отдельные факторы риска могут оказывать противоположное воздействие на различные виды активов. Так называемый сбалансированный (рыночный) портфель в наименьшей степени подвержен влиянию факторов риска, среди которых выделяют систематические и несистематические риски.
Коммерческие риски, связанные с возможностью недополучения прибыли или возникновения убытков в процессе проведения торговых операций, могут проявляться в виде следующих событий:
♦ неплатежеспособность покупателя к моменту оплаты товара;
♦ отказ заказчика от оплаты продукции;
♦ изменение цен на продукцию после заключения контракта;
♦ снижение спроса на продукцию.
8. Страховые риски возникают при осуществлении предпринимателями и инвесторами своей деятельности на территории других стран. Доход от бизнеса может уменьшиться в случае неблагоприятного изменения политической или экономической ситуации в стране. Потеря или уменьшение дохода от бизнеса происходят по различным причинам, среди которых можно выделить:
♦ изменение политического строя страны;
♦ экспроприация или национализация объектов иностранной собственности;
♦ уничтожение или повреждение объекта собственности в результате военных действий и гражданских волнений;
изменение общегражданского и специального видов законодательства — таможенного, налогового и др.
В последнее время этому виду риска в мире уделяется большое внимание, что в значительной мере обусловлено своеобразным «инвестиционным» бумом, наблюдавшимся в последнее десятилетие на развивающихся рынках стран Латинской Америки, Юго-Восточной Азии, Восточной Европы, СНГ, России. Эти страны характеризуются неустойчивым политическим положением, а также процессами перехода к рыночной экономике.
Страховые риски могут быть трех видов:
♦ социально-политические;
♦ макроэкономические;
♦ микроэкономические.
9. Политические риски являются важнейшей составной частью страховых рисков. Суть их заключается в возможности недополучения дохода или потери собственности иностранного предпринимателя или инвестора вследствие изменения социально-политической ситуации в стране. Они могут проявляться в виде следующих событий:
♦ изменения в валютном законодательстве, препятствующие исполнению международных контрактов или репатриации валютной выручки;
♦ изменения юридической базы, затрудняющие осуществление предпринимательской деятельности;
♦ национализация или экспроприация предприятий, созданных с участием иностранных инвесторов;
♦ внесение изменений в арбитражное право;
♦ военные действия, гражданские волнения, массовые беспорядки, повлекшие за собой причинение ущерба имущественным интересам предпринимателей и др.
В дополнение к перечисленным рискам следует прогнозировать и анализировать:
♦ риски в связи с низким качеством маркетинговых исследований, системы управления организацией;
♦ риски в связи с отсутствием или низким качеством прогнозов силы конкуренции на предполагаемых рынках;
♦ риски в связи с низким качеством стратегических управленческих решений, принятых без глубокого изучения внешних и внутренних факторов риска, действия экономических законов и законов организации, без применения современных научных подходов и методов оптимизации и др.
Элементами процесса разработки и реализации управленческого решения являются: 1) система «предмет труда» (проблема, задачи и т. п.), «средство труда» (методики, ЭВМ и т. п.), «живой труд» (исполнитель, отдел и т. п.) соединенных в пространстве и во времени; 2) информация; 3) методы анализа, прогнозирования, нормирования, оптимизации, оценки эффективности и др.; 4) научные основы разработки и реализации управленческого решения (экономические законы, законы организации, научные подходы, принципы); 5) система управления рисками как одно из важнейших условий эффективного развития экономики по инновационному пути.
Как видно из перечня компонентов процесса разработки и реализации управленческих решений, для повышения его качества необходимо сделать многое. Особенно это важно для условий реформирования российской экономики.
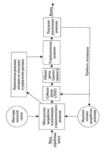
Логическая схема управления рисками представлена на рис. 1.
Процесс разработки и реализации управленческого решения следует обеспечивать соответствующими нормативно-методическими документами, материально-техническими, финансовыми, трудовыми, информационными ресурсами. Для достижения высокого качества процесса необходимо, чтобы обеспечивающие компоненты тоже были высокого качества.
К функциям управления рисками мы относим:
♦ маркетинг;
♦ оптимизация риска;
♦ планирование работ по управлению рисками;
♦ организация выполнения плана;
♦ учет и контроль;
♦ мотивация достижения высоких результатов;
♦ регулирование процесса управления рисками.
К экономическим вопросам управления риском относим следующие:
1) исследование внешних и внутренних факторов риска;
2) анализ профессионализма субъекта риска;
3) анализ параметров объекта риска;
4) разработка предложений по улучшению параметров объекта и субъекта риска;

5) экономическое обоснование эффективности работ по управлению риском;
6) стимулирование достижения высоких результатов.
К организационным вопросам управления рисками относим следующие:
♦ формулирование принципов организации управления рисками,
♦ разработка организационной структуры управления рисками;
♦ выбор моделей управления рисками;
♦ сбор, обобщение и переработка информации;
♦ 'защита результатов оптимизации рисков на ученом (техническом) совете;
♦ корректировка материалов и сдача их ЛПР (заказчику).
К принципам организации управления рисками относим следующие:
1) правовая регламентация управления рисками путем создания единого федерального нормативно-методического документа по рискам. По крупным федеральным объектам важно не только экономически обосновывать и оптимизировать риск, но и поделить его между участниками инновационного проекта или другого объекта;
2)обеспечение высокого научного уровня процесса управления рисками путем анализа действия экономических законов функционирования рыночных отношений и законов организации, научных подходов и принципов;
3) обеспечение адаптивности управленческих процессов к изменениям факторов внешней и внутренней среды;
4) обеспечение сопоставимости альтернативных вариантов управленческих решений;
5) автоматизация управления;
6) регламентация процессов;
7) выполнение принципов рациональной организации управленческих и производственных процессов;
8) оптимизация рисков.
Мониторинг — непрерывное наблюдение за параметрами объекта с целью контроля их соблюдения.
К внешним факторам риска относятся факторы макросреды, инфраструктуры региона и микросреды организации.
К факторам макросреды относятся международные, политические, экономические, социально-демографические, правовые, экологические, научно-технические, культурные. Содержание каждого фактора приведено в учебнике автора «Стратегический маркетинг» и др. источниках.
К факторам инфраструктуры региона (мезосферы) мы относим следующие: рыночная инфраструктура, мониторинг окружающей природной среды, образование и наука, здравоохранение, культура, торговля, общественное питание, транспорт и связь, строительство, жилищно-коммунальное хозяйство, бытовое обслуживание населения, промышленность. Каждый из перечисленных факторов характеризуется рядом показателей, которыми следует управлять (мониторинг, анализ, оптимизация и т. д.).
Так, отрасль образования и науки можно характеризовать такими конкретными показателями, как:
1) фондовооруженность работников этой сферы (учителей, преподавателей вузов, ученых);
2) конкурентоспособность товаров данной сферы на внешнем и внутреннем рынках (речь идет о конкурентоспособности специалистов, выпускников учебных учреждений, менеджеров, элементов основных производственных фондов, технологий, научной продукции и т. д.);
3) прогрессивность научного оборудования и технологий, их возраст;
4) социальная обеспеченность работников образования и науки;
5) средняя заработная плата работников данной сферы;
6) текучесть работников и их эмиграция и др. показатели.
Связь между абсолютными и относительными показателями эффективности, конкурентоспособности и устойчивости функционирования каждой сферы с уровнем риска очевидна. Чем лучше эти показатели по факторам макросферы, инфраструктуры региона (города) и микросреды организации (объекта), тем меньше уровень риска. Для повышения качества управления рисками рекомендуется устанавливать количественные корреляционные (парные) зависимости между важнейшими показателями сфер (факторов) внешней среды объекта и уровнем риска.
К факторам микросферы организации относятся следующие: поставщики (вход системы) и их конкуренты; потребители (выход системы) и их конкуренты; контактные аудитории (средства массовой информации, группы содействия, общественные организации, контролирующие органы и др.); маркетинговые посредники на входе и выходе системы; местные органы власти.
К внутренним факторам риска относятся несоответствия, низкая надежность, непропорциональность, слабость отдельных компонентов системы управления организацией, ее производственной и организационной структуры, элементов функциональных видов маркетинга и менеджмента. Другими словами, к внутренним факторам риска относятся все слабости и «болезни» организации как черного ящика, т. е. ее субстанции: всех видов ресурсов в статике и динамике, системы управления.
В соответствии с системным подходом сначала рекомендуется анализировать внешние факторы риска и только потом — внутренние. Почему целесообразен такой порядок анализа риска? Среди внешних факторов риска могут быть непреодолимые в текущее время и в перспективе слабости и «болезни», которые делают бессмысленными усилия по снижению внутренних рисков. Можно затратить огромные средства на снижение внутренних рисков и получить нулевой результат, если внешние факторы риска являются непреодолимыми. Прежде чем инвестировать проект, развитие объекта, изучи внешнее окружение этого объекта. Наличие непреодолимых внешних факторов риска делает бессмысленным инвестирование в развитие данного объекта. К сожалению, на практике следуя утвердившемуся понятию, что система — это совокупность взаимосвязанных элементов, анализ инвестиционной ситуации начинают с внутренней, а не внешней среды. Затратив огромные средства на развитие самой системы, на втором этапе — этапе анализа факторов внешней среды — сталкиваются с непреодолимыми препятствиями (неустойчивые инструменты рыночного механизма, некачественная инфраструктура и т. д.), делающими проект бесперспективным, а затраты на развитие внутренней структуры уже не вернешь.
Основными методами анализа факторов риска являются общеизвестные методы сравнения, индексный, балансовый, элиминирования, графический, функционально-стоимостный, факторный анализ, системный анализ и др. Главная цель этого анализа — выявление узких мест, слабостей, «болезней», непропорциональностей субстанции, структуры, производственных и управленческих процессов в системе, повышающих риск вложения инвестиций в ее функционирование или развитие.

Для использования этого инструмента управления рисками необходимо:
1) сделать отбор внешних и внутренних факторов риска, охватывающих макросреду, инфраструктуру региона и микросреду организации;
2) наладить мониторинг за этими факторами;
3) проранжировать факторы с целью отбора важнейших из них (управлять или осуществлять мониторинг за всеми факторами невозможно);
4) установить форму связи между факторами и уровнем риска;
5) попытаться установить количественные зависимости (уравнения регрессии) между важнейшими факторами риска и уровнем риска;
6) определить эластичность между важнейшими факторами риска и уровнем риска вложения инвестиций.
Кроме выполнения этих исследований необходимо установить количественные зависимости между конечными показателями проекта (прибылью, доходностью, ликвидностью и др.) и уровнем риска. Например, зависимость между уровнем риска и прибылью (доходностью) от вложения инвестиций описывается кривой К=/(Х,), риском и ликвидностью ценных бумаг — Y = f(X2), риском и устойчивостью функционирования организации функцией Y = /(Х4) и т. д.
При оценке рисков следует рассчитывать вероятность достижения запланированного значения прибыли, которая описывается законом Гаусса (рис. 2).
Для того чтобы управленческие решения в инновационных проектах находились в зоне + на рис. 2, необходимо исследовать влияние внешних и внутренних факторов риска на прибыль, снизить влияние негативных (повышающих риск) факторов на прибыль и оптимизировать уровень риска.
Поэтапная оптимизация риска представляет собой:
1) отбор и ранжирование факторов внешней и внутренней среды объекта и субъекта риска с применением методов факторного анализа (математико-статистические и экспертные);




оптимизации риска. Необходимо сглаживать, избегать, уменьшать факторы риска с тем, чтобы сузить поле «S», поле риска. Хорошо, когда «S» меньше ± 15%.