Описание схемы автоматизации (Пример)
Рисунок 1- Примеры условных обозначений
При изображении условного обозначения комплекта средств автоматизации, состоящего из нескольких единичных обозначений, связанных с друг другом, необходимо помнить, что во всех единичных обозначениях устройств, входящих в комплект, первая буква обозначения указывает измеряемый параметр (температуру, давление, уровень и т.п.). Исключение составляют устройства ручного управления, входящие в комплект. В их обозначении шифр измеряемого параметра не вводят.
Например, в комплекте для измерения и регулирования температуры первичный измерительный преобразователь будет обозначен буквами ТЕ (чувствительный элемент измерения температуры); вторичный регистрирующий прибор TR (самопишущий прибор измерения температуры); регулирующий блок – ТС (регулятор температуры) и т.п.
В условных обозначениях всех устройств, выполненных в виде отдельных блоков, рассчитанных на ручное управление, всегда первой записывают букву Н (ручное воздействие), например в обозначении переключателей электрических цепей измерения, управления; переключателей газовых или воздушных линий; байпасных панелей дистанционного управления; кнопок, ключей управления, задатчиков и т.п.
Следует помнить еще одну особенность построения условных буквенных обозначений. В комплекте, предназначенном для измерений нескольких разнородных величин, первичные измерительные преобразователи (датчики) обозначают буквой, обозначающей измеряемый данным датчиком параметр.
Иначе производится обозначение на схеме постоянно подключенного отборного устройства, для которого специального графического обозначения нет. Местом установки отборного устройства является точка пересечения линии связи с обозначением технологического трубопровода или аппарата. Второй конец линии связи в этом случае сопрягается с обозначением первичного измерительного преобразователя или прибора.
На рисунке 2,а показано обозначение установки преобразователя термоэлектрического (термопары) на технологическом трубопроводе, а на рисунке 2,б – показывающего манометра. Первичный измерительный преобразователь измерения расхода (например, диафрагма) устанавливается, как известно, в рассечку технологического трубопровода, что показывается в условном обозначении (рисунок 2,в).
| |

Рисунок 2 - Первичные измерительные преобразователи
Существует прием, с помощью которого можно указать точное место расположения отборного устройства или точки измерения. Для этого линию связи от первичного измерительного преобразователя или прибора вводят внутрь контура технологического аппарата, а на ее конце изображают окружность диаметром 2 мм, как показано на рисунке 2,г. Подвод линии связи к условному обозначению прибора или средства автоматизации изображают в любой точке окружности (сверху, снизу, сбоку). Когда важно знать направление потока среды или передачи сигнала, на изображении линии связи наносят стрелку.
Щиты и пульты систем автоматизации технологических процессов изображают на схемах в виде прямоугольников, размеры которых определяются местом, необходимым для изображения в них условных графических обозначений приборов и средств автоматизации, устанавливаемых на них.
Комплектные устройства, например программируемые микропроцессорные контроллеры, обозначают так же как и щиты, прямоугольниками произвольных размеров. Внутри прямоугольника указывают тип комплектного устройства в соответствии с документации завода-изготовителя.
Рассмотрим примеры условных обозначений наиболее часто встречающихся приборов и средств автоматизации, устанавливаемых по месту и на щитах.
На рисунке 3 приведены условные обозначения приборов для измерения и регулирования температуры. О том, что на рисунке 2,а изображен первичный измерительный преобразователь (чувствительный элемент) для измерения температуры, установленный по месту, например термоэлектрический преобразователь (термопара), термопреобразователь сопротивления (термометр сопротивления), термобаллон манометрического термометра и т.п., указывает, во-первых, окружность без горизонтальной линии внутри: первичный измерительный преобразователь или прибор, установленный по месту согласно таблице 1; во-вторых, первая буква Т, обозначающая, что измеряемый параметр – температура, и вторая буква Е, обозначающая, что это чувствительный элемент. Таким образом, это условное обозначение передает необходимый объем информации в общем виде.

Рисунок 3 - Приборы для измерения и регулирования температуры
Буква I в обозначении прибора для измерения температуры (рисунок 3,б) говорит о том, что изображен показывающий прибор. Обозначения приборов, приведенных на рисунке 3,в, расшифровываются так: оба прибора установлены на щите (горизонтальная черта внутри окружности), оба регистрируют R температуру T, а второй прибор еще и регулирует C.
Регулятор температуры бесшкальный, установленный по месту, изображен на рисунке 3,г слева. Вторая буква С обозначает, что это регулятор.
Правое обозначение свидетельствует, что это измерительный комплект температуры Т, регистрирующий R, регулирующий C, со станцией управления K. Температурное реле изображено на рисунке 2,д: T - температура; S - контактное устройство (включение, отключение, переключение).
На рисунке 4,а даны приборы для измерения давления (Р), установленные по месту (соответственно): показывающий (I) – манометр, дифманометр, тягомер, напоромер, вакуумметр и др.; показывающий перепад (D) – дифманометр; бесшкальный (отсутствие буквы I ), с дистанционной передачей (T) – манометр, дифманометр с электро- или пневмопередачей.

Рисунок 4 - Приборы для измерения давления
Из рисунка 4,б видно, что для обозначения прибора, регистрирующего давление, в верхнюю часть круга вписаны буквы P и R. Примером этого вида приборов может быть любой вторичный прибор, регистрирующий давление.
На рисунке 4,в даны обозначения электроконтактного манометра (вакуумметра) и регулятора: P - давление, I - показание, S - контактное усройство, C - регулирование.
Окружность без горизонтальной черты (рисунок 5,а) указывает на то, что это первичный измерительный преобразователь или прибор, установленный по месту. Буквы F и E обозначают соответственно расход и чувствительный элемент, буква Е – что это не прибор, а измерительный преобразователь. Следовательно, это обозначение может принадлежать диафрагме, соплу, трубе Вентури, датчику индукционного расходомера и т.п.

Рисунок 5 - Приборы для измерения расхода
Из обозначения на рисунке 5,б видно, что это установленные по месту приборы измерения расхода (F), показывающие (I), а второй прибор еще и интегрирующий (Q).
На рисунке 5,в показано обозначение прибора для измерения соотношения (вторая буква F ) расходов (первая буква F ), регистрирующего (R), установленного на пульте (горизонтальная линия в окружности). Это может быть, например, вторичный самопишущий прибор соотношения расходов.
На рисунке 6,а приведено обозначение первичного измерительного преобразователя (чувствительного элемента) (E) для измерения уровня (L), установленного по месту. Им может быть, к примеру, датчик электрический емкостный или ультракоротковолновый уровнемер.

Рисунок 6 - Приборы для измерения уровня
Когда в дополнение к основному буквенному обозначению, вписанному в окружность, необходима информация, например, о предельных значениях параметра, конкретной измеряемой величине и т.п.то, такую информацию записывают рядом с окружностью – символом прибора – справа от нее.
На рисунке 6,б показаны обозначения приборов для измерения уровня с контактным устройством, включенным либо в схему сигнализации (SA) – реле уровня, либо в схему регулятора – сигнализатора уровня с контактным устройством (CS), установленных по месту. Буква Н вне обозначения, справа вверху, показывает, что приборы должны быть отрегулированы на срабатывание по верхнему уровню.
Сравним обозначения на рисунках 6,б и в. Если на рисунке 6,б дано обозначение прибора, установленного по месту, например, реле уровня, то на рисунке 6,в – обозначение вторичного прибора, показывающего и сигнализирующего предельные (H, L) значения уровня, поэтому сочетание букв I и A на рисунке 6,в означает показание и сигнализацию, а S и A на рисунке 6,б – контактное устройство, работающее в схеме сигнализации.
На рисунке 7 приведены обозначения большой группы приборов технологического контроля и управления. Первая буква D (плотность) в сочетании со второй буквой Т (дистанционная передача) обозначает, что это датчик плотномера с электро- и пневмопредачей (буква Е или Р), т.е. прибор для измерения плотности раствора бесшкальный (отсутствие буквы I) с дистанционной передачей, установленный по месту (рисунок 6,а).

Рисунок 7 - Приборы для измерения различных параметров
Обозначение прибора, измеряющего размеры (G), показывающего, например, прибора, измеряющего толщину медной ленты, установленного по месту, изображено на рисунке 7,б.
Существует большая группа приборов для измерения различных электрических величин (буква Е), например вольтметры, ваттметры, частотомеры и др. Обозначение любого из таких приборов приведено на рисунке 7,в слева. Справа это же обозначение дано с поясняющей надписью «напряжение», показывающей, какую из электрических величин измеряет прибор.
Из таблицы 2 видно, что буква Q – величина, характеризующая качество: состав, концентрацию и т.п. Значит, на рисунке 6,г изображены приборы измерения качества продукта. Буква Е в первом обозначении показывает, что это чувствительный элемент, а буквы R и C во втором – что прибор регистрирующий и регулирующий. Знаки вне изображения конкретизируют, что именно измеряет этот прибор. Таким образом, в первом случае это может быть датчик рН-метра, а во - втором – вторичный самопишущий прибор регулятора концентрации серной кислоты в растворе.
На рисунке 7,д приведено обозначение прибора для показания (I) и сигнализации (A) радиоактивности (R), в частности, предельно допустимых (верхний предел) значений
и
лучей.
Обозначение вторичного прибора тахогенератора – прибора для измерения и регистрации (R) скорости (первая буква S) привода, установленного на щите, показано на рисунке 7,е. Следует обратить внимание на то, какое важное значение имеет не только сама буква, но и ее место в обозначении. Во всех предыдущих случаях буква S, занимая второе или третье место, показывает наличие у прибора контактного устройства. В рассматриваемом случае, занимая первое место, буква S обозначает скорость.
Обозначение любого преобразователя (вторая буква Y) сигнала приведено на рисунке 7,ж, где показан преобразователь термо-ЭДС термоэлектрического преобразователя (первая буква Т).
Чтобы знать вид входного и выходного сигналов, рядом с обозначением записывают соответствующие буквы, например Е/Е. Это значит, входной и выходной сигналы в данном случае электрические.
На рисунке 6,з показано обозначение преобразователя (вторая буква Y) пневматического сигнала в электрический (буквы Р/Е обозначения преобразователя) от датчика давления (первая буква Р).
Существует ряд средств автоматизации, которые, как правило, имеются почти во всех схемах автоматизации технологических процессов. Обозначения наиболее типичных из них показаны на рисунке 8. На рисунке 8,а показано обозначение коммутирующего устройства управления. Из его графического изображения следует, что это устройство на щите (горизонтальная линия окружности). Первая буква (Н) означает ручное воздействие, т.е. ручное управление устройством. Вторая буква (S) показывает, что устройство контактное, обеспечивающее включение, отключение, переключение. Другими словами, это ручное контактное устройство: ключ управления, кнопка, переключатель и т.п.

Рисунок 8 – Средства автоматизации
Второй вариант обозначения ручного щитового органа управления, например, байпасной панели дистанционного управления, показан на рисунке 8,б. Буква Н означает ручное, а С – управление. На рисунке 8,в дано обозначение пускового аппарата – магнитного пускателя, контактора и т.п. – для управления электроприводом (включение, выключение двигателя насоса; открытие, закрытие задвижки и т.п.).
На этом рисунке дан пример применения резервной буквы N, что должно быть оговорено на поле чертежа. Буква S означает контактное устройство.
На схемах автоматизации в верхней части чертежа располагают схему цепей и аппаратов автоматизируемого технологического процесса. Технологическое оборудование принято изображать схематично, чтобы внешние очертания достаточно точно отображали его.
В нижней части схемы слева направо изображают прямоугольники с указанием пунктов размещения средств автоматизации. В общем случае прямоугольники имеют наименования: «Приборы по месту», «Щит оператора - технолога», разделенный на прямоугольники, в которых располагают аппаратуру управления и средства отображения информации, под названием «Панель оператора» в прямоугольниках, размещают программируемые микропроцессорные контроллеры и управляющие вычислительные комплексы с устройствами ввода - вывода и устройства локальной сети для связи с другими системами.
В прямоугольнике «Приборы по месту», как правило, размещают технические средства измерения и преобразования технологических переменных процесса, которые по условиям эксплуатации не встраиваются в технологическое оборудование, а устанавливаются вблизи его и связаны с измеряемыми параметрами с помощью импульсных линий. Здесь также рекомендуется изображать щиты газоанализаторов и коммутационную аппаратуру исполнительных механизмов и автоматизированного электропровода.
В соответствии с ГОСТ 21.404-85 для условных изображений модулей ввода - вывода микроконтроллеров и управляющих вычислительных комплексов приняты буквенные обозначения
АЕ (AI)- модуль ввода аналоговых сигналов ;
АА (AO)- модуль вывода аналоговых сигналов;
DE (DI)-модуль ввода дискретных сигналов;
DA (DO)- модуль вывода дискретных сигналов.
В прямоугольниках «Приборы по месту», «Щит оператора-технолога» и др. рекомендуется следующая последовательность расположения средств контроля и регулирования технологических переменных: температура давления-разрежения, уровень, расход, состав вещества, масса, плотность, влажность, вязкость.
К разработанной схеме автоматизации составляется спецификация приборов и средств автоматизации на том же листе над основной надписью или в виде приложения на листах формата А4. В графе «Наименование» необходимо приводить полное наименование измерительного преобразователя, прибора и средства автоматизации, вид выходного сигнала, класс точности и другие данные, приводимые в каталогах, с указанием технических условий на выбранные технические средства. Рекомендуется та же последовательность заполнения спецификации, что и расположенная средства автоматизации на схеме.
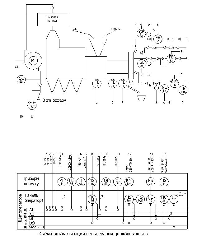
Пример выполнения схемы автоматизации приведен в Приложении Б, на котором выполнена схема автоматизации технологического процесса вельцевания цинковых кеков. Для автоматизации процесса вельцевания используется программируемый микропроцессорный контроллер Simatic S5 фирмы Siemens. Контроллер позволяет принимать и преобразовывать поступающую от измерительных преобразователей контрольную информацию, вырабатывать управляющие воздействия и осуществлять взаимодействия и обмен информацией с оператором технологического объекта управления через панель отображения информации. Использование микроконтроллеров и программно-технических комплексов исключает необходимость использования щитовых приборов контроля, регистрации и регулирования, а также больших щитовых помещений.
Описание схемы автоматизации (Пример)
Для контроля температуры в топке выбран термоэлектрический преобразователь ТХА поз.1а, сигнал с которого поступает на модуль ввода аналоговых сигналов АЕ контроллера. Для регулирования температуры расходом мазута сигнал с выхода модуля аналоговых сигналов ДО поступает на блок управления БУ-21 поз.1 б и далее на реверсивный пускатель ПБР-2М поз.1в, на выход которого подключен электрический исполнительный механизм типа МЭО поз.1г регулирующего клапана с встроенным датчиком положения исполнительного механизма поз.1д, унифицированный сигнал 4-20 мА с которого поступает на модуль ввода АI. Изменение расхода мазута автоматически приводит к изменению расхода вторичного воздуха, которое осуществляется регулятором соотношения «мазут-воздух», реализованным программно в микроконтроллере. Управляющий сигнал с модуля ДО подается на блок управления БУ-21 поз.2 б и далее на пускатель ПБР-2М поз.2в, выход которого поступает на исполнительный механизм типа МЭО регулирующего клапана подачи вторичного воздуха поз.2г. Унифицированный сигнал со встроенного датчика положения исполнительного механизма поз.2д поступает на модуль ввода АI.
Температура в зоне возгонки контролируется с помощью термоэлектрического преобразователя ТХА пoз.2a, сигнал с которой поступает на модуль ввода АI.
Температура в зоне подготовки шихты контролируется термоэлектрическим преобразователем ТХА поз. 3а, сигнал с которого поступает на модуль ввода АI контроллера.
Регулирование температуры осуществляется подачей обогащенного кислородом воздуха следующим образом. Управляющее воздействие с модуля вывода дискретных сигналов ДO поступает на блок управления БУ-21 поз.Зб и далее на пускатель ПБР-2М поз.Зв, выходной сигнал которого управляет исполнительным механизмом типа МЭО регулирующего клапана поз.3г. Сигнал с встроенного датчика положения исполнительного механизма поз.Зд поступает на модуль ввода АI.
Расход кислорода корректируется по концентрации О2 и СО в отходящих газах на выходе из пылевой камеры. Для измерения содержания кислорода используется зондовый датчик типа ЭХД-2 поз.6а с преобразователем типа ПВ-1 поз.6б, а для СО - погружной датчик типа ЭХД-ПВ1 поз.7а с преобразователем типа ПВ-1 поз. 7б. Выходные сигналы с преобразователей поступают на модуль ввода АI.
Давление мазута, вторичного воздуха и кислорода контролируется измерительными преобразователями типа Метран 43-ДИ поз.4а. (их 3 штуки). Выходные сигналы с преобразователей поступают на модуль ввода АI.
Для измерения расхода кислорода и вторичного воздуха принят комплект, состоящий из стандартных диафрагм типа ДКС поз.5а, 9а и измерительных преобразователей перепада давления типа Метран-43ДД поз 5б, 9б. Выходные сигналы измерительных преобразователей поступают на модуль ввода АI.
Для измерения массового расхода мазута используется показывающий ультразвуковой счетчик - измеритель поз. 8а., выходной сигнал с которого 4мА-20мА поступает на вход модуля АI.
Температуру мазута измеряют с помощью термопреобразователя сопротивления типа ТСМ поз. 3-1 а, который подключен к модулю ввода АI.
Для управления электроприводом вентилятора-дымососа в автоматическом режиме используется сигнал с модуля вывода дискретных сигналов DO, который подается на универсальный переключатель типа УП пз.10а. Сигнал с выхода переключателя поступает на нереверсивный пускатель типа ПА поз. 10в и далее на электродвигатель. В ручном дистанционном режиме включение и выключение электродвигателя дымососа осуществляется кнопочным постом типа ПКЕ поз. 10 б. Время работы дымососа фиксируется включенным состоянием пускателя ПА, поз. 10 в, сигнал с которого поступает на модуль ввода DI микроконтроллера.
Сигналы о положении переключателей поз. 1d, 2d, 3d и 10а в различных режимах поступают на модуль ввода АI микроконтроллера.
Информация об измеряемых и регулируемых параметрах, положении регулирующих органов, суммарном расходе сырья и энергоносителей отображается в виде таблицы или мнемосхемы на экране панели оператора поз. 11.
Спецификация на приборы и средства автоматизации, изображенные на схеме автоматизации (приложение Б) приведена в приложении В.
