Блочная дожимная насосная станция - БДНС
Когда давления на устьях добывающих скважин недостаточны для транспортирования больших количеств нефти на большие расстояния до УПН, тогда приходится сооружать БДНС.
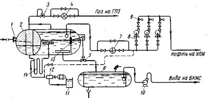
БДНС работает следующим образом. Нефтегазоводяная смесь из сборного коллектора через патрубок 1 поступает в трехфазный сепаратор 2. Газ, отделившись от жидкости, через регулятор давления "до себя" 3 и расходомер 4 поступает в газопровод, а эмульсия поступает в каплеобразователь 14, а затем перетекает во второй отсек сепаратора, где происходит разделение эмульсии за счет подачи эффективного деэмульгатора из емкости 11 дозировочным насосом 12. Вода через исполнительный механизм 5 сбрасывается в буферную емкость 6, откуда насосами 10 отправляется на БКНС, а обезвоженная нефть поступает в расходомер объемного типа 7, а затем на прием центробежных насосов 8 и транспортируется до УПН, находящейся на расстоянии 8-10 км от БДНС.
Система автоматики предусматривает попеременную работу насосных агрегатов, автоматическое включение резервного насоса, автоматическую остановку насосов откачки при срыве подачи. Все эти операции осуществляются при помощи электромагнитных манометров 9.

Рисунок 16 – Блочная дожимная насосная станция
Контрольные вопросы
- Что необходимо сделать, чтобы на графике получить совместную характеристику насосного агрегата и трубопровода?
- Какое включение насосов используется на магистральных трубопроводах?
- Какое соединение насосов применяется, если необходим высокий напор, и если необходимо увеличить подачу?
- Для чего применяется БДНС?
- Перечислить оборудование БДНС.