VIII. ЗАЩИТА ОТ ШУМА И ВИБРАЦИИ
VII. КЛАССИФИКАЦИЯ ВЕНТИЛЯЦИОННЫХ СИСТЕМ
Допустимые нормы температуры, относительной влажности и скорости движения воздуха в рабочей зоне производственных помещений и избытками явного тепла в теплый период времени
Допустимые нормы температуры, относительной влажности и скорости движения воздуха в рабочей зоне производственных помещений в холодный и переходный периоды года
Оптимальные нормы температуры, относительной влажности и скорости движения воздуха в рабочей зоне производственных помещений
| Сезон года | Категория работ | Температура, 0С | Относительная влажность, % | Скорость движения воздуха, м/с не более |
| Холодный и переходный период года | Легкая - I | 20 – 23 | 60 – 40 | 0,2 |
| Средней тяжести - IIа | 18 – 20 | 60 – 40 | 0,3 | |
| Средней тяжести – IIб | 17 – 19 | 60 – 40 | 0,3 | |
| Тяжелая -III | 16 – 18 | 60 - 40 | 0,3 | |
| Теплый период года | Легкая - I | 20 – 25 | 60 - 40 | 0,2 |
| Средней тяжести – IIа | 21 – 23 | 60 – 40 | 0,3 | |
| Средней тяжести – IIб | 20 – 22 | 60 – 40 | 0,4 | |
| Тяжелая -III | 18 – 21 | 60 – 40 | 0,5 |
Таблица
| Категория работ | Температура, 0С | Относительная влажность, % | Скорость движения воздуха, м/с не более | Температура воздуха вне постоянных рабочих мест, 0С |
| Легкая - I | 19 - 25 | 0,2 | 15 – 25 | |
| Средней тяжести – IIб | 17 – 23 | 0,3 | 13 – 24 | |
| Средней тяжести – IIб | 15 – 21 | 0,4 | 13 – 24 | |
| Тяжелая -III | 13- -19 | 0,5 | 12 – 19 |
Таблица.
| Категории работ | Температура воздуха в помещениях, 0С | Относительная влажность в помещениях, % | Скорость движения воздуха в помещениях, м/с | Температура воздуха вне постоянных рабочих мест, 0С | |||
| с незначительным избытком явного тепла | со значительным избытком явного тепла | с незначительным избытком явного тепла | со значительным избытком явного тепла | с незначительным избытком явного тепла | со значительным избытком явного тепла | ||
| Легкая - I | Не более чем на 3 0С выше средней температуры наружного воздуха в 13 ч самого жаркого месяца, но не более 280С | Не более чем на 5 0С выше средней температуры наружного воздуха в 13 ч самого жаркого месяца, но не более 280С | При 280С не более 55 | 0,2-0,5 | 0,2-0,5 | Не более чем на 3 0С выше средней температуры наружного воздуха в 13 ч самого жаркого месяца | Не более чем на 5 0С выше средней температуры наружного воздуха в 13 ч самого жаркого месяца |
| Средней тяжести – IIа | При 270С не более 60 При 260С не более 55 | 0,2-0,5 | 0,3-0,7 | ||||
| Средней тяжести – IIб | При 250С не более 70 При 240С не более 75 | 0,3-0,7 | 0,5-1,0 | ||||
| Тяжелая -III | Не более чем на 3 0С выше средней температуры наружного воздуха в 13 ч самого жаркого месяца, но не более 260С | Не более чем на 5 0С выше средней температуры наружного воздуха в 13 ч самого жаркого месяца, но не более 260С | При 260С не более 65 При 250С не более 70 При 240С не более 75 | 0,3-0,7 | 0,5-1,0 |
Вентиляция – это комплекс взаимосвязанных устройств и процессов, предназначенных для создания организационного воздухообмена, заключающегося в удалении из производственного помещения загрязненного или перегретого (охлажденного) воздуха с подачей вместо него чистого и охлажденного (нагретого) воздуха, что позволяет создать в рабочей зоне благоприятные условия воздушной среды.
Требования к вентиляции и кондиционированию воздуха производственных зданий определяются “Санитарными нормами проектирования промышленных предприятий” СН 245-71. Согласно этим нормам, количество воздуха, необходимое для обеспечения требуемых параметров воздушной среды в рабочей зоне, определяется для помещений с газовыделениями по количеству выделяющихся вредностей с таким расчетом, чтобы обеспечить предельно допустимую концентрацию, для помещений с тепловыделениями – по избыткам явного тепла, для помещений с тепло- и влаговыделениями – по избыткам явного тепла, влаги и скрытого тепла.
Газовыделения, избыточное тепло и избыточную влагу принято называть собирательным термином – вредный производственный фактор. Воздействие каждого вида вредного производственного фактора на работающего приводит к заболеванию.
Под вентиляционной системой понимают совокупность различных по своему назначению вентиляционных установок, способных обслуживать отдельное помещение или корпус.
В зависимости от способа перемещения воздуха в рабочих помещениях вентиляция делится на искусственную (механическую), естественную и комбинирован-
ную (рис.)

Рис. Виды вентиляции
При искусственной вентиляции воздух перемещается механическими устройствами – вентиляторами, эжекторами и др.
При естественной вентиляции воздухообмен осуществляется двумя способами:
- неорганизованно посредством проветривания и инфильтрации воздуха через оконные, дверные проемы и щели в них;
- организованно посредством аэрации (рис.) и с помощью дефлекторов (рис.).

Рис.. Принципиальная схема Рис.. Схема аэрации
дефлектора ЦАГИ: промышленного здания
1- патрубок; 2 – диффузор;
3 - цилиндрическая обечайка; 4-зонт.
Естественный неорганизованный воздухообмен в помещениях обусловлен действием двух изменяющихся факторов: теплового движения воздуха и ветрового давления.
Тепловое давление создается разностью весов столбов воздуха вне и внутри помещения. Таким образом, возникает перепад давлений, вызывающий воздухообмен.
Ветровое давление обусловлено действием ветра, благодаря которому на наветренных поверхностях здания возникает избыточное давление, а на заветренных сторонах – разряжение. Возникающий перепад давлений обуславливает вход воздуха с наветренной стороны здания и выход его через отверстия на противоположной заветренной стороне. В ряде случаев неорганизованного воздухообмена недостаточно для удаления вредных выделений из помещения, поэтому используют специальное устройство – дефлектор.
Дефлектор является оголовок, которым заканчивается труба, предназначенная для удаления воздуха из верхней зоны помещения. Поток ветра, ударяясь о дефлектор и обтекая его, создает вокруг большой части его периметра разряжение, обеспечивающее подсос воздуха из помещения по каналу дефлектора.
Аэрацией является организованный естественный воздухообмен, осуществляемый в заранее рассчитанных объемах и регулируемый в соответствии с внешними метеорологическими условиями.
По характеру охвата помещения вентиляционной системы могут быть (рис. 7.4):
- общеобменными;
- локальными (местными);
- комбинированными.

Рис. . Системы вентиляции:
а, б, в – общеобменная; г – общеобменная и местная; д – организация воздухообмена; I – помещение пульта управления; II – местные отсосы.
При общеобменной вентиляции смена воздуха происходит во всем объеме помещения. Этот тип вентиляции может осуществляться естественным способом с помощью аэрации и механическим способом.
Назначение местной вентиляции – локализация вредных выделений в местах образования и удаление их из помещения. Локальная вентиляция может осуществляться механически с помощью дефлектора.
При комбинированной системе одновременно с общим воздухообменом локализуются также и отдельные наиболее интенсивные источники выделений.
Локальная вентиляция может быть приточной или вытяжной.
Приточную вентиляцию предусматривают для подачи чистого воздуха в рабочую зону для создания микроклимата на отдельных местах (воздушные души, завесы, оазисы).
Воздушный душ представляет собой поток воздуха, направленный на человека. Температура воздуха и его скорость регламентируются санитарными нормами СН 245-71.
Воздушная завеса позволяет предотвратить проникновение в производственное здание через ворота холодного воздуха в зимнее время.
Воздушные оазисы улучшают метеоусловия на ограниченной площади, которая отделяется для этого со всех сторон легкими предварительными перегородками и затапливается воздухом более холодным и чистым, чем воздух помещения.
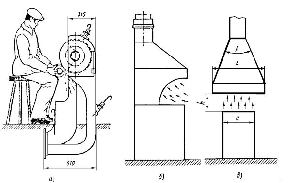
Вытяжную вентиляцию устраивают в местах образования вредных выделений в виде шкафов, зонтов, закрытых отсосов (аспирация) ванн, отсосов от различного оборудования, шлифовальных станков, пылесосов, пылестружкоприемников, эжекционных установок, индивидуальных отсасывающих агрегатов и т.д (рис.).

Рис.7.5. Укрытия и кожухи:
а – местный отсос-кожух от шлифовального станка; б – вытяжной шкаф;
в – вытяжной зонт.
Аспирация – это способ предотвращения вредных выделений в помещении за счет создания разряжения в аппарате и отсасывания их по воздуховодам из аппарата.
Эжекционные установки применяют в тех случаях, кода необходимо удалить очень агрессивную среду, пыль, способную к взрыву не только от удара, но и от трения, или легко воспламеняющиеся и взрывоопасные газы (ацетилен, эфир). Принцип действия эжектора заключается в создании в специальной камере вытекающим с большой скоростью воздухом разряжения, с помощью которого подсасывается воздух из помещения.
Общеобменная механическая вентиляция бывает приточной, вытяжной, приточно-вытяжной и может осуществляться с помощью кондиционеров.
При приточной общеобменной вентиляции свежий воздух забирается из мест вне здания и распределяется по всему объему помещения. Загрязненный воздух вытесняется свежим через двери, окна, фонари и щели строительных конструкций. Приточная вентиляция может быть с кондиционированием.
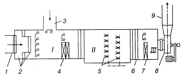
Вытяжная общеобменная вентиляция позволяет удалять занрязненный и перегретый воздух из всего объема помещения. Чистый воздух для замещения подсасывается из вне через двери, окна, щели строительных конструкций (инфильтрация). Приточно-вытяжная общеобменная механическая вентиляция состоит из двух отдельных установок. Через одну подается чистый воздух, через другую удаляется загрязненный. Приточно-вытяжная вентиляция может быть с рециркуляцией. Кондиционер – это вентиляционная установка, которая с помощью приборов автоматического регулирования поддерживает в помещении заданные параметры воздушной среды (рис. ).

Рис.7.6. Схема кондиционера:
1- заборный воздуховод; 2 – фильтр; 3 – соединительный воздуховод; 4 – калорифер;
5 – форсунки увлажнителя воздуха; 6 – каплеуловитель; 7 – калорифер второй ступени;
8 – вентилятор; 9 – отводной воздуховод.
Кондиционеры бывают двух видов:
- установки полного кондиционирования воздуха, обеспечивающие постоянство температуры, относительной влажности, скорости движения и чистоты воздуха;
- установки полного кондиционирования, обеспечивающие постоянство только части этих параметров или одного параметра, чаще всего температуры.
В зависимости от способа холодоснабжения кондиционеры подразделяются на автономные и неавтономные. В автономных кондиционерах холод вырабатывается собственными ветровыми холодильными агрегатами. Неавтономные кондиционеры снабжаются холодоносителями централизованно.
По способу приготовления и раздачи воздуха кондиционеры подразделяются на центральные и местные.
Конструкция центральных кондиционеров предусматривает приготовление воздуха вне обслуживаемых помещений и его раздачу по системе воздуховодов.
В местных же кондиционерах приготовление воздуха происходит непосредственно в обслуживаемых помещениях, воздух раздается сосредоточенно без воздуховодов.
Классификация механической вентиляции показана на рисунке 7.7.
