УЗО, реагирующее на появление напряжения корпуса электроустановки относительно земли

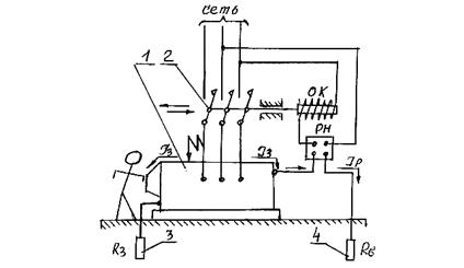
Рисунок 5 – Схема УЗО, реагирующая на появление напряжения на корпус относительно земли
1 - электроустановка, 2 – автоматический выключатель, 3 – заземлитель корпуса,
4 – вспомогательный заземлитель; РН – реле напряжения, ОК – отключающая катушка автоматического выключателя, Rз и Rв – сопротивление защитного и вспомогательного заземления, Iз и Iр – ток замыкания и ток, проходящий через реле напряжения РН.
Датчиком в этой схеме служит реле напряжения РН, включенное между защищаемым корпусом 1 и вспомогательным заземлителем 4. При замыкании одной из фаз на корпус в начале проявляется защитное свойство заземления (З), снижающее электрический потенциал корпуса до некоторого уровня jк. Если jк превысит допустимую по электробезопасности величину jдоп , при котором напряжение прикосновения к корпусу Uпр будет выше допустимого Uдоп , сработает устройство защитного отключения и поврежденная электроустановка автоматически отключается от сети.
Входная величина электрического параметра при которой датчик УЗО реагирует на отключение аварийной электроустановки называется уставкой.
Входная величина тока и напряжения датчика УЗО, при которой наступает отключение не должна превышать предельно допустимых значений, указанных в таблице 1.
Таблица1 – Предельно допустимые значения
| Род тока | Продолжительность воздействия, с | |||||||||||
| ≤ 0,08 | 0,1 | 0,2 | 0,3 | 0,4 | 0,5 | 0,6 | 0,7 | 0,8 | 0,9 | 1,0 | >1.0 | |
| Пере-менный 50Гц | ||||||||||||
| Постоянный |
Примечание: в числителе даны напряжения U,В; в знаменателе - токи I, мА.