Конструктивно-технологические особенности электронной аппаратуры.
Физико-технический факультет
Кафедра информационных систем и технологий
Буть С.В., Яничкин В.В.
ТЕХНОЛОГИЯ ЭЛЕКТРОННОЙ
АППАРАТУРЫ
Конспект лекций для студентов дневной и заочной форм обучения
по специальности:
I-38.02.01 - информационно-измерительная техника,
Гродно 2014
СОДЕРЖАНИЕ
1. ОСНОВНЫЕ ПРИНЦИПЫ ПРОЕКТИРОВАНИЯ ТЕХНОЛОГИЧЕСКИХ
ПРОЦЕССОВ……………………………………………………………………………….…….4
1.1. Конструктивно-технологические особенности электронной аппаратуры……...4
1.2. Структура производственного процесса, виды и типы технологических
процессов ……………………………………………………………………………….6
2. ТЕХНОЛОГИЯ КОМУТАЦИОННЫХ ПЛАТ ……………………………………………….11
Конструктивно технологические требования, предъявляемые к платам
и печатному монтажу……………………………………………………………….11
2.2. Классификация плат и методов их изготовления………………………………..13
2.3. Материалы для изготовления печатных плат …………………………………... 16
2.4. Формирование рисунка схемы………………………………………………….…. 17
2.5. Травление меди с пробельных мест…………………………………………….… 24
2.6. Химическая и электрохимическая металлизация…………………………….…26
2.7. Механическая обработка печатных плат………………………………………... 29
2.8. Технология односторонних и двусторонних печатных плат…………………....31
2.9. Технология многослойных печатных плат………………………………………37
2.10. Технология проводных плат………………………………………………………46
2.11. Платы микроэлектронной аппаратуры………………………………………….52
2.12. Контроль качества и диагностика плат…………………………………………56
3. ТЕХНОЛОГИЯ ЭЛЕКТРИЧЕСКИХ СОЕДИНЕНИЙ ………………………………………62
3.1. Методы создания монтажных соединений………………………………………..62
3.2. Физико-химическое содержание процесса пайки………………………………..66
3.3. Припои, флюсы, пасты ………………………………………………………………81
3.4. Технологические основы индивидуальной пайки…………………………….....87
3.5. Контроль качества паяных соединений…………………………………………..91
3.6. Физико-технологическое содержание сварки…………………………………....96
3.7. Монтажная микросварка…………………………………………………………...99
3.8. Накрутка и обжимка……………………………………………………………….. 102
4. ТЕХНОЛОГИЯ РАЗЪЕМНЫХ И НЕРАЗЪЕМНЫХ СОЕДИНЕНИЙ …………………107
4.1. Классификация механических соединений и области их применения………107
4.2. Разъемные соединения……………………………………………………………..108
4.3. Неразъемные соединения………………………………………………………..…110
4.4. Пайка механических соединений………………………………………………….114
4.5. Конструкционная сварка………………………………………………………...…116
5. СБОРКА ЭЛЕКТРОННЫХ БЛОКОВ НА ПЕЧАТНЫХ ПЛАТАХ ……………………….121
5.1. Структура технологического процесса сборки…………………………….……121
5.2. Подготовка ЭРЭ и ИМС к монтажу…………………………………………...…122
5.3. Установка компонентов на платы……………………………………………..…126
5.4. Автоматическое оборудование для сборки………………………………………129
5.5. Технология поверхностного монтажа…………………………………………….132
6. ГРУППОВАЯ ПАЙКА БЛОКОВ …………………………………………………………….137
6.1. Классификация способов групповой пайки…………………………………..…137
6.2. Пайка погружением…………………………………………………………………138
6.3. Волновые способы пайки………………………………………………………..…140
6.4. Пайка групповым инструментом…………………………………………………144
6.5. Пайка летучим теплоносителем……………………………………………..……146
6.6. Подготовительно-заключительные операции при групповой пайки……..…148
7. ВНУТРИБЛОЧНЫЙ И МЕЖБЛОЧНЫЙ МОНТАЖ …………………………………..…153
7.1. Технические требования к монтажу…………………………………………..…153
7.2. Подготовка проводов к монтажу………………………………………………….155
7.3. Технология жгутового монтажа………………………………………………..…158
8. ТЕХНОЛОГИЯ РЕГУЛИРОВКИ И ТРЕНИРОВКИ …………………………………….164
8.1. Методы регулировки…………………………………………………………...…164
8.2. Технологическая тренировка и испытания………………………………….…165
ЛИТЕРАТУРА …………………………………………………………………………….169
1. ОСОВНЫЕ ПРИНЦИПЫ ПРОЕКТИРОВАНИЯ ТЕХНОЛОГИЧЕСКИХ
ПРОЦЕССОВ
Конструктивно-технологические особенности электронной аппаратуры.
Технология – это наука, которая изучает основные закономерности, действующие в процессе производства, и использует их для получения изделий требуемого качества, заданного количества и номенклатуры при минимальных материальных, энергетических и трудовых затратах. Технология (от греч. techne – умение, мастерство, logos – наука) – это наука о мастерстве.
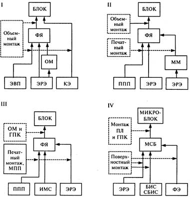
Современная электронная аппаратура(ЭА) представляет собой сложный комплекс технических устройств, объединенных общим управлением и предназначенных для автоматического приема, преобразования, обработки и передачи информации в соответствии с заданным алгоритмом. С конструктивно-технологической точки зрения ЭА – это совокупность механических деталей, активных и пассивных электрорадиоэлементов (ЭРЭ), интегральных микросхем (ИМС), объединенных в функционально законченные сборочные единицы, и их модульная компоновка. Базовые конструкции аппаратуры имеют несколько уровней модульности, предусматривающих объединение простых модулей в более сложные. По мере развития ЭА элементная база и состав модулей изменяются, изменяется и технология их изготовления. Эти изменения удобно проследить, рассматривая поколения выпускаемой ЭА (рис. 1.1)
Рис.1.1 Структурная схема поколений ЭА.
Первое поколение (20-50-е гг.) характеризовалось использованием электровакуумных приборов (ЭВП), электромеханических коммутационных элементов (КЭ) и объемных ЭРЭ. В качестве начального уровня использовался объемный модуль (ОМ), под которым подразумевалась часть схемы, выполняющая определенную функцию (формирование, усиление, преобразование сигнала) и имеющая законченное конструктивное оформление. Электрическое соединение ЭРЭ на всех уровнях осуществлялось вручную с применением проводного (объемного) монтажа. Аппаратура имела большие габариты и массу, низкую надежность, высокую трудоемкость сборки, низкую плотность монтажа (не более 2–5 соед/см2), потребляла большое количество электроэнергии (1 – 100 кВт).
При дальнейшем развитии ЭА возникло противоречие между стремлением конструкторов повысить плотность монтажа и большой мощностью, рассеиваемой ЭВП, которое разрешилось созданием новой элементной базы – полупроводниковых приборов (ППП).
Второе поколение (50-60-е гг.) характеризовалось широким применением дискретных ППП, микромодулей из объемных ЭРЭ, внедрением печатных плат (ПП) на этапе сборки функциональных ячеек. Межблочные соединения выполнялись жгутовым монтажом. Плотность монтажа увеличилась в 10 раз и составила 15–20 соед/см2, в 10 раз увеличилась производительность процессов сборки за счет групповой пайки волной припоя, объем функциональных ячеек уменьшился в 20–25 раз, потребляемая мощность – в 10–20 раз.
Третье поколение (70-80-е гг.) характеризовалось использованием интегральных элементов и созданием типовых элементов сборки (ТЭС), которые отличались упорядоченным расположением элементов, что позволило использовать их механизированную установку на платы. ИМС стала модулем первого уровня, а плотность упаковки достигла 500 элем/см2.
return false">ссылка скрытаВначале превалировали аналоговые ИМС на основе биполярных транзисторов. Начиная с 1975 г. большее распространение получили цифровые ИМС на основе МОП-структур (металл–оксид–проводник), которые обладали существенными преимуществами по возможности миниатюризации, энергопотреблению и высокому проценту выхода годных изделий. Объем блоков уменьшился в 20 раз, потребляемая мощность – в 15 раз, а производительность труда увеличилась в 3 – 5 раз по сравнению со вторым поколением ЭА.
Для монтажа функциональных ячеек (ФЯ) стали применяться многослойные печатные платы (МПП), а внутриблочный монтаж проводили с помощью коммутационных печатных плат (КПП) и гибких печатных кабелей (ГПК). Межблочные соединения выполнялись методом накрутки с помощью эффективного полуавтоматического и автоматического оборудования. Это позволило достигнуть высокой идентичности и надежности аппаратуры и снизить ее себестоимость, широко применять автоматизацию производства.
В дальнейшем возникло новое противоречие: степень интеграции элементов в одном кристалле достигла 105 элементов, а габариты блоков оставались значительными из-за громоздких функциональных, коммутационных и других элементов.
Четвертое поколение (80-е гг.) характеризовалось использованием микроблоков, которые содержали микросборки частного применения, бескорпусные ИМС, большие и сверхбольшие интегральные микросхемы (БИСи СБИС), акусто- и оптоэлектронные приборы, а также безвыводные поверхностно-монтируемые ЭРЭ и ИМС.
Основной конструктивной единицей оставался ТЭС, но для его изготовления использовались методы поверхностного монтажа, внутриблочный монтаж полосковыми линиями (ПЛ) и ГПК. Плотность монтажа увеличилась, объем монтажа уменьшился в 20 раз, потребляемая мощность – в 50 раз, производительность труда увеличилась в 40–50 раз по сравнению со вторым поколением.
Совершенствование элементов памяти на полупроводниковых структурах для внутренних запоминающих устройств (ЗУ) позволило в едином технологическом цикле на одной подложке создавать не только матрицы памяти, но и схемы управления ЗУ. Таким образом были созданы микропроцессоры –устройства обработки цифровой информации, состоящие из памяти, операционной и управляющей частей. Быстродействие электронных приборов по сравнению со вторым поколением возросло на два порядка, что привело к расширению их функциональных возможностей в обработке информации (1 Гбит/с).
Многие виды СБИС, например анализаторы и синтезаторы речи, ЗУ, удовлетворяли требованиям обработки больших объемов данных, свойственных эре информации. Так, в 90-х гг. до 50 % всего работающего населения в США и 35 – 40 % в Западной Европе и Японии было занято в сфере информации. Успехи в развитии технологии СБИС как ключевого элемента систем обработки информации оказали глубокое влияние на всю мировую экономику.
Пятое поколение (90-е гг.) характеризуется использованием многокристальных модулей (МКМ), сверхпроводниковых схем и элементов, вхождением в молекулярную электронику. Это требовало создания новых материалов, сверхчистых и безлюдных технологий. Повышение степени интеграции изменило состав и структуру конструктивных уровней компоновки ЭА: увеличилась сложность элементной базы, уменьшилось число уровней, снизилась сложность конструкции устройств, т. е. микроэлектронные изделия заняли уровни более высокой функциональной сложности.
В XXI в. темпы внедрения инноваций в микроэлектронику будут еще выше. Так, программа развития национальной полупроводниковой промышленности США (National Technology Roadmap for Semiconductors) в 2001г. предусматривает переход на топологический размер 0,15 мкм, плотность элементов достигнет 107/см2, алюминиевая металлизация будет заменена на медную.
Анализ развития ЭА позволяет не только установить особенности современной аппаратуры, но и наметить перспективные пути развития технологии ее производства. К конструктивно-технологическим особенностям ЭА относятся:
· постепенное усложнение и переход от аппаратов к сложным комплексам и системам;
· прогрессирующая микроминиатюризация изделий;
· модульная компоновка из функционально законченных схем и блоков;
· изготовление отдельных модулей и последующая их сборка в более сложные единицы;
· автоматизация проектирования, изготовления и управления производством.
Таким образом, микроминиатюризация и повышение степени интеграции определяют комплексный подход к разработке ЭА, включающий во взаимосвязи решение системо-, схемотехнических и конструкторско-технологических вопросов.
1.2. Структура производственного процесса, виды и типы технологических процессов.
Производственный процесс– это совокупность действий, в результате которых сырье, материалы и полуфабрикаты, поступающие на предприятие, превращаются в готовое изделие. Он делится на основной и вспомогательный.
Основной производственный процесс – это изготовление продукции, определяемой госзаказом и договорами с другими предприятиями.
Вспомогательный –ремонт оборудования, транспортирование объектов производства, изготовление оснастки, инструментов, электроснабжение.
Технологический процесс(ГОСТ 3.1109–82) – часть производственного процесса, представляющая собой комплекс действий исполнителей и оборудования, направленных непосредственно на преобразование материалов и комплектующих изделий в готовое изделие. ТП состоит из операций, установов, позиций, переходов (рис. 1.2).
Операция– законченная часть ТП, выполняемая на одном рабочем месте одним или несколькими рабочими при неизменном технологическом оборудовании. С изменением вида оборудования вводится новая операция. Технологическая операция является основной единицей производственного планирования и учета. На основе операций оценивается трудоемкость изготовления изделий и устанавливаются нормы времени и расценки, определяется требуемое количество рабочих, оборудования, приспособлений и инструмента, себестоимость, ведется календарное планирование производства и осуществляется контроль качества и сроков выполнения работ. В условиях автоматизированного производства под операцией следует понимать законченную часть ТП, выполняемую непрерывно на автоматической линии, которая состоит из нескольких единиц технологического оборудования, связанных автоматически действующими транспортно-загрузочными устройствами. При гибком автоматизированном производстве непрерывность выполнения операции может нарушаться, например, направлением собранного полуфабриката, электронного узла на промежуточный склад-накопитель в периоды между отдельными операциями, выполняемыми на разных технологических модулях.

Рис 1.2.Структура производственного процесса.
Кроме технологических в состав ТП включают ряд необходимых для его осуществления вспомогательных операций (транспортных, контрольных, маркировочных и т. п.).
Установ– часть операции, выполняемая при одном закреплении изделия.
Позиция–фиксированное положение, занимаемое неизменно закрепленной обрабатываемой заготовкой или собираемой сборочной единицей совместно с приспособлением относительно инструмента или неподвижной части оборудования для выполнения определенной части операции.
Переход–законченная часть операции, которая характеризуется постоянством инструмента, оснастки, режимов обработки, поверхности детали. Переход делится на рабочий ход и вспомогательный. Рабочий ход обеспечивает изменение характеристик обрабатываемой детали, вспомогательный — возврат рабочего органа в исходное положение
Длительность производственного цикла Тц – это время между запуском в производство и окончанием изготовления партии изделий, которое зависит от сочетания операций.
При последовательном сочетании:

где N –количество изделий в партии;
Тs –время прохождения всех операций одним изделием;
Тштi, –штучное время i-й операции.
При параллельном сочетании каждое изделие переходит на следующую операцию, не ожидая, пока остальные изделия этой партии пройдут данную операцию, тогда

где Тmax – длительность максимальной по времени операции.
При смешанном способе сочетания операций:

где tсм – смещение во времени между началами двух последовательно идущих операций

Различают технологический и производственный циклы изготовления изделий.
Технологический цикл– это минимальное суммарное время, необходимое для прохождения одной партии изделий по маршруту изготовления от первой операции до последней. Он складывается из длительности операций с учетом времени на загрузку-выгрузку.
Производственный цикл–это фактическое время изготовления изделий в условиях реального производства. Он складывается из технологического цикла и длительности вспомогательных операций: транспортирования партий, контроля качества, времени пролеживания между операциями.
Оптимально, если производственный цикл равен двум технологическим. Так, в японских компаниях технологический цикл изготовления кристалла 64К составляет 3 сут при трехсменной работе, а производственный – 6 сут (в США – 40 сут). Чем короче цикл изготовления, тем выше выход годных изделий.
Согласно ГОСТ 14.002–83 Единой системы технологической подготовки производства (ЕСТПП), все ТП по степени универсальности и применяемости подразделяются на единичные и унифицированные.
Единичный ТП – это ТП, который разработан для изготовления изделия одного наименования независимо от программы выпуска.
Унифицированный ТП разрабатывается для группы изделий, имеющих определенные признаки общности. К унифицированным относятся групповые и типовые ТП.
Типовые ТП разрабатываются для группы изделий, объединенных на основе признаков конструктивно-технологической общности, и характеризуются единством содержания и последовательности большинства технологических операций и переходов для объектов всей группы.
Групповой ТП отличается от типового тем, что разрабатывается для группы изделий более широкой номенклатуры, которые могут не иметь геометрического подобия. Они объединяются в группу по наличию признаков общности обработки, технологической наладки на ту или иную операцию, последующей совместной обработки. Типовые и групповые процессы приведены в отраслевых и государственных стандартах.
При разработке унифицированных ТП все детали и сборочные единицы предварительно классифицируют по признакам конструктивной и технологической общности, используя конструкторские и технологические классификаторы. Для каждого из систематизированных классов деталей и сборочных единиц разрабатывается единый унифицированный ТП, по которому может быть изготовлено любое изделие этого класса. Следовательно, унификация ТП совместно с унификацией изделий позволяет привести в систему существующие ТП, значительно сократить сроки и затраты на технологическую подготовку производства, поставить на научную основу разработку новых ТП, автоматизировать проектирование ТП, внедрить передовые и экономичные методы труда и технологическое оснащение. Типовые ТП эффективны в условиях крупносерийного и массового, групповые – в условиях мелкосерийного и серийного производства.
По основному назначению ТП разделяются на рабочие и перспективные. Рабочий ТП выполняется по рабочей технологической и конструкторской документации, перспективный ТП соответствует современным достижениям науки и техники, но методы и средства его осуществления на данном предприятии предстоит освоить.
В зависимости от типа производства разработанный ТП может быть представлен с различной степенью детализации: маршрутный, маршрутно-операционный, операционный. Маршрутный ТП – процесс, выполняемый по документации, в которой содержание операций излагается без указания переходов и детализации режимов обработки. В маршрутно-операционном и операционном ТП содержание соответственно отдельных (наиболее сложных и важных) или всех операций конкретизируется с указанием содержания переходов и режимов обработки.
ТП реализуется с помощью универсального и специального технологического оснащения (СТО), к которому в соответствии с ГОСТ 14.301–85 относятся оборудование, оснастка и средства механизации и автоматизации.
Технологическим оборудованиемназывают орудия производства, в которых для выполнения определенной части ТП размещаются материалы или заготовки, средства воздействия на них, технологическая оснастка и, при необходимости, источники энергии.
Технологическая оснасткапредставляет собой орудия производства, добавляемые к технологическому оборудованию для выполнения определенной части ТП, например штампы, пресс-формы, сборочные головки и др.
Средства механизации– это орудия производства, в которых ручной труд человека частично или полностью заменен машинным с сохранением участия человека в управлении.
Средства автоматизации– это орудия производства, в которых функция управления передана машинам и приборам.
Тип производства определяет не только степень детализации разработанного ТП, но и организационно-технические и экономические показатели. Под типом производства понимается классификационная категория, определяемая по признакам широты номенклатуры, регулярности, стабильности и объема выпуска изделия. В зависимости от номенклатуры, регулярности и объема выпуска (ГОСТ 14.004–84) производство подразделяется на три типа: единичное, серийное и массовое. Одной из основных характеристик типа производства является коэффициент закрепления операций, который равен отношению количества выполняемых операций О к числу рабочих мест Р:
Единичное производство характеризуется широкой номенклатурой изготавливаемых изделий и малым объемом их выпуска. Для серийного производства характерна ограниченная номенклатура изделий, изготавливаемых периодически повторяющимися партиями при сравнительно большом объеме выпуска. В зависимости от количества изделий в партии и значения Кзо серийное производство может быть мелкосерийным и крупносерийным.
Наиболее характерные признаки типов производства приведены в табл. 1.1.
Для производства ЭА характерно изменение серийности производства: изготовление элементов и функциональных электронных модулей следует рассматривать как крупно-серийное или массовое производство, а окончательную сборку и настройку всего изделия – как мелкосерийное, что необходимо учитывать при проектировании ТП и организации производства. Чем больше серия выпускаемых изделий и меньше их номенклатура, тем большее число операций включает разрабатываемый ТП.
Таблица 1.1. Характеристика типов производства
| Показатель ТП | Тип производства | ||
| Мелкосерийное | Серийное | Крупносерийное | Массовое |
| Объем N, партии тыс. шт Кз.о Номенклатура изделий Регулярность выпуска Технологическое оснащение Квалификация рабочих Специализация рабочих мест Степень детализации процесса | 1-10 20 < Кз.о. <40 Очень широкая Нет Универсальное Высокая Отсутствует Маршрутный | 10-100 100-1000 10< Кз.о < 20 1 < Кз.о <10 Широкая Ограниченная Периодические партии Специализированное Средняя На выполн. нескольких операц. Маршрутно- Операционный операционный | >1000 Кз.о <1 Узкая Непрер. выпуск Специальное Низкая На каждой операц Операционный |
Если ТП состоит из укрупненных операций, содержащих большое количество переходов, то такой процесс называется концентрированным. Он характеризуется высокой квалификацией рабочих, универсальностью оборудования и оснастки, упрощением нормирования, но большой длительностью цикла изготовления изделия.
Массовое производство отличается узкой номенклатурой и большим объемом выпуска изделий, непрерывно изготавливаемых в течение продолжительного времени. При этом используется специальное высокопроизводительное оборудование, которое располагается по ходу технологического процесса и во многих случаях связывается транспортными устройствами и конвейерами с постами промежуточного автоматизированного контроля, а также промежуточными складами – накопителями деталей и сборочных единиц, снабженными роботами-манипуляторами, широко применяются автоматические линии и автоматизированные производственные системы, управляемые ЭВМ.
Требуемая точность достигается методами автоматического получения размеров на настроенном оборудовании при обеспечении взаимозаменяемости обрабатываемых заготовок и сборок. Только в отдельных случаях применяется селективная сборка, обеспечивающая групповую взаимозаменяемость.
Средняя квалификация рабочих в современном массовом производстве ниже, чем в единичном, так как на автоматизированном оборудовании могут работать рабочие-операторы сравнительно низкой квалификации.