Лестницы, их виды и основные элементы
ЛЕСТНИЦЫ, ПАНДУСЫ, ЛИФТЫ И ЭСКАЛАТОРЫ
План.
1. Лестницы, их виды и основные элементы.
2. Конструктивные решения лестниц.
3. Пандусы и область их применения.
4. Специальные эвакуационные пути.
5. Лифты и эскалаторы.
Путями сообщения между этажами зданий служат лестницы, пандусы и механические средства (лифты и эскалаторы). Лестницы и пандусы являются также путями для эвакуации людей из зданий и сооружений в аварийных условиях.
В соответствии с назначением лестницы должны удовлетворять требованиям прочности, долговечности, создания необходимых удобств и безопасности при движении людей, пожарной безопасности. Если лестницы служат расчетными путями эвакуации людей из каменных зданий, то по требованиям пожарной безопасности их ограждают со всех четырех сторон и сверху огнестойкими ограждениями, образующими отдельное помещение — лестничную клетку.
Размещение лестниц в плане здания, их число и размеры зависят от назначения, габаритов и компоновки здания с учетом обеспечения удобной и в заданное время эвакуации людей. Так, в гражданских зданиях должно быть не менее двух лестниц, а для жилых зданий с числом этажей 10 и более — обеспечен выход из каждой квартиры на две лестницы непосредственно или через соединительный переход.
Лестница состоит из маршей и площадок (рис. 10.1). Марш представляет собой конструкцию, состоящую из ступеней, поддерживающих их косоуров (располагаемых под ступенями) или тетив (примыкаемых к ступеням сбоку).
У ступеней вертикальную грань называют подступенком, а горизонтальную — проступью. Все ступени лестничного марша должны иметь одинаковую форму, кроме верхней и нижней, называемых фризовыми.
Лестничные площадки бывают этажными (на уровне этажа) и междуэтажными (промежуточными). Для безопасности и удобства движения лестничные марши и площадки оборудуют ограждениями с поручнями высотой 0,9 м.
По назначению лестницы подразделяют на основные, или главные, служащие для постоянного использования и эвакуации, вспомогательные — для служебного сообщения между этажами и аварийные (наружные эвакуационные лестницы, пожарные).
По числу маршей в пределах высоты одного этажа лестницы делят на одно-, двух-, трех- и четырехмаршевые. В ряде зданий, когда лестницей пользуется небольшое число людей (например, в квартирах в двух уровнях), применяют винтовые лестницы.
Уклон лестничных маршей принимают по СНиПу (в зависимости от назначения и этажности зданий) для основных лестниц 1:2—1:1,75, а для вспомогательных — до 1 : 1,25. Число ступеней в марше назначается не более 18, но не менее 3.
Высота проходов между площадками и маршами должна быть не менее 2 м. Ширину лестничных маршей назначают с учетом обеспечения эвакуации людей в заданное время. При этом наименьшая ширина маршей основных лестниц в двухэтажных домах должна быть 900 мм, а в домах с числом этажей 3 и более — 1050 мм. Между маршем должен быть обеспечен зазор 100 мм (в плане) для пропуска пожарных шлангов.
Ширина площадок должна быть не менее ширины марша (из условия обеспечения одинаковой пропускной способности), причем ширина лестничных площадок основных лестниц — не менее 1200 мм.
Высоту и ширину ступеней лестницы назначают таким образом, чтобы было обеспечено удобство движения людей. При этом принимают, что нормальный шаг человека равен примерно 600 мм при ходьбе по горизонтальной поверхности и 450 мм при движении по лестнице. Исходя из этого ширина и высота ступени в сумме должны составить 450 мм. Отсюда установлено, что ширина ступени (проступь) должна быть 300 мм, но не менее 250 мм (длина ступни человека). Высоту ступени (подступенок) назначают чаще всего 150 мм, но не более 180 мм. Для того чтобы определить размеры лестниц и лестничной клетки, в которой они будут размещены, необходимо знать высоту этажа и размеры ступеней.

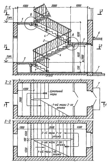
Рис. 10.1. Двухмаршевая лестница
(разрез и поэтажные планы):
1 — цокольный марш, 2 — этажные площадки, 3 — ограждение, 4 — лестничный марш, 5 — междуэтажная площадка, 6 — входной козырек, 7 — входная площадка
Пример. Определить размеры двухмаршевой лестницы жилого дома, если высота этажа равна 3,3 м, ширина марша 1,05 м, уклон лестницы 1:2.
Принимаем ступень размерами 150 х 300 мм.
Ширина лестничной клетки
В = 2l + 100 = 2 • 1050 + 100 = 2200 мм.
Высота одного марша
H/2 = 3300/2 = 1650 мм.
Число подступенков в одном марше
n = 1650/150 = 11.
Число проступей в одном марше будет на единицу меньше числа подступенков, так как верхняя проступь располагается на лестничной площадке:
n -1= 11 - 1 = 10.
Длина горизонтальной проекции марша, называемая его заложением, будет равна
а = 300(n - 1) = 300 • 10 = 3000 мм.
Принимаем ширину промежуточной площадки
с1 = 1300 мм, этажной с2 = 1300 мм, получим, что полная длина лестничной клетки (в чистоте) составит
А = а + с1 + с2 = 3000 + 1300 + 1300 = 5600 мм.

Рис. 10.2. Схема разбивки лестницы:
а — в разрезе, б — в плане
На рис. 10.2 дано графическое построение лестницы, которое выполняют следующим образом. Высоту этажа делят на части, равные числу подступенков в этаже, и через полученные точки проводят горизонтальные прямые. Затем горизонтальную проекцию (заложение марша) делят на число проступей без одной и через полученные точки проводят вертикальные прямые. По полученной сетке вычерчивают профиль лестницы.