Автоподъемники коленчатые (АКП)
АКП, как и АЛ, имеют неповоротную и поворотную части. Неповоротные части и механизмы поворота АЛ и АКП идентичны. Основное их различие заключается в устройстве механизмов выдвижения люльки.
АКП могут быть (рис. 11.26) с шарнирными соединениями колен, телескопическими и комбинированными. Все они имеют одинаковое устройство: шасси 1, опоры 2, механизм блокировки рессор 3, поворотную раму 4, механизм подъема колен 5, комплект колен 6 и люльку 7.
а б в
Рис. 11.26 Автоподъемники коленчатые (АКП):
а – с шарнирным соединением колен; б – с телескопическим соединением колен;
в – с шарнирно-телескопическим соединением колен
В дальнейшем будут рассматриваться автоподъемники коленчатые
с телескопическим соединением колен.
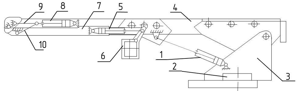
Особенности конструкций АКП. Управление стрелами и люлькой осуществляется гидравлическими цилиндрами. Их размещение показано на рис. 11.27.
| 9 |
| 3 |
| 2 |
| 1 |
| 6 |
| 10 |
| 4 |
| 8 |
| 5 |
| 7 |
Рис. 11.27. Принципиальная кинематическая схема подъема и выдвигания люльки:
1 – гидроцилиндр подъема комплекта стрелы; 2 – механизм поворота; 3 – поворотная
рама; 4 – телескопическая стрела; 5 – гидроцилиндр выравнивания люльки; 6 – люлька;
7 –шарнирная стрела; 8 – гидроцилиндр подъема шарнирной стрелы; 9, 10 – рычаги
Гидроцилиндр 1 (их на АКП по два) с размерами 160×110×1200 мм (диаметр поршня, шток, ход поршня) обеспечивает подъем комплекта стрел: телескопической 4 и шарнирной 7. Гидроцилиндр 8 (160×110×1440 мм) подъема шарнирной стрелы 7 обеспечивает рычагами 9 и 10 ее подъем на 180°. На каждой стреле 7 установлен гидроцилиндр 5 выравнивания люльки 6.
Его осуществляет специальный блок управления горизонтированием (БУГ).
Люлька грузоподъемностью 300 кг может вмещать 4 человека. Она
поворачивается специальным гидроцилиндром поворота вправо и влево на 45°.
В люльке расположен лафетный ствол с подачей 20 л/с. Ствол может поворачиваться влево и вправо на 50°, а вверх и вниз, соответственно,
на 65° и 40°.
Подача воды к лафетному стволу осуществляется по специальным водоводам телескопического устройства, размещенных внутри стрел, имеющих коробчатое прямоугольное сечение.
Люлька оборудована устройством, ограничивающим грузоподъемность.
В люльке имеется пульт управления.
Телескопическая стрела 4 состоит из трех секций, размещенных одна в другой. Принципиальная схема ее устройства представлена на рис. 11.28.
| 1 |
| 2 |
| 3 |
| 4 |
| 5 |
| 6 |
| 7 |
| 8 |
| 9 |
| 10 |
| 11 |
| 12 |
| 13 |
| 14 |
| 15 |
| 16 |
Рис. 11.28. Схема выдвигания телескопических секций:
1 – первая секция; 2, 14 – скользун; 3 – натяжник; 4 – вторая секция; 5, 8, 9, 15, 16 – ролики;
6 – основание телескопа; 7 – цепь сдвигания; 10 – тяга; 11 – шток;
12 – гидроцилиндр; 13 – цепь выдвигания
Все секции телескопической стрелы перемещаются относительно друг друга по роликам и скользунам. Шток 11 гидроцилиндра 12 закреплен к торцу основания телескопа 6, а гидроцилиндр 12 свободно перемещается, опираясь скользуном 14 на поверхность первой секции 1. При выдвижении гидроцилиндр 12 перемещается влево и вытягивает вторую секцию, жестко связанную с гидроцилиндром. Одновременно вытягивается цепью 13
и первая секция. Вытягивание первой секции 1 происходит через ролик 5
с помощью цепи 13. Один конец цепи крепится на первой секции, а второй – посредством тяги 10 закрепляется на торце основания телескопа 6.
При сдвигании секций гидроцилиндр 2 перемещается вправо, втягивает вторую секцию 4. Одновременно через ролик 9 цепью 7, соединенной
с первой секцией, вся система будет втягиваться в основание телескопа 6. Натяжение цепи 7 производится натяжником 3.
Время маневров люльки при максимальной скорости движения
и полной нагрузке представлено для некоторых АКП в табл. 11.13.
Таблица 11.13
| Маневры | Размерность | АКП-32(4310) | АКП-50(6923) |
| Подъем на полную высоту Опускание на землю Поворот на 360° Время установки на выносные опоры Глубина опускания люльки | с с с с м | 120±10 110±10 | 220±10 210±10 120±10 |
АКП производят с показателями технических характеристик, представленных в табл. 11.14.
Таблица 11.14
| Наименование показателя | Размерность | Величина |
| Высота подъема люльки | м | 30…50 |
| Грузоподъемность люльки | кг | 200…400 |
| Вылет стрелы | м | 16…19 |
| Вылет стрелы с люлькой/ пеногенераторами | м | 20/24 |
| Угол поворота стрелы | град | |
| Угол поворота люльки | град | ±(30…45) |
| Количество пеногенераторов | шт. |
Обеспечение готовности и надежности АКП. Для эффективного использования АКП или АЛ предусматривается техническое обслуживание и техническое освидетельствование.
Техническое обслуживание включает все виды проводимых обслуживаний, как и для АЛ. Перечень работ регламентируется заводскими инструкциями.
Зона обслуживания устанавливается заводом-производителем. Она включает область безопасной работы полностью нагруженной люльки, охватывающей высоту подъема и вылет стрелы (рис. 11.29).
Техническое освидетельствование АКП. Техническое освидетельствование производится в целях обеспечения надежной работы всех механизмов АКП. Проверку работы всех устройств автоматики, блокировки
и сигнализации проводят по всей границе поля движения люльки называемого зоной обслуживания.
| 85о |
| 73о |
| Рис.11.29. Поле обслуживания АКП-32(4310) |
Техническое освидетельствование проводит владелец. Установлено два вида технического освидетельствования: частичное – не реже одного раза в год, полное – не реже одного раза в три года. Кроме того, производится не реже одного раза в шесть месяцев испытание ограничителя грузоподъемности.
Производится полное внеочередное техническое освидетельствование в случае замены расчетных элементов и сборочных единиц, а также после капитального ремонта АКП.
Полное техническое освидетельствование включает: внешний осмотр, испытание без нагрузки, проверку работы устройств автоматики, блокировки и сигнализации, статическое и динамическое испытания.
При частичном техническом освидетельствовании проводят: внешний осмотр, работу устройств автоматики, блокировки и сигнализации
и динамические испытания.
При внешнем осмотре проверяют состояние АКП в целом, его механизмов, элементов конструкций, электропроводку.
Испытанию без нагрузки трехкратно подвергаются все механизмы. Для этого АКП должен быть установлен на опоры. Испытания проводят
в пределах зоны обслуживания.
Проверка работы устройств автоматики, блокировки и сигнализации проводят по всей границе поля обслуживания. При достижении границы зоны обслуживания должна срабатывать автоматика, и все движения прекращаются.
Проверка блокировки движений стрелы производится при невыставленных опорах. В этом случае невозможно поднять, выдвинуть или повернуть стрелу.
Статические испытания (ограничитель грузоподъемности должен быть отключен) осуществляют в целях проверки грузовой устойчивости и прочности всех элементов АКП. Их проводят в двух положениях (рис. 11.30).
| Рис. 11.30. Схема статических испытаний |
| Положение 2 |
| 1 |
| Положение 1 |
| 73° |
– повернуть стрелу на 90° относительно продольной оси;
– загрузить люльку на 110 % от номинальной грузоподъемности;
– закрепить к центру люльки стальной трос диаметром
8–10 мм, установить стрелу в положение 1 (см. рис. 11.30);
– подвесить груз на 40 % от номинальной грузоподъемности, поднять его на 100–200 мм, выдержать 10 мин и снять.
Установить АКП в положение 2 и произвести описанные действия. Испытания проводят один раз. АКП считается выдержавшим испытания, если не обнаружено опускание груза и повреждений механизмов и металлоконструкций.
Динамические испытания проводят грузом, на 10 % превышающим грузоподъемность люльки. Проводится не менее трех циклов при всех возможных движениях люльки.
Испытания положительны, если не наблюдалось отказов в работе
и не обнаружено повреждений в системах АКП.
Проверка ограничителя грузоподъемности производится грузом, превышающим номинальный на 10 %. Ограничитель должен четко сработать
и надежно отключить систему гидропривода. После его срабатывания невозможно включить движение стрелы. Испытания проводят не менее трех раз.
Проверка времени маневров производится при максимальных скоростях движения полностью нагруженной люльки. Проверяют выдвигание опор, подъем и опускание люльки, ее поворот. Время маневров должно соответствовать нормативным значениям.
О проведении технического освидетельствования производится запись в формуляре.
Контрольные вопросы
1. Классификация и назначение специальных автомобилей.
2. Назначение, устройство и характеристика автомобилей дымоудаления.
3. Аварийно-спасательные автомобили. Назначение.
4. Автомобили связи и освещения. Назначение. Оборудование.
5. Опишите основные параметры технических характеристик АЛ
и АКП. Изобразите их графически.
6. Назначение подъемно-поворотного основания.
7. Опишите схему выдвигания колен АЛ. Возможные схемы.
8. Проанализируйте зону обслуживания АЛ. Укажите возможные ограничения.
9. Обеспечение безопасной работы АЛ на пожарах. Обслуживание АЛ и АКП.
10. Особенности технического освидетельствования и эксплуатационных испытаний АКП.