воздушно-механической пены
Воздушно-механическая пена предназначена для тушения пожаров жидких (класс пожара В) и твердых (класс пожара А) горючих веществ. Пена представляет собой ячеисто-пленочную дисперсную систему, состоящую из массы пузырьков газа или воздуха, разделенных тонкими пленками жидкости.
Получают воздушно-механическую пену механическим перемешиванием пенообразующего раствора с воздухом. Основным огнетушащим свойством пены является ее способность препятствовать поступлению
в зону горения горючих паров и газов, в результате чего горение прекращается. Существенную роль играет также охлаждающее действие огнетушащих пен, которое в значительной степени присуще пенам низкой кратности, содержащим большое количество жидкости.
Важной характеристикой огнетушащей пены является ее кратность – отношение объема пены к объему раствора пенообразователя, содержащегося в пене. Различают пены низкой (до 10), средней (от 10 до 200) и высокой (свыше 200) кратности. Пенные стволы классифицируются в зависимости от кратности получаемой пены (рис. 2.36).

Рис. 2.36. Классификация пенных пожарных стволов
Пенный ствол – устройство для формирования из водного раствора пенообразователя струй воздушно-механической пены различной кратности, устанавливаемое на конце напорной линии.
Для получения пены низкой кратности применяются ручные воздушно-пенные стволы (СВП) и стволы воздушно-пенные с эжектируемым устройством (СВПЭ). Они имеют одинаковое устройство и отличаются только размерами, а также эжектирующим устройством, предназначенным для подсасывания пенообразователя из емкости.
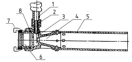
Ствол СВПЭ (рис. 2.37) состоит из корпуса 8, с одной стороны которого навернута цапковая соединительная головка 7 для присоединения ствола
к рукавной напорной линии соответствующего диаметра, а с другой – на винтах присоединена направляющая труба 5, изготовленная из алюминиевого сплава и предназначенная для формирования воздушно-механической пены и направления ее на очаг пожара. В корпусе ствола имеются три камеры: приемная 6, вакуумная 3 и выходная 4. На вакуумной камере расположен ниппель 2 диаметром 16 мм для присоединения шланга 1, имеющего длину 1,5 м, через который всасывается пенообразователь. При рабочем давлении воды 0,6 МПа создается разрежение в камере корпуса ствола
не менее 600 мм рт. ст. (0,08 МПа).

Рис. 2.37. Ствол воздушно-пенный с эжектирующим устройством типа СВПЭ:
1 – шланг; 2 – ниппель; 3 – вакуумная камера; 4 – выходная камера;
5 – направляющая труба; 6 – приемная камера;
7 – соединительная головка; 8 – корпус
Принцип образования пены в стволе СВП (рис. 2.38) заключается
в следующем. Пенообразующий раствор, проходя через отверстие 2 в корпусе ствола 1, создает в конусной камере 3 разрежение, благодаря которому воздух подсасывается через восемь отверстий, равномерно расположенных в направляющей трубе 4 ствола. Поступающий в трубу воздух интенсивно перемешивается с пенообразующим раствором и образует на выходе из ствола струю воздушно-механической пены.

Рис. 2.38. Ствол воздушно-пенный (СВП):
1 – корпус ствола; 2 – отверстие; 3 – конусная камера; 4 – направляющая труба
Принцип образования пены в стволе СВПЭ отличается от СВП тем, что в приемную камеру поступает не пенообразующий раствор, а вода, которая, проходя по центральному отверстию, создает разрежение в вакуумной камере. Через ниппель в вакуумную камеру по шлангу из ранцевого бачка или другой емкости подсасывается пенообразователь. Технические характеристики пожарных стволов для получения пены низкой кратности представлены в табл. 2.24.
Таблица 2.24
| Показатели | Размерность | Тип ствола | |||||
| СВП | СВПЭ-2 | СВПЭ-4 | СВПЭ-8 | ||||
| Производительность по пене | м3/мин | ||||||
| Рабочее давление перед стволом | МПа | 0,4–0,6 | 0,6 | 0,6 | 0,6 | ||
| Расход воды | л/с | – | 4,0 | 7,9 | 16,0 | ||
| Расход 4–6 % раствора пенообразователя | л/с | 5–6 | – | – | – | ||
| Кратность пены на выходе из ствола | – | 7,0 (не менее) | 8,0 (не менее) | ||||
| Дальность подачи пены | м | ||||||
| Соединительная головка | – | ГЦ-70 | ГЦ-50 | ГЦ-70 | ГЦ-80 | ||
Для получения из водного раствора пенообразователя воздушно-механической пены средней кратности и подачи ее в очаг пожара используются генераторы пены средней кратности (ГПС).
В зависимости от производительности по пене выпускаются следующие типоразмеры генераторов: ГПС-200; ГПС-600; ГПС-2000. Их технические характеристики представлены в табл. 2.25.
Таблица 2.25
| Показатели | Размерность | Генератор пены средней кратности | |||
| ГПС-200 | ГПС-600 | ГПС-2000 | |||
| Производительность по пене | л/с | ||||
| Кратность пены | – | 80–100 | |||
| Давление перед распылителем | МПа | 0,4–0,6 | |||
| Расход 4–6 % раствора пенообразователя | л/с | 1,6–2,0 | 5,0–6,0 | 16,0–20,0 | |
| Дальность подачи пены | м | ||||
| Соединительная головка | – | ГМ-5 | ГМ-70 | ГМ-80 | |
Генераторы пены ГПС-200 и ГПС-600 по конструкции идентичны
и отличаются только геометрическими размерами распылителя и корпуса. Генератор представляет собой водоструйный эжекторный аппарат переносного типа и состоит из следующих основных частей (рис. 2.39): насадка 1, пакета сеток 2,корпуса генератора 3 с направляющим устройством, коллектора 4 и распылителя центробежного 5. К коллектору генератора при помощи трех стоек крепится корпус распылителя, в который вмонтированы распылитель 3 и муфтовая головка ГМ-70. Пакет сеток 2 представляет собой кольцо, обтянутое по торцевым плоскостям металлической сеткой (размер ячейки 0,8 мм). Распылитель центробежный 3 имеет шесть окон, расположенных под углом 12°, что вызывает закручивание потока рабочей жидкости и обеспечивает получение на выходе распыленной струи. Насадок 4 предназначен для формирования пенного потока после пакета сеток в компактную струю и увеличения дальности полета пены. Воздушно-механическая пена получается в результате смешения в генераторе в определенной пропорции трех компонентов: воды, пенообразователя и воздуха. Поток раствора пенообразователя под давлением подается в распылитель. В результате эжекции при входе распыленной струи в коллектор происходит подсос воздуха и перемешивание его с раствором. Смесь капель пенообразующего раствора и воздуха попадает на пакет сеток.
| |||||||
| |||||||
| |||||||
| |||||||
|
Рис. 2.39. Генератор пены средней кратности ГПС-600:
1 – насадок; 2 – пакет сеток; 3 – корпус генератора;
4 – коллектор; 5 – распылитель центробежный
На сетках деформированные капли образуют систему растянутых пленок, которые, замыкаясь в ограниченных объемах, составляют сначала элементарную (отдельные пузырьки), а затем массовую пену. Энергией вновь поступающих капель и воздуха масса пены выталкивается из пеногенератора.
Контрольные вопросы
1. Назначение и классификация пожарных рукавов.
2. Особенности конструкции всасывающих и напорно-всасывающих рукавов. Их функции. Область применения.
3. Классификация пожарных рукавов. Особенности их конструкций.
4. Проанализировать потери напора в напорных рукавах. Определение потери напора в рукавных линиях.
5. Классификация гидравлического оборудования. Его назначение. Устройство.
6. Классификация пожарных стволов. Назначение. Особенности подачи огнетушащих веществ.
7. Изложите особенности конструкции стволов РС-70 и КБ-Р.
8. Назначение стволов лафетных комбинированных. Классификация. Дальность подачи водяных и пенных струй.
9. Изложите различие принципов образования пены при подаче воздушно-пенными стволами СВПЭ и СВП.
10. Устройство генераторов пены средней кратности. Основные показатели их технических характеристик.