Технологические требования к деталям, обрабатываемым на фрезерных станках
Технологичные и нетехнологичные конструкции представлены на рис. 10.51.

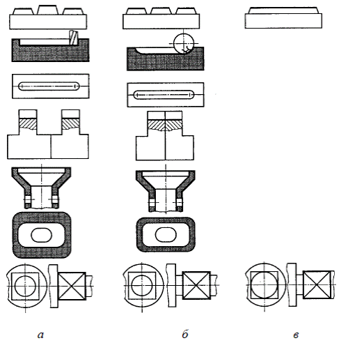
Рис. 10.51. Технологические требования к деталям, обрабатываемым на станках фрезерной группы: а – нетехнологичные конструкции; б – технологичные конструкции; в – наиболее технологичные решения
Фрезеруемые поверхности, лежащие в одной плоскости, должны располагаться на одной высоте, что позволяет обрабатывать их одной фрезой за один проход. При размещении поверхностей на разных уровнях их придется фрезеровать в несколько проходов, опуская или поднимая стол станка. При наличии нескольких рядом расположенных бобышек желательно объединить их в одну плоскость, что позволит уменьшить вибрации в технологической системе СПИД.
Пазы и прорези целесообразно обрабатывать дисковыми фрезами, так как обработка ими производительнее, чем концевыми. Радиус паза необходимо выбирать равным радиусу стандартной фрезы. Для повышения производительности обработки желательно фрезеровать несколько одинаковых заготовок одновременно, поэтому вариант заготовок с односторонним выступом предпочтительнее варианта заготовок с двухсторонними выступами. Разрезные втулки желательно выполнять с плоскостями разъема, не проходящими через центр отверстия. Ширина прорези должна быть равна ширине стандартной фрезы. Необходимо предусматривать равномерную ширину фрезерования по всей длине обрабатываемой поверхности.
Неравномерная ширина повлечет неравномерность сил резания, что скажется на размерной точности обработки и приведет к увеличению волнистости обработанной поверхности. При фрезеровании квадратов необходимо предусматривать канавку на выход фрезы. При отсутствии канавки возможно фрезерование только концевой фрезой, что менее производительно и может привести к поломке фрезы. Диаметр прилегающей шейки вала должен быть меньше стороны квадрата. Наружные торцы корпусных деталей легче фрезеровать, чем внутренние.