Элементы и части токарного прямого проходного резца
Токарный прямой проходной резец (рис. 10.3) состоит из рабочей части (головки) 2 и тела (стержня) 3. Тело резца служит для его установки и закрепления в резцедержателе.
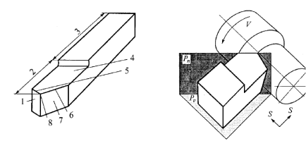
Рабочая часть резца образуется при его заточке и содержит следующие элементы: передняя поверхность 4 (поверхность, по которой сходит стружка); главная задняя поверхность 7 (она наиболее развита и направлена по движению подачи); вспомогательная задняя поверхность 1 (направлена против движения подачи). Пересечение передней и главной задней поверхностей дает главную режущую кромку 6, пересечение передней и вспомогательной задней поверхностей дает вспомогательную режущую кромку 5. Режущие кромки пересекаются в вершине резца 8. Расположение поверхностей и кромок резца определяется его заточкой (геометрия инструмента).
Для определения углов, под которыми располагаются элементы инструмента, вводят координатные плоскости. Рассматривают три системы координат: инструментальную, статическую и динамическую. В инструментальной системе координат инструмент рассматривается как геометрическое тело.



В статической системе координат скорость главного движения отлична от нуля, а скорость движения подачи равна нулю. В динамической системе координат скорости главного движения и движения подачи отличны от нуля.
На рис. 10.4 показаны координатные плоскости токарного проходного резца в статической системе координат. Основная плоскость Pv параллельна всем возможным направлениям движения подачи для данного способа обработки. Плоскость резания Рn проходит через главную режущую кромку касательно поверхности резания. Главная секущая плоскость Рτ проходит через главную режущую кромку перпендикулярно поверхности резания (на рис. 10.4 не показана).