ЛАБОРАТОРНА РОБОТА №6
Тема:Розрахунок об’єму кар’єрного поля.
Мета: З’ясувати принцип розрахунку об’єму кар’єрного поля за формулою В.В. Ржевського.
Теоретичні відомості
Об’єм кар’єрного поля (об’єм гірничої маси в контурах кар’єра), який характеризує масштаб гірничих робіт, визначають по формулі акад. В.В. Ржевського:
,
де Sд – площа підошви кар’єра; Нк – глибина кар’єра;
та
– відповідно довжина по підошві та кут відкосу n-ї ділянки борту кар’єра;
– середній кут відкосу неробочих бортів кар’єра:
.
Якщо кути відкосів всіх бортів однакові, або незначно відрізняються один від одного, формула Ржевського набуває вигляду:
,
де Рд – периметр дна кар’єру.
Умови завдання:
Визначити об’єм кар’єрного поля прямокутної форми, розташованого у рівнинній місцевості, яке має наступні параметри: довжина дна кар’єру lд, ширина дна кар’єру bд, кінцева глибина кар’єру Нк, усереднений кут відкосу неробочих бортів кар’єру βср. Об’єм кар’єру наближено розрахувати за формулою В.В. Ржевського, також навести виведення формули з поясненнями. Окремо, на аркуші формату А4 виконати пояснювальну схему, де показати з яких простих об’ємних фігур складається кар’єрне поле для заданих умов.
| варіант | lд, км | bд, км | Нк,м | βср ,о | варіант | lд, км | bд, км | Нк,м | βср ,о |
| 1,5 | 0,6 | 3,25 | 0,9 | ||||||
| 0,95 | 0,3 | 1,6 | 0,5 | ||||||
| 1,0 | 0,1 | 1,15 | 0,35 | ||||||
| 3,15 | 0,25 | 0,9 | 0,4 | ||||||
| 2,0 | 0,35 | 0,8 | 0,25 | ||||||
| 2,65 | 0,9 | 2,45 | 0,35 | ||||||
| 2,7 | 0,5 | 2,9 | 0,9 | ||||||
| 1,95 | 0,35 | 4,0 | 0,5 | ||||||
| 0,8 | 0,6 | 2,2 | 0,35 | ||||||
| 1,7 | 0,3 | 2,75 | 0,6 | ||||||
| 1,55 | 0,1 | 1,65 | 0,3 | ||||||
| 2,35 | 0,25 | 2,45 | 0,4 | ||||||
| 2,9 | 0,35 |
Приклад розв’язання:
Дано: lд = 2,0 км; bд, = 0,25 км; Нк = 315 м; βср = 40о.
1) Виведення формули В.В. Ржевського.
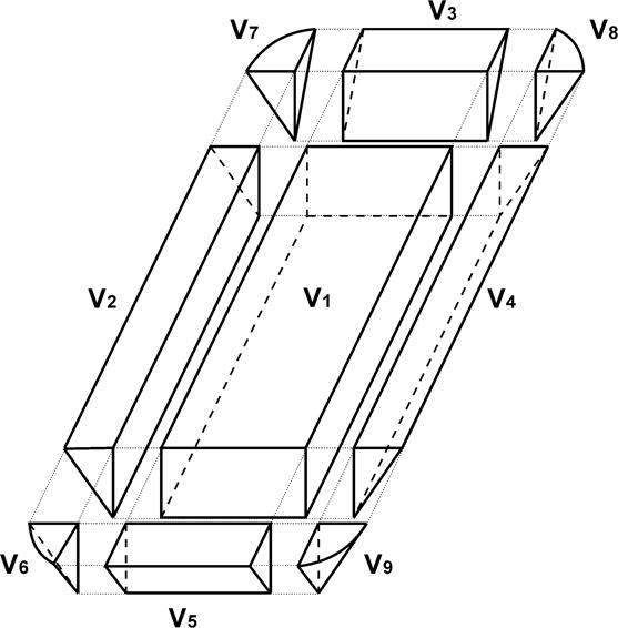
Об’єм кар’єру прямокутної форми за умовами задачі наближено можна розрахувати, як сукупність об’ємів простих геометричних фігур (див. схему):

, м3,
де
– об’єм прямокутної призми;
– сумарний об’єм подібних фігур (призм з основою у вигляді прямокутного трикутника однакової площини), а оскільки
периметр дна кар’єру, то ця складова формули набуває вигляду: 
– чверті конусу, які у сумі утворюють один цілий конус (замкнений верхній контур кар’єру), для якого
, тоді
.
Таким чином,
.
2) Визначаємо загальний об’єм гірничої маси в кар’єрі за формулою В.В. Ржевського:
.