Выбор системы отопления и определение поверхности нагревательных приборов
Системы отопления следует проектировать, обеспечивая равномерное нагревание воздуха помещений, гидравлическую и тепловую устойчивость, доступность для очистки и ремонта.
Проектируют, как правило, однотрубные из унифицированных узлов и деталей системы водяного отопления, допускается применение и двухтрубных систем; с искусственным побуждением циркуляции, принимая максимально допустимые скорости движения годы не более 1,5 м/с для воздушных систем; в системах парового отопления низкого давления (до 70 КПА на вводе) при попутном движении пара и конденсата - 30 м/с и при встречном – 20 м/с.
В помещениях с повышенными гигиеническими требованиями следует принимать радиаторы секционные или панельные спаренные и одинарные; отопительные приборы из гладких стальных труб. Вид системы отопления и тип отопительных приборов следует принимать по обязательному приложению 10 ГОСТ 21.602-79* СПДС. «Отопление, вентиляция и кондиционирование воздуха. Рабочие чертежи».
Тепловой поток от отопительного прибора не следует принимать меньше, чем на 5% или на 60 Вт от требуемого по расчету теплового потока.
Отопительные приборы следует размещать под световыми проемами в местах, доступных дач осмотра, ремонта, очистки.
Если принята однотрубная система отопления, то сначала вычеркивается аксонометрическая схема системы и производится гидравлический расчет, а затем расчет приборов.
Встроенные нагревательные элементы и стояки не допускается размещать в наружных и внутренних стенах и перегородках.
Соединение приборов "на сцепке" допускается предусматривать в пределах одного помещения, при этом допускается и присоединение "на сцепке" к приборам соседних помещений для гардеробных, коридоров, санузлов.
Разностороннее присоединение трубопроводов следует предусматривать к радиаторам с числом секций более 20.
Декоративные экраны допускается предусматривать у нагревательных приборов в общественных зданиях. Не следует применять решетки, увеличивающие номинальный тепловой поток отопительного прибора более чем на 10% номинального теплового потока открыто установленного отопительного прибора.
Регулирующую арматуру, при размещении в одном помещении нескольких отопительных приборов, следует устанавливать только для части приборов так, чтобы тепловой поток регулируемой части приборов составлял не менее 50% общего теплового потока приборов, причем на лестничных клетках стояк проточный и арматура не ставится. Запорную арматуру следует предусматривать;
- для отключения и спуска воды от отдельных колец, ветвей и стояков систем отопления;
- для отключения части иливсех отопительных приборов в помещениях, в которых отопление используется периодически.
Запорную арматуру допускается не устанавливать на стояках в зданиях с числом этажей трии менее.
Определение расчетной площади нагревательной поверхности отопительных приборов производится в следующем порядке:
Разбиваем систему отопления на расчетные участки, рисунок 9.

Рисунок 9. Схема расчетных участков
Ø Определяем расход воды в стояке
;
где Qот – мощность отопительной установки (таблица 2), Вт;
Свд - удельная теплоемкость воды, Свд=4,187, кДж/кг0С;
tгор и tхол – температуры подачи, и обратки, 0С, определяются из внутреннего температурного графика, 95/70.
Ø Определяем суммарную теплоотдачу, открыто положенных теплопроводов (стояков, ветвей, подводок) в пределах помещения:
,
где qв и qг – теплоотдача 1 м вертикально и горизонтально проложенных труб, Вт/м, исходя из их диаметра и разности температур (tг – tв);
lв и lг – длина вертикальных и горизонтальных теплопроводов в пределах помещения, м.
Ø Определяем расчетную плотность теплового потока:

где qном – номинальная плотность теплового потока отопительного прибора при стандартных условиях работы, Вт/м2, (см. прил.);
Dtср – температурный напор, определяется по формуле

где tвход и tвыход– температуры на входе и выходе из прибора, 0С.
tрв – температура воздуха внутри помещения, 0С.
n, p – экспериментальные значения показателей степени, (см. прил.);
спр – коэффициент, учитывающий схему присоединения отопительного прибора и изменения показателя степени р в различных диапазонах расхода теплоносителя, (см. прил.).
Ø Требуемая теплопередача приборов в рассматриваемом помещении:
Qприб = Qпотр – 0,9 · Qтруб , Вт,
где Qпотр – теплопотребность помещения, равная его теплопотерям за вычетом теплопоступлений, Вт.
0,9 – коэффициент, учитывающий долю теплового потока от теплопроводов, полезную для поддержания температуры воздуха в помещении.
Ø Расчетная площадь отопительного прибора, м2:
,
где b1 – коэффициент учета дополнительного теплового потока устанавливаемых отопительных приборов за счет округления сверх расчетной величины, (см. прил.);
b2 – коэффициент учета дополнительных потерь теплоты отопительными приборами у наружных ограждений, (см. прил.).
Ø Определяем количество секций:
,
где ¦1с – площадь поверхности нагрева одной секции, (см. прил.);
b3 – коэффициент, учитывающий число секций в одном радиаторе и принимаемый для радиаторов типа МС-140 равным: при числе секций от 3 до 15 – 1, от 16 до 20 – 0,98, установка более 20 секций не целесообразна, а для остальных чугунных радиаторов вычисляется по формуле:
b3 = 0,92 + 0,16/Fр.
Для всех остальных отопительных приборов b3 = 1.
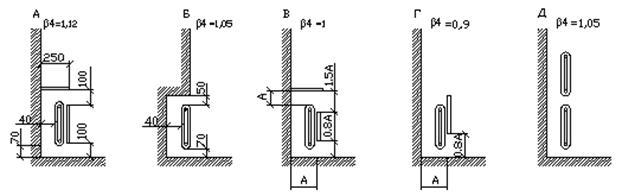
b4 – коэффициент, учитывающий способ установки радиатора в помещении (см. рисунок 10.);

Рисунок 10. Различные способы (а-д) установки отопительных приборов
Поскольку расчетное число секций редко получается целым, то его приходится округлять для получения числа секций Nуст, принимаемых к установке. При этом допускается уменьшение теплового потока не более чем на 5%. Как правило, к установке принимают ближайшее число секций радиатора.
Ø Особенности расчета нагревательных приборов однотрубных систем:
В данных системах при определении поверхности нагревательных приборов по приведенной выше формуле приходится предварительно находить для каждого прибора по этажам среднюю температуру воды в зависимости от температурного перепада в приборе и температуры воды при входе в прибор.
Исходя из разности средней температуры воды в приборе tср и температуры окружающего воздуха, расхода воды в приборе Gпр (кг/ч) и числовых показателей n и Р 7. ( см. Справочник по теплоснабжению и вентиляции. Часть I. Под редакцией Шохина Р.В.- Киев: Будивельник, 1976., табл. 12.8), - номинальная поверхность плотности теплового потока (Вт/м2) имеет различное значение.
В стандартных условиях при движении воды сверху – вниз составляет для приборов:
Радиаторов типа РСВ-1, РСГ-2, МС-140 730 (630)
Радиаторов типа РСГ-1 720 (620)
Радиаторов типа М-90, РД-90 700 (600)
Радиаторов М-140 650 (560)
Радиаторов типа М-140 АО 595 (512)
Конвекторов типа «Комфорт-20» 462 (397)
Конвекторов «Аккорд» 345 (297)
Чугунных ребристых труб 388 (334)
Конвекторов типа «Универсал – 20» 357 (307)
Конвекторов типа «Прогресс – 15» 290 (250)
Конвекторов типа «Прогресс-20» 280 (240)
Плотность теплового потока qПР уменьшается при нестандартных условиях работы приборов.
Понижающий коэффициент составляет:
- для радиаторов чугунных из РСВ при движении воды «снизу-вверх» в двухтрубных системах – 0,89 в однотрубных – 0,98; при движении воды «снизу-вверх» в двухтрубных системах – 0,79, в однотрубных - 0,86;
- для двухходовых радиаторов РСГ-2 при движении воды «снизу-вверх» - 0,95;
- для конвекторов, устанавливаемых в два яруса (один над другим), типа «Аккорд» - 0,93, «Прогресс-15» - 0,89, «Прогресс-20» - 0,87;
- для ребристых труб, устанавливаемых в два яруса - 0,90; в три яруса – 0,82.
Все расчетные данные сводятся в таблицу 3 расчета поверхности отопительных приборов.
Таблица 3