УСТАНОВКА ДЛЯ ЗАМЕРА ДЕБИТА СКВАЖИН
В процессе разработки месторождения работа нефтяных скважин характеризуется их дебитами по нефти, газу и воде.
Измерение количества нефти, газа и воды по каждой скважине имеет важное значение как для техники и технологии сбора и подготовки нефти, так и для анализа контроля и регулирования процесса разработки месторождения.
Продукцию скважин можно измерять по-разному. Наиболее простыми и вместе с тем точными способами измерения расхода нефти и воды являются объемный и массовый.
Объемный способ дает удовлетворительные результаты, когда измеряют дебит однофазной жидкости (нефть, вода, газ), массовый же способ используется при измерении дебита нефтегазовых смесей, поскольку газ ввиду малой массы почти не влияет на точность измерения.
При самотечной системе сбора нефти продукцию скважин измеряли объемным способом операторы, обслуживающие это оборудование.
Количество нефти и воды, поступающих из скважины в индивидуальную сепарационно-замерную установку, измерялось или в замерном трапе, или в открытом мернике. Продукцию скважины в мернике замеряли рейкой с делениями или при помощи уровнемерных стекол, установленных на мерниках.
Для определения дебитов скважин по изменению уровней нефти и воды в мернике необходимо знать так называемую цену деления мерника, которая определяется по формуле
|
Зная обводненность нефти, определяют дебит скважины по нефти и по воде.
С внедрением герметизированной системы сбора продукции скважины описанный способ измерения дебита стал невозможен. Для замера дебита нефтяных скважин при герметизированных схемах сбора нефти и газа внедрено множество различных замерных установок, у которых имеется один общий признак-они рассчитаны на подключение группы нефтяных скважин, поэтому эти установки получили название групповых замерных установок.
В качестве примера групповых замерных установок рассмотрим принцип работы установки типа АГМ-3, которая применяется в составе системы сбора нефти и газа Бароняна — Везирова. Она позволяет осуществлять автоматическое программное подключение скважин к замерному сепаратору и раздельно измерять дебит скважины по нефти и воде. Результаты измерения дебитов передаются на диспетчерский пункт. Предусмотрены телесигнализация на диспетчерский пункт и телеуправление с диспетчерского пункта.
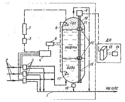
Основными элементами установки АГМ-3 (рис 10) являются пневматические трехходовые клапаны 3, осуществляющие подключение скважин к измерительному сепаратору 10 (их число соответствует числу скважин, подключаемых к данной групповой установке); сепаратор 10 для измерения продукции скважины раздельно по нефти и воде, пневматический распределительный блок электропитания 6, датчики нижнего 17 и верхнего аварийного 8 уровней жидкости в сепараторе, клапан с мембранным приводом для слива жидкости из сепаратора На диспетчерском пункте (ДП) установки монтируются пульт управления 13 и регистратор дебита 14.
Принцип действия установки заключается в следующем Продукция от скважин по выкидным линиям 2 подходит к групповой установке и попадает в общий коллектор 1. По команде с диспетчерского пункта или с помощью программного устройства один из распределительных клапанов 3 отключает соответствующую скважину от общего коллектора и направляет ее продукцию к измерительному сепаратору 10. После окончания измерения жидкость из сепаратора через клапан 16 сливается в общий коллектор. Время подключения скважины к сепаратору, время измерения, опорожнения сепаратора и последовательность измерения устанавливаются с помощью программного

Рис. 10. Принципиальная схема автоматизированной групповой замерной установки АГМ-3
устройства. Газ для пневматического распределителя 4 отбирается из сепаратора, проходит фильтр 7 и регулятор давления 5.
По прошествии заданного программным устройством времени с помощью перечисленных устройств происходит отключение скважины от измерительного сепаратора и перевод потока жидкости в общий коллектор. При этом автоматически включается телевизионное устройство 9ис помощью датчиков уровня начинается процесс измерения уровней нефти и воды в сепараторе.
В сепараторе вмонтирована труба // из немагнитного материала, в которую на тросике 15 опускается индикатор датчика уровня. Вдоль трубы, прослеживая уровни нефти и воды, перемещаются два поплавка 12 с встроенными в них постоянными магнитами. Масса поплавков подобрана таким образом, что один из них (нижний) всегда плавает на разделе нефть-вода, а другой (верхний)-на поверхности нефти. Номера скважины фиксируются на диспетчерском пункте в регистрирующем устройстве.
После окончания измерения уровней и слива жидкости из сепаратора к нему подключается следующая скважина и т. д.
Для условий эксплуатации высокодебитных месторождений объединением «Грознефть» была разработана автоматизированная групповая замерная установка АГЗУ-2000-64, рассчитанная на подключение пяти скважин с дебитами от 160 до 2000 т/сут и на работу при давлении 6,4 МПа.
АВТОМАТИЗИРОВАННЫЕ ЗАМЕРНЫЕ ГРУППОВЫЕ УСТАНОВКИ ТИПА «СПУТНИК»
При проектировании обустройства нефтяных месторождение необходимо учитывать их специфические условия, что, однако,, приводит к большому разнообразию и разнотипности как схем сбора нефти и газа, так и элементов этих схем. Это затрудняет заводское изготовление оборудования с максимальным исключением монтажных работ на нефтяном месторождении. В связи с этим было принято решение об упорядочении схем сбора нефти и газа с максимальным применением блочного оборудования заводского изготовления.
Недостатки ранее разработанных установок были устранены в блочных автоматизированных замерных установках типа «Спутник». В настоящее время имеются следующие типы установок: «Спутник-А», «Спутник-Б», «Спутник-В». В разработке находятся другие модификации, при этом «Спутник-А» является базовой конструкцией этой серии блочных автоматизированных замерных установок.
Блочная автоматизированная замерная установка типа «Спутник-А» предназначена для автоматического измерения дебита скважин при однотрубной системе сбора нефти и газа и для контроля за их работой.
Установки «Спутник-А» рассчитаны на рабочее давление 1,6,. 2,5 и 4 МПа, на дебиты скважин до 400 и до 1500 м3/сут, число подключаемых к установке скважин от 10 до 24,на общую пропускную способность до 4000 и до 10000 м3/сут Существуют три модификации этих установок: «Спутник-А-16-14/400», «Спутник-А-25-10/1500», «Спутник-А-40-14/400». В указанном шифре первая цифра обозначает рабочее давление, на которое рассчитана установка, вторая - число подключенных к установке скважин, третья — наибольший измеряемый дебит (в м3/сут) Конструктивное исполнение этих установок в виде закрытых блоков с обогревом позволяет эксплуатировать их в районах с суровыми климатическими условиями (они рассчитаны на работу при температуре окружающей среды от —55 до 50 °С).
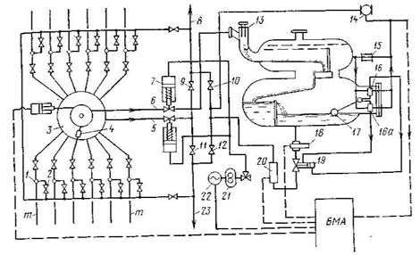
Установка типа «Спутник» состоит из двух блоков: замерно-переключающего и блока КИП и А. Оба блока монтируются на специальных рамных основаниях для возможности транспортирования железнодорожным, автомобильным и водным транспортом. Замерно-переключающий блок установки «Спутник-А» состоит из переключателя скважин многоходового ПСМ, гидравлического привода ГП, отсекателя коллекторов ОКГ или КПР замерного гидроциклонного сепаратора с механическим регулятором уровня, турбинного счетчика ТОР, вентилятора,
|
Рис. 11.Технологическая схема установки«Спутник»:
1 — обратные клапаны; 2 — задвижка; 3 — переключатель скважин многоходовой (ПСМ); 4 — роторный переключатель скважин; 5 — общая линия; 6— замерная линия; 7 — отсекатели потока; 8—коллектор обводненной нефти; 9, 12 — задвижки закрытые; 10, 11 — задвижки открытые; 13 — гидроциклонный сепаратор; 14 — расходомер газа; 15 — регулятор перепада давления; 16, 16 а — золотники; 17 — датчик уровнемера поплавкового типа; 18 — расходомер жидкости ТОР-1; 19 — поршневой клапан; 20 — влагомер; 21 — гидропривод; 22 — электродвигатель; 23 — сборный коллектор; т — выкидные линии от скважин; БМА — блок местной автоматики
Рис. 12. Объемный расходомер типа ТОР:
1 — патрубок корпуса; 2 — обтекатель; 3— магнитоиндукционный датчик; 4 — отражатель; 5 — понижающий редуктор; 6 — станина; 7 — муфта съема показаний; 8 — механический счетчик; 9 — диск; 10 — магнитная муфта; 11 — лопатка крыльчатки; 12 — крышка; 13 — регистратор
соединительных трубопроводов и запорной арматуры. В щитовом помещении блока КИП и А размещаются блок местной автоматики БМА-30, состоящий из блока управления и силового блока, блок питания счетчика ТОР, два электрических нагревателя.
Принцип действия. Жидкость любой скважины, поставленной на замер, направляется в многоходовой переключатель скважин (ПСМ) 4, а затем — в гидроциклонный сепаратор 13 (рис. 11). На выходе газа из сепаратора установлен регулятор перепада давления 15, поддерживающий постоянный перепад между сепаратором и расходомером газа 14. Постоянный перепад давления передается золотниковыми механизмами 16 и 16а на поршневой клапан 19.
Количество жидкости по каждой скважине измеряется следующим образом. Когда датчик поплавкового уровнемера 17 находится в крайнем нижнем положении, верхняя вилка поплавкового механизма нажимает на верхний выступ золотника 16, в результате чего повышенное давление от регулятора 15 передается на правую часть поршневого клапана 19 и прикрывает его, подача жидкости прекращается и турбинный расходомер 18 перестает работать. С этого момента уровень жидкости в сепараторе повышается. Как только он достигнет крайнего верхнего положения и нижняя вилка поплавкового механизма нажмет на выступ золотника 16а, повышенное давление от регулятора 15 действует на левую часть поршневого клапана 19 и открывает его. Начинается течение жидкости в системе, и турбинный расходомер отсчитывает количество прошедшей через него жидкости. Для определения обводненности нефти на «Спутнике» установлен влагомер 20, через который пропускается вся продукция скважины.
Турбинные расходомеры типа ТОР, устанавливаемые на «Спутниках» предназначаются для измерения жидкости вязкостью не более 80-10-5
вают как местный отсчет показаний, так и передачу показаний при помощи электромагнитного датчика на БМА. Расходомер (рис. 12) работает по принципу турбинного преобразователя. Число оборотов крыльчатки прямо пропорционально количеству прошедшей жидкости. Вращательное движение крыльчатки передается через понижающий редуктор на механический счетчик со стрелочной шкалой (цена деления 0,005 м3).О дновременно выдается электрический сигнал, который регистрируется в блоке регистрации.
Диапазон измерения колеблется от 3 до 30 м^.4' аспортная погрешность измерения при расходе от 3 до 5 м3/ч Равна - %, от 5 до 30 м3/ч—+2,5%.
Расход чистой нефти, прошедшей через ТОР, определяется автоматически как разность между показаниями ТОР и датчика влагомера.
Из других модификаций автоматизированных блочных замерных установок на нефтяных месторождениях применяются «Спутник-Б», «Спутник-ВР» и «Спутник» с массовыми вибрационными расходомерами.
На установках «Спутник-Б» принцип измерения продукции скважин тот же, что на установках «Спутник-А», в то время как
на установке «Спутник-В» и более совершенной его модификации «Спутник-ВР» используется массовый принцип измерения и в качестве переключающих устройств вместо ПСМ применяются трехходовые клапаны. В «Спутнике» с массовыми вибрационными расходомерами, в отличие от остальных автоматизированных блочных замерных установок, отсутствуют сепа-рационный узел и переключающее устройство и для измерения продукции каждой скважины используется принцип затухания свободных колебаний защемленной трубки, по которой протекает нефтегазовая смесь.
Установки «Спутник-Б» выпускаются в двух модификациях: «Спутник-Б-40-14/400» и «Спутник-Б-40-24/400». Первая модификация рассчитана на подключение 14 скважин, вторая — 24.
В отличие от «Спутника-А» в «Спутнике-Б» предусмотрены: возможность раздельного сбора обводненной и необводненнои продукции скважин, определение содержания воды в ней, измерение количества газа, отсепарированного в измерительном сепараторе, а также дозирование химических реагентов в поток нефти и прием резиновых шаров, запускаемых на скважинах для депарафинизации выкидных линий.
Для определения содержания воды на установках «Спутник-Б» используется комплекс приборов, состоящий из влагомера, расходомера типа ТОР и вторичной электронной аппаратуры. Для измерения количества газа в измерительном сепараторе применяется расходомер типа «Агат», который одновременно с измерением расхода, давления и температуры осуществляет также приведение измеряемого объема газа к объему при нормальных условиях.
Подача химического реагента на установках типа «Спутник-Б» непосредственно в нефтегазосборный коллектор способствует предотвращению образования стойких нефтяных эмульсий и соответственно снижает гидравлические сопротивления и улучшает условия работы установок подготовки нефти.
На установках типа «Спутник-В» и «Спутник-ВР» дебит скважины измеряется в вертикальном сепараторе по показаниям нижнего и верхнего датчиков уровня и датчика веса вибрацион-но-частотного типа. При этом регистрируется время заполнения измерительного сепаратора. По истечении одного цикла заполнения взвешенная порция жидкости выдавливается в общий коллектор, и цикл измерения повторяется. Данные по измерению дебита жидкости передаются в пересчетное устройство, и окончательные результаты измерений в единицах массы поступают в накопительное устройство телемеханики.
Установки «Спутник-В» и «Спутник-ВР» имеют ряд преимуществ по сравнению с установками «Спутник-А» и «Спутник-Б». Использование трехходовых переключающих клапанов вместо многоходовых позволяет легко разделять продукцию безводных и обводненных скважин. Измерение дебита в единицах массы точнее, к тому ннои продукции скважин, определение содержания воды в ней, измерение количества газа, отсепарированного в измерительном сепараторе, а также дозирование химических реагентов в поток нефти и прием резиновых шаров, запускаемых на скважинах для депарафинизации выкидных линий.
Для определения содержания воды на установках «Спутник-Б» используется комплекс приборов, состоящий из влагомера, расходомера типа ТОР и вторичной электронной аппаратуры. Для измерения количества газа в измерительном сепараторе применяется расходомер типа «Агат», который одновременно с измерением расхода, давления и температуры осуществляет также приведение измеряемого объема газа к объему при нормальных условиях.
Подача химического реагента на установках типа «Спутник-Б» непосредственно в нефтегазосборный коллектор способствует предотвращению образования стойких нефтяных эмульсий и соответственно снижает гидравлические сопротивления и улучшает условия работы установок подготовки нефти.
На установках типа «Спутник-В» и «Спутник-ВР» дебит скважины измеряется в вертикальном сепараторе по показаниям нижнего и верхнего датчиков уровня и датчика веса вибрацион-но-частотного типа. При этом регистрируется время заполнения измерительного сепаратора. По истечении одного цикла заполнения взвешенная порция жидкости выдавливается в общий коллектор, и цикл измерения повторяется. Данные по измерению дебита жидкости передаются в пересчетное устройство, и окончательные результаты измерений в единицах массы поступают в накопительное устройство телемеханики.
Установки «Спутник-В» и «Спутник-ВР» имеют ряд преимуществ по сравнению с установками «Спутник-А» и «Спутник-Б». Использование трехходовых переключающих клапанов вместо многоходовых позволяет легко разделять продукцию безводных и обводненных скважин. Измерение дебита в единицах массы точнее, к тому же не требуется пересчета объемных величин s массовые.
Принцип измерения продукции скважин, принятый на установке «Спутник» с массовыми вибрационными расходомерами, позволяет отказаться на автоматизированных блочных замерных установках от монтажа громоздкого сепарационного узла и переключающего устройства со сложной обвязкой, что значительно упрощает компоновку установки и повышает ее надежность. Измерительное устройство на установке «Спутник» с массовыми вибрационными расходомерами работает следующим образом. На каждой выкидной линии от скважины располагается измерительная трубка с грузиком на конце. Один конец этой трубки защемлен, в нижней части трубки против грузика устанавливаются индуктивный датчик и электромагнит. При прохождении нефтегазовой смеси через трубку электромагнит сообщает концу ее с грузиком импульс возбуждения, в результате которого трубка совершает свободные затухающие колебания. Измерение расхода нефтегазовой смеси сводится к определению коэффициента затухания свободных колебаний трубки, пропорциональному массовому расходу протекающей по ней нефтегазовой смеси.