РАЗЪЕДИНИТЕЛИ, КОРОТКОЗАМЫКАТЕЛИ, ОТДЕЛИТЕЛИ
ОСНОВНЫЕ ПОНЯТИЯ
Разъединители – аппараты, предназначенные для включения и отключения участков электрической сети или электрических установок, не находящихся под нагрузкой.
С помощью разъединителей можно отключать и включать: намагничивающий ток силовых трансформаторов – не более 3,5 А при напряжении 6 кВ и 3 А при 10 кВ; зарядный ток шин, оборудования, воздушных и кабельных линий; ток замыкания на землю – не более 4 А при напряжении 6 кВ и 3 А при 10 кВ. При изолирующих перегородках между полюсами разъединителей токи включения и отключения могут быть в 1,5 раза больше.
При ремонтных работах разъединителем создается видимый разрыв между частями, оставшимися под напряжением, и аппаратами, выведенными в ремонт.
Значение отключаемого разъединителем тока зависит от его конструкции (вертикальное, горизонтальное расположение ножей), от расстояния между полюсами, от номинального напряжения установки, поэтому допустимость такой операции устанавливается инструкциями и директивными указаниями. Порядок операций при отключении намагничивающего тока трансформатора также играет важную роль. Например, трансформаторы, имеющие устройство регулирования под нагрузкой (РПН), необходимо перевести в режим недовозбуждения, так как ток намагничивания резко уменьшается при уменьшении индукции в магнитопроводе, которая зависит от подведенного напряжения. Кроме того, при отключении ненагруженного трансформатора необходимо предварительно эффективно заземлить нейтраль, если в нормальном режиме трансформатор работал с разземленной нейтралью. Если к нейтрали трансформатора был подключен заземляющий реактор, то предварительно его следует отключить.
Если в цепи имеются разъединитель и отделитель, то отключение и включение намагничивающего тока и зарядных токов следует выполнять отделителями, имеющими пружинный привод, который позволяет быстро произвести эту операцию.
Разъединители играют важную роль в схемах электроустановок, от надежности их работы зависит надежность работы всей электроустановки, поэтому к ним предъявляются следующие требования:
- создание видимого разрыва в воздухе, электрическая прочность которого соответствует максимальному импульсному напряжению;
- электродинамическая и термическая стойкость при протекании токов короткого замыкания;
- исключение самопроизвольных отключений;
- четкое включение и отключение при наихудших условиях работы (обледенение, снег, ветер).
Разъединители по числу полюсов могут быть одно- и трехполюсными, по роду установки − для внутренних и наружных установок, по конструкции − рубящего, поворотного, катящегося, пантографического и подвесного типа. По способу установки различают разъединители с вертикальным и горизонтальным расположением ножей.
Короткозамыкатель – коммутационный аппарат, предназначенный для создания искусственного КЗ в электрической цепи. Короткозамыкатели применяются в упрощенных схемах подстанций для того, чтобы обеспечить отключение поврежденного трансформатора после создания искусственного КЗ действием релейной защиты питающей линии.
В установках 35 кВ применяют два полюса короткозамыкателя, при срабатывании которых создается искусственное двухфазное КЗ. В установках с заземленной нейтралью (110 кВ и выше) применяется один полюс короткозамыкателя.
Отделитель внешне не отличается от разъединителя, но у него для отключения имеется пружинный привод. Включение отделителя производится вручную. Отделители, так же как разъединители, могут иметь заземляющие ножи с одной или двух сторон. Недостатком существующих конструкций является довольно большое время отключения (0,4–0,5 с.).
Отделители могут отключать обесточенную цепь или ток намагничивания трансформатора.
Отделители и короткозамыкатели открытой конструкции недостаточно надежно работают в неблагоприятных погодных условиях (мороз, гололед). В эксплуатации наблюдаются случаи их отказа в работе. Взамен этих конструкций разработаны отделители и короткозамыкатели с контактной системой, расположенной в закрытой камере, заполненной элегазом.
КОНСТРУКЦИЯ РАЗЪЕДИНИТЕЛЕЙ
Для внутренних установок разъединители могут быть однополюсными (РВО) или трехполюсными (РВ, РВЗ, РВФЗ, РВК и РВРЗ). Трехполюсные разъединители могут выполняться на общей раме или на отдельных рамах для каждого полюса. Отдельные полюсы объединяются общим валом, связанным с приводом разъединителя.
На токи до 1000 А нож разъединителя изготовляется из двух медных полос, на большие токи применяются ножи из трех-четырех полос. Так же как в шинных конструкциях, наилучшее использование материала при больших токах достигается, если неподвижные контакты будут коробчатого сечения, а ножи разъединителя − корытообразной формы.
В разъединителях рубящего типа нож вращается вокруг одного из неподвижных контактов, движение ножу передается от вала через фарфоровые тяги. Необходимое давление в контактах создается пружинами.
Рассмотрим устройство контактной системы разъединителей рубящего типа, представленное на рис. 4.1.
На изоляторе 1 укреплена медная шина, изогнутая под прямым углом, которая является неподвижным контактом 2. Боковые части контакта 2 обработаны под цилиндрическую поверхность, поэтому с пластинами ножа 6 образуется линейный контакт. Пружины 4, насаженные на стержень 5, нажимают на стальные пластины 3, которые своим выступом прижимают ножи к неподвижному контакту. Чем больше давление в контакте, тем меньше переходное сопротивление, но больше износ контактов за счет трения при включениях и отключениях и тем большее усилие надо приложить при операциях с разъединителем.
При прохождении токов короткого замыкания создаются электродинамические усилия в местах перехода тока с пластин ножа в контакт, стремящиеся оттолкнуть ножи от контакта. С другой стороны, пластины ножа притягиваются друг к другу благодаря взаимодействию токов одного направления. При больших токах короткого замыкания силы отталкивания могут оказаться больше, чем силы притяжения пластин ножа, это приведет к отбросу пластин ножа от контакта, возникновению дуги, т. е. к аварии. Чтобы избежать этого, в разъединителях предусматривается устройство «магнитного замка». Он состоит из двух стальных пластин 3, расположенных снаружи ножа, которые, во-первых, служат для передачи давления от пружин, а во-вторых, намагничиваясь токами короткого замыкания, притягиваются друг к другу и создают дополнительное давление в контакте.

Рис. 4.1. Контактная система разъединителей рубящего типа:
1 – изолятор; 2 – неподвижный контакт; 3 – стальные пластины; 4 – пружины;
5 – стержень; 6 – нож; 7 – ось
Контактная система разъединителя на втором изоляторе имеет такую же конструкцию, но контакты будут скользящими, шарнирными, а не размыкающимися, так как нож вращается вокруг оси 7.
Трехполюсные разъединители снабжены механизмами включения и отключения токоведущих ножей и ножей заземления. Подвижные контакты соединяются с рычагами отключающих механизмов тягами из фарфора или другого изоляционного материала. Ограничение хода ножей и невозможность самопроизвольного отключения обеспечивает механизм привода, а плотность неподвижных и подвижных контактов разъединителей − пружинящие устройства.
В конструкции разъединителей не предусмотрена фиксация ножей в отключенном положении. Во избежание самопроизвольного включения разъединители нельзя устанавливать на горизонтальных плоскостях с расположением их ножей над плоскостью. Рама разъединителей имеет болт заземления, который позволяет соединять ее с ответвлением от контура заземления.
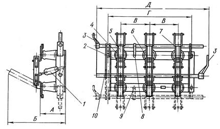
На рис. 4.2 представлен трехполюсный разъединитель РВ-6-10 для внутренней установки.
Медные или стальные заземляющие ножи 6 разъединителя РВЗ, представленного на рис. 4.3, приварены к стальному валу 7, который вращается в отверстиях пластин, прикрепленных к раме 2. Вал гибкой медной связью 8 соединяется с рамой 2 трехполюсного разъединителя. Между валом разъединяющих и валом заземляющих ножей имеется блокировочная тяга 10, исключающая включение разъединителей при включенных ножах заземления и включение заземляющих ножей при включенных разъединителях.
Контактная система полюса вертикально-рубящего типа. Для повышения динамической стойкости каждый контактный нож 1 оснащен «магнитными замками». Контактная система полюса крепится на четырех опорных изоляторах. Движение ножам передается через изолирующую фарфоровую тягу 5. Для уменьшения отключающего и включающего усилия применяется механизм для снятия контактного давления. Заземляющие ножи 6 могут быть расположены со стороны шарнирного или разъемного контакта или с обеих сторон. При трехполюсной установке они закорачиваются общей медной шиной.

Рис. 4.2. Разъединитель РВ-6-10:
1 – рама; 2 – вал; 3 – рычаг; 4 – опорный изолятор;
5 – неподвижный контакт; 6 – нож; 7 – тяга с изолятором

Рис. 4.3. Разъединитель РВЗ-6-10:
1 – фарфоровая тяга; 2 – рама; 3 – рычаги; 4 – изолятор; 5 – неподвижный контакт;
6 – нож; 7 – вал с заземляющими ножами; 8 – гибкая связь; 9 – болт заземления;
10 – блокировочная тяга
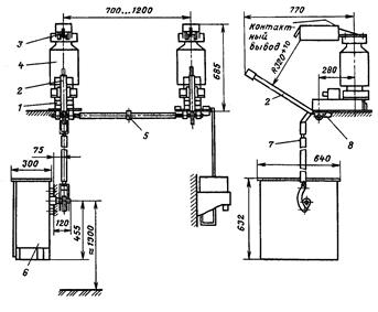
На рис. 4.4 показан разъединитель типа РВРЗ на напряжение 20 кВ, номинальный ток 8 кА, рассчитанный на предельный сквозной ток КЗ 300 кА и предельную термическую стойкость 112 кА (при расстоянии между полюсами 700 мм).

Рис. 4.4. Разъединитель рубящего типа для внутренней установки
с двумя заземляющими ножами РВРЗ-2-20/8000 (один полюс):
1 − подвижные главные контакты; 2 − неподвижный контакт; 5 − фарфоровая тяга;
4 − опорный изолятор; 5 − рама; 6 − заземляющие ножи; 7 − механическая блокировка между главными и заземляющими ножами
Заземляющие ножи имеют механическую блокировку, не разрешающую включать их при включенных главных ножах. Для управления заземляющими ножами используется ручной рычажный привод, состоящий из системы рычагов, передающих движение от рукоятки к валу (ПР), или червячный привод (ПЧ). Включение и отключение главных ножей осуществляется электродвигательным приводом (ПДВ), позволяющим производить эти операции дистанционно.
Во включенном и отключенном положении разъединитель надежно фиксируется системой рычагов привода, чтобы исключить самопроизвольное отключение или включение.
Для установки в комплектных экранированных токопроводах применяются разъединители катящегося типа с поступательным движением ножа. Эти разъединители рассчитаны на большие токи (12000, 14000 А). Неподвижные контакты выполнены в виде коробов из листовой меди и закреплены на опорных изоляторах, привернутых к раме. Подвижный контакт выполнен из восьми коробчатых шин, соединенных между собой специальным механизмом. Давление в контактах создается пружинами. При отключении разъединителя поворотом изолятора приводится в движение кулачковое устройство механизма, которое отжимает подвижные контакты от неподвижных на несколько миллиметров. Затем весь подвижный контакт перекатывается на роликах справа налево, отключая разъединитель. При включении сначала перемещается подвижный контакт слева направо, а затем кулачковое устройство освобождает коробчатые шины подвижного контакта и они пружинами прижимаются к неподвижным контактам. Такое отключение и включение без трения в контактах позволяет применить легкий двигательный привод (ПДВ-12), а также уменьшить износ контактов.
Разъединители, устанавливаемые в открытых распределительных устройствах, должны обладать соответствующей изоляцией и надежно выполнять свои функции в неблагоприятных условиях окружающей среды.
На рис. 4.5 показан такой разъединитель (РНВ-500) с вертикальным движением двух полуножей. В отключенном положении его высота 8,45 м. Разъединитель имеет два заземляющих ножа, привод главных ножей электродвигательный (ПДН), заземляющих ножей – ручной.
Разъединители горизонтально-поворотного типа выпускаются на напряжение 10 − 750 кВ. Широкое применение этих разъединителей объясняется значительно меньшими габаритами и более простым механизмом управления. В этих разъединителях главный нож состоит из двух частей, так же как у разъединителя РНВ, но они перемещаются в горизонтальной плоскости при повороте колонок изоляторов, на которых закреплены. Это разъединитель горизонтально-поворотного типа РНДЗ-2-110, показанный на рис. 4.6.
Один полюс является ведущим, к нему присоединен привод. Движение к двум другим полюсам (ведомым) передается тягами. Разъединители могут иметь один или два заземляющих ножа. Контактная часть разъединителя состоит из ламелей, укрепленных на конце одного ножа, и контактной поверхности на конце другого ножа. При включении нож входит между ламелями. Давление в контакте создается пружинами.
В горизонтально-поворотных разъединителях при отключении нож как бы «ломается» на две части, поэтому значительно облегчается работа привода в случае обледенения контактов. В разъединителях рубящего типа для разрушения корки льда ножу сообщалось поступательно-вращательное движение, чем усложнялась кинематика привода. В разъединителях 330 - 750 кВ предусмотрены льдозащитные кожухи, закрывающие контакты.

Рис. 4.5. Разъединитель для наружной установки вертикально-поворотного типа РНВ-500:
1 − приводной механизм заземляющих ножей; 2−рама; 3 − заземляющая шина; 4 − нож заземления; 5 − изолятор; 6, 9, 12 − экраны; 7−контакт; 8 − соединительная шина;
10 − главный нож с ламелями; 11 − главный нож с лопаткой; 13 − привод типа ПДН

Рис. 4.6. Разъединитель горизонтально-поворотного типа РНДЗ-2-110:
1 − рама; 2 − опорный изолятор; 3 − наконечник для присоединения шин;
4 − гибкая связь; 5 − главный нож с ламелями; 6 − главный нож без ламелей;
7 − заземляющие ножи; 8 − тяга к приводу; 9 − привод
Подвесной разъединитель (рис. 4.7) имеет подвижную контактную систему, состоящую из груза 5, снабженного пружинящими лапами 6 и контактными наконечниками 7, к которым приварены токопроводы 9 из двух алюминиевых труб. Вся эта система подвешена на гирляндах изоляторов 3 к порталу. Неподвижный контакт в виде кольца 8 может устанавливаться на шинной изоляционной опоре, а также на измерительных трансформаторах тока и напряжения. Тросовая система управления состоит из электродвигательного привода 10, троса 1, противовеса 2, блоков 4. В отключенном положении подвижный контакт поднят. При включении разъединителя вращением барабана привода поднимается вверх противовес, а подвижные контакты под действием собственного веса опускаются вниз и наконечники 7 приходят в соприкосновение с кольцом 8 − цепь замкнута.

Рис. 4.7. Разъединитель подвесного типа РПД-500:
1 – трос; 2 – противовес; 3 – гирлянда изоляторов; 4 – блок; 5 – груз; 6 – пружинящие «лапы»; 7 – контактные наконечники; 8 – неподвижный контакт; 9 – токопроводы;
10 – электродвигатель
Для электроустановок 1150 кВ разработаны разъединители двухколонковые с двумя телескопическими ножами, движущимися при включении в горизонтальной плоскости навстречу друг другу.
КОНСТРУКЦИЯ КОРОТКОЗАМЫКАТЕЛЕЙ
Конструкция короткозамыкателя КЗ-35 показана на рис. 4.8.

Рис. 4.8. Короткозамыкатель КЗ-35:
1 − основание; 2 − заземляющий нож; 3 − неподвижный контакт;
4 − изоляционная колонна; 5 − изоляционная вставка; 6 − привод ПРК-1; 7 − тяга;
8 − гибкая связь к заземляющей шине
Привод короткозамыкателей имеет пружину, которая обеспечивает включение заземленного ножа на неподвижный контакт, находящийся под напряжением. Импульс для работы привода подается от релейной защиты. Отключение производится вручную. При включении короткозамыкателя во избежание возникновения дуги и повреждения аппарата необходимо обеспечить большую скорость движения ножа. В существующих конструкциях время включения короткозамыкателя составляет 0,12 — 0,25 с.
Короткозамыкатели КЭ-110 и КЭ-220 выполняются в виде одного полюса. Полюс КЭ-110 (рис. 4.9) состоит из основания 5 и контактной камеры 2. В основании, изолированном от земли, расположены пружинный механизм включения и масляный буфер.
Утечки элегаза компенсируются из баллона, связанного через фильтр с внутренней полостью контактной камеры. Давление контролируется по мановакуумметру. Пружинный привод ППК обеспечивает дистанционное включение и отключение короткозамыкателя. На заземляющей шине 4 установлен трансформатор тока 7.

Рис. 4.9. Короткозамыкатель закрытого типа с элегазовым наполнением КЭ-110:
1 − контактный вывод; 2 − контактная камера; 3 − гидравлический затвор;
4 − присоединение заземляющей шины; 5 − основание; 6 − мановакуумметр;
7 − трансформатор тока ТШЛ-0.5; 8 − привод; 9 − тяга; 10 − изолятор;
11 − баллон с элегазом; 12 − фильтр
Контактная камера короткозамыкателя (рис. 4.10) имеет один разрыв 90 мм и состоит из фарфорового корпуса и двух вертикально расположенных электродов. Неподвижный контакт 2 имеет вывод для присоединения токоведущей шины. Подвижный контакт через гибкие связи соединен с заземляющей шиной. Полость контактной камеры заполнена элегазом SF6 с избыточным давлением 0,3 МПа.

Рис. 4.10. Контактная камера короткозамыкателя КЗ-110:
1 − мешочек с силикагелем; 2 − неподвижный контакт; 3 − фарфоровый корпус; 4 − экран; 5 − подвижный контакт; 6 − гибкая связь; 7 − масляный гидрозатвор;
8 − сальниковое уплотнение
Элегаз обладает высокой электрической прочностью. При атмосферном давлении его прочность в 2 − 3 раза выше воздуха, а при давлении 0,3 МПа прочность элегаза сравнима с прочностью чистого трансформаторного масла. Элегаз не горит и не поддерживает горения, поэтому аппараты с элегазом не опасны в отношении взрыва и пожара. При снижении давления внутри камеры до атмосферного промежуток между контактами может выдерживать, не пробиваясь, наибольшее рабочее напряжение. Герметичность камеры обеспечивается прокладками из резиновых колец между фарфоровыми корпусами и металлическими фланцами (на рисунке не показаны) и гидравлическим затвором в месте прохождения подвижной тяги.
Нижний контакт представляет собой стержень, экранированный цилиндром. Неподвижный контакт розеточного типа. Ламели контакта от обгорания защищены экраном.
В короткозамыкателе КЭ-220 на 220 кВ две контактные камеры такой же конструкции.
КОНСТРУКЦИЯ ОТДЕЛИТЕЛЕЙ
На рис. 4.11 представлен полюс отделителя марки ОД-35. Эти отделители выпускаются на базе горизонтально-поворотных двухколонковых разъединителей серии РЛНД и могут быть использованы для автоматического отключения при включении отделителя вручную и для автоматического или дистанционного включения и отключения.

Рис. 4.11. Полюс отделителя ОД-35 во включенном положении:
1,2 – колонки стержневых опорных изоляторов; 3,4 – подвижные контакты;
5 – контактные губки; 6 – зажимы; 7 – гибкие связи; 8 – привод; 9 – нож заземления
Энергия взводимых пружин, расположенных у основания отделителей, позволяет существенно снизить потребление электроэнергии на операцию переключения и ускорить отключение отделителей. Если время операции разъединителя РНД с электродвигательным управлением составляет 5 - 10 с, то для отделителя оно не более 1 сек.
Каждый полюс отделителя на 35 кВ имеет фасонное стальное основание, валы с рычагами и две колонки стержневых опорных изоляторов 1 и 2 (СТ-35), на которых смонтирована токоведущая система отделителя. Подвижные контакты отделителя состоят из двух плоских полуножей 3 и 4.На ноже 3 укреплены контактные губки 5, снабженные плоскими стальными пружинами. При включении нож 4 врубается между губками 5 ножа 3. При отключении оба ножа 3 и 4 отделителя поворачиваются на 90° в горизонтальной плоскости.
Включение и отключение ножей осуществляется одновременным вращением обоих изоляторов пружиной. Приведенная конструкция ножей и контактной системы при операциях позволяет крошить образовавшийся лед, при этом изоляторы не будут испытывать значительных изгибающих усилий. Отделитель управляется специальным автоматическим приводом 8 (ШПО или ШППО). Нож заземления 9 отделителя имеет обычный ручной привод 10 (ПРН-110М).
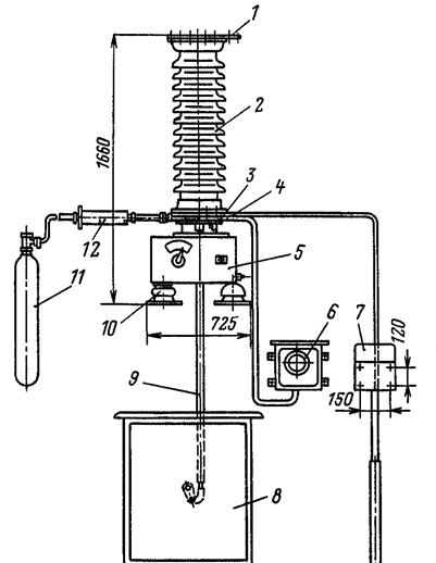
Отделитель закрытого исполнения с элегазовым наполнением (рис. 4.12) предназначен для отключения и включения токов намагничивания силовых трансформаторов и зарядных токов линий. Отделитель ОЭ-110 обеспечивает автоматическое включение и отключение.

Рис. 4.12. Отделитель закрытый с элегазовым наполнением ОЭ-110/1000:
1 − верхний фланец; 2 − неподвижный контакт; 3 − экран; 4 − контактная пружина;
5 − подвижный контакт; 6 − изолирующая колонка; 7 − масляный гидрозатвор;
8 − основание; 9 − тяга к приводу; 10 − буфер; 11 − мановакуумметр;
12 − тяга к неподвижному контакту
Три полюса установлены на общем основании 8. Токоведущие провода присоединяются к контактным выводам на верхнем и среднем фланцах. Внутри контактной камеры находятся неподвижный контакт розеточного типа и полый подвижный контакт с экраном. Включение происходит за счет силы пружин привода ППО. Давление в контактах создается за счет сжатой пружины 4 и пружинящего розеточного контакта. Отключение происходит автоматически за счет отключающих пружин, расположенных в основании отделителя.
Специальных устройств для гашения дуги не предусмотрено, так как элегаз обладает высокой электрической прочностью, а отделитель предназначен для отключения токов не более 20 А. Разрыв между контактами в отключенном положении 90 мм. Избыточное давление элегаза в контактной камере 0,3 МПа, но даже при утечке элегаза и снижении давления до атмосферного промежуток между контактами может выдерживать, не пробиваясь, наибольшее рабочее напряжение 126 кВ. Для герметичного уплотнения подвижной тяги при выходе из камеры используется масляный гидрозатвор 7 такой же конструкции, как в короткозамыкателе.
Контактная камера отделителя 110 кВ является модулем для аппаратов на более высокое напряжение. Так, в отделителе 220 кВ должно быть две камеры.
Достоинствами короткозамыкателей и отделителей закрытого исполнения являются четкая работа и малые времена включения и отключения.
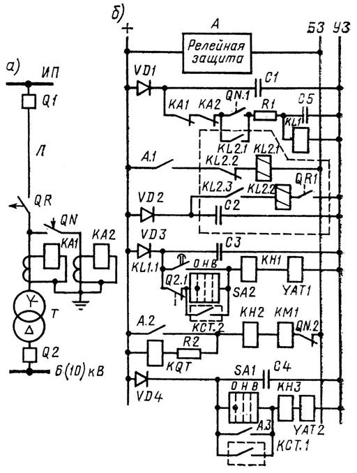
Схема управления короткозамыкателем и отделителем, установленными на тупиковой подстанции, показана на рис. 4.13.
К подстанции идет линия Л, на питающем конце которой установлены быстродействующая защита и защита с выдержкой времени. В рассматриваемой схеме питание электромагнитов отключения отделителя YAT1 и выключателя YAT2 на стороне напряжения 6-10 кВ, промежуточного реле KL1, а также обмотки KL2.2 двухпозиционного реле KL2 осуществляется от предварительно заряженных конденсаторов С1-С4, включенных через разделительные диоды VD1-VD4. Для заряда конденсаторов использованы зарядные устройства типа БПЗ-401 и БПЗ-402.
При оперативном отключении подстанции ключом SA1 отключают выключатель Q2 на стороне низшего напряжения, а затем ключом SA2 отключают отделитель QR. Обратный порядок отключения (сначала QR, а затем Q2) невозможен, так как вспомогательный контакт Q2.1 выключателя препятствует отключению отделителя, способного отключать лишь ток холостого хода трансформатора. Отключение подстанции по каналу телеуправления происходит при замыкании контактов КСТ.1 и КСТ.2.
При повреждении трансформатора и аварийном его отключении могут быть два случая: срабатывает только защита трансформатора; вместе с защитой трансформатора срабатывает защита линии и отключает выключатель Q1.
В первом случае защита трансформатора контактом А.2 замыкает цепь контактора КМ1 включения короткозамыкателя QN. После включения QN защита отключает выключатель Q1. В этом случае условием отключения отделителя QR являются отсутствие тока в цепи защищаемого трансформатора, включенное положение короткозамыкателя QN и отсутствие тока в его цепи. Для получения этой информации используют реле тока КА1 и КА2 (рис. 4.13, а) и вспомогательные контакты короткозамыкателя QN.1. Контакты реле КА1, КА2 вспомогательный контакт QN.1 включены последовательно в цепь реле KL1, которое при срабатывании замыкает контакт KL1.1 в цепи YAT1 и действует на отключение отделителя (рис. 4.13, б).
При включении короткозамыкателя его вспомогательные контакты QN.1 могут замкнуться раньше основных контактов, и отделитель начнет отключаться. В этом случае он отключает токи короткого замыкания, что приводит к аварии. Чтобы избежать этого, используют промежуточное реле KL1 с замедлением при срабатывании.
|
| |
|
|
Рис. 4.13. Схема управления короткозамыкателем и отделителем
Если вместе с защитой трансформатора срабатывает защита линии и отключается выключатель Q1 до включения короткозамыкателя QN, то вспомогательный контакт QN.1 в цепи обмотки реле KL1 остается разомкнутым. В этом случае отключение отделителя QR в бестоковую паузу происходит благодаря действию двухпозиционного реле KL2, контакта KL2.1, вспомогательного контакта QN.1. Двухпозиционное реле переключается при срабатывании защиты трансформатора (замыкается контакт А.1).
Нормальный режим работы отключившейся подстанции восстанавливает обслуживающий персонал.
Контрольные вопросы
1. Назначение разъединителей. Какие операции разрешается производить
разъединителями?
2. По каким признакам классифицируются разъединители?
Опишите устройство и области применения разъединителя типа РВ-6-10.
3. Объясните устройство разъединителя типа РВЗ - 6-10.
4. Расскажите об устройстве и принципе действия разъединителя типа РВК-20.
5. Расскажите об устройстве и принципе действия разъединителя типа РВН-500.
6. Объясните назначение короткозамыкателей и отделителей.
7. Расскажите об устройстве и принципе действия короткозамыкателя
типа КЗ-35.
8. Расскажите об устройстве и принципе действия короткозамыкателя
типа КЭ-110.
9. Расскажите об устройстве и принципе действия отделителя типа ОД-35.
10. Расскажите об устройстве и принципе действия отделителя типа ОЭ-110.
11. Опишите схему автоматики между короткозамыкателем и отделителем.