Необходимость настройки

Лекция № 9

Настройка инструмента вне станка

Необходимость настройки

Высокая стоимость оборудования с ЧПУ требует сокращения цикла обработки деталей. Это достигается уменьшением простоев оборудования при подготовке производства, как при запуске новой продукции, так и в процессе работы. Наиболее существенные затраты времени связаны с настройкой инструмента после его смены. Сократить это время можно за счет предварительной настройки инструмента вне станка. Поскольку станки с ЧПУ требуют применения инструментов определенных размеров при заданном положении относительно системы координат станка, предварительная настройка всех инструментов на заданные размеры вне станка играет решающую роль для повышения эффективности станков с ЧПУ.

Предварительная настройка инструмента вне станка обеспечивает значительное сокращение его простоев благодаря совмещению подготовительно-заключительного времени, затрачиваемого на переналадку станка, и вспомогательного времени, затрачиваемого на замену и поднастройку инструмента, со временем работы станка. Предварительная настройка инструмента проводится независимо от конкретной программы. Для этого регламентируются координатные размеры вершин режущей кромки инструмента.

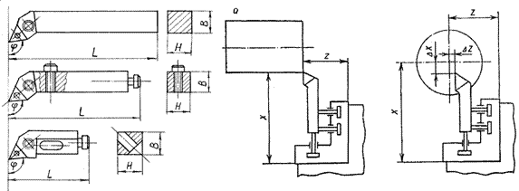
Для обеспечения возможности предварительной настройки инструментов на требуемый размер вне станка они должны иметь соответствующие элементы. Чаще всего в качестве настраиваемых базирующих элементов используют винты с шаровидной головкой, которые обеспечивают упор инструмента в базовые поверхности револьверных головок, переходников-адаптеров и т.д. Конструкции резцов для станков с ЧПУ и схема их базирования приведены на рис. 1

Рисунок 1 -

 
 

Конструкции токарных резцов

Аналогичные конструкции используют для настройки вылета осевого инструмента. В торец хвостовика инструмента ввинчивается настроечный винт с шаровой головкой.

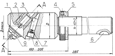
Для настройки вылета расточных головок используют микрометрические винты (см. рис.2). Корпус 1 оправки снабжен цилиндрическим хвостовиком, на котором размещены регулировочная гайка 5 и шпонка 6. Регулировочная гайка фиксируется на хвостовике в заданном положении путем отжатия специального лепестка винтом 4. В передней части оправки в цилиндрическом отверстии с шпоночным пазом размещена державка 13 с шпонкой 2. Державка с резцом 10 перемещается в оправке при вращении лимб-гайки 9 с ценой деления шкалы 0,02 мм. Для возвращения державки в исходное положение служит пружина 7 с плунжером 3. Степень сжатия пружины регулируется винтом 8. Во время регулирования вылета резца его первоначальное положение устанавливается относительно державки. Затем винтом 12 резец закрепляется в державке, и в дальнейшем его вылет регулируется лимб-гайкой в пределах 3...7 мм. Окончательное закрепление отрегулированного резца осуществляется винтом 11.

Рисунок 2 - Оправка с упрощенной конструкцией регулирования вылета резца