Части парашютной системы
Десантная парашютная система Д-10
Назначение, устройство и взаимодействие частей
Десантная парашютная система Д-10 предназначена для учебно-тре-нировочных и боевых прыжков из военно-транспортных самолетов Ан-22, Ил-76, Ан-26, из самолета Ан-2 и вертолетов Ми-6 и Ми-8, выполняемых отдельными парашютистами или группами десантников всех специальностей с полным табельным вооружением и снаряжением или без него при общей полетной массе парашютиста 140 кг.
Технико-эксплуатационные характеристики
| Эксплуатационные ограничения: | |
| масса десантника-парашютиста с парашютами, кг | 140 – 150 |
| скорость полета самолета, км/ч | 140 – 400 |
| максимально безопасная высота раскрытия парашюта, м | |
| минимально безопасная высота применения, м | |
| Время стабилизации, с | 3 и более |
| Скорость снижения на стабилизирующем парашюте, м/с | 30 – 40 |
| Усилие, необходимое для раскрытия двухконусного замка с помощью звена ручного раскрытия, кгс, не более | |
| Скорость снижения на основном парашюте, м/с | |
| Время разворота в любую сторону на 1800 при снятии шнура блокировки и перетянутых свободных концах подвесной системы, с | не более 60 |
| Время разворота в любую сторону на 1800 при заблокированных свободных концах подвесной системы, с | не более |
| Средняя горизонтальная скорость перемещения вперед и назад, м/с | не менее 2,6 |
| Рост десантника-парашютиста, м | 1,5 – 1,9 |
| Масса парашютной системы без парашютной сумки и парашют- ного прибора АД-3У-Д-165, кг, не более | 11,7 |
| Количество применений: | |
| при общей полетной массе десантника-парашютиста 140 кг, раз | |
| в т.ч. при общей полетной массе парашютиста 150 кг | |
| Срок хранения без переукладки, месяцев, не более | |
| Гарантийный срок службы, лет |
Парашютная система Д-10 позволяет применять запасные парашюты типа З-4, З-5, З-2. В качестве страхующего средства для раскрытия двухконусного замка применяются парашютные приборы АД-3У-Д-165, ППК-У-165А-Д.
Части парашютной системы
1. Камера стабилизирующей системы.
2. Система стабилизирующая (парашют стабилизирующий бесстропный).
3. Камера основного парашюта.
4. Основной парашют (купол со стропами).
5. Подвесная система.
6. Ранец.
7. Двухконусный замок.
8. Звено ручного раскрытия.
9. Страхующий парашютный прибор типа ППК-У или АД-ЗУ-Д.
10. Парашютная сумка.
11. Паспорт.
12. Вспомогательные части и детали.
Камера стабилизирующей системы(рис. 1.20)предназначена для укладки в нее стабилизирующего купола со стропами и верхней части стабилизатора, а также для упорядоченного введения в действие стабили-зирующей системы.
Форма цилиндрическая. Материал – капроновый авизент. Состоит из осно-вы (4) и имеющихся на ней: в верхней части – карабин(1) для крепления к тросу или удлинителю в самолете, ленту зачековки (7) для зачековки резиновой соты, предохранитель (6), шнур-завязку (3)для стягивания камеры; в нижней – металлические кольца (5)для контровки с кольцами стабилизатора.
_________________________________
Система стабилизирующая (парашют стабилизирующий бесстропный)предназначена для введения в действие страхующего парашютного прибора, обеспечения стабилизированного снижения парашютиста и для раскрытия основного парашюта.
Система стабилизирующая (рис. 1.21)состоит из купола со стропами и стабилизатора с парашютным звеном.
|
| |
купола в полюсной части нашито вытяжное устройство (2), которое предназначено для обеспечения наполняемости купола и состоит из восьми карманов. На внешнюю сторону купола настрочены усилительные ленты: радиальные (3) – из ленты ЛТКП-15-185 и круговые (4)из ленты ЛТКП-13-70. Кромка купола усилена подгибом ткани на внешнюю сторону и настроченной на нее с двух сторон лентой ЛТКП-15-185. По нижней кромке купола под радиальные усилительные ленты продеты и пристрочены зигзагообразной строчкой концы 16 строп, изготовленных из шнура ШКП-200. Длина крайних строп (6)в свободном состоянии от нижней кромки купола до пера стабилизатора – 0,52 м, а средних (5)строп – 0,5 м. На куполе нанесено заводское клеймо (18): индекс парашюта и год изготовления.
Стабилизатор служит для предотвращения вращения стабилизирующего парашюта и состоит из двух перьев (7), каждое из которых изготовлено из капроновой ткани серого цвета и имеет форму равнобедренного треугольника. Перья сострочены по высоте, образуя четыре пера стабилизатора. По боковым сторонам каждого пера нашиты ленты ЛТКкрП-26-600, образующие в верхней части петли, к которым привязаны стропы, а в нижней части переходящие в парашютное звено. На каждую боковую сторону пера нашито по ленте с кольцом (17). Кольца служат для их контровки с кольцами, нашитыми на камере стабилизирующего парашюта.
Парашютное звено (8)служит для соединения стабилизирующего парашюта с ранцем на этапе стабилизации и с основным куполом на всех остальных этапах работы, а также для удаления стабилизирующего парашюта от десантника и обеспечения его устойчивой работы. На расстоянии 0,45 м от перьев стабилизатора на звено нашита петля (9)из ленты ЛТКкрП-26-600, которая предназначена для присоединения шнура включения парашютного прибора. Нижняя часть звена разветвляется, образуя силовые ленты (10), в концы которых вшиты пряжки (11) двухконусного замка. На силовые ленты с двух сторон нашиты перемычки, изготовленные из ленты ЛТК-44-1600. Между перемычками вшита петля (13)из ленты ЛТКМкрП-27-1200, которая предназначена для присоединения стабилизирующей системы к уздечке купола основного парашюта и к уздечке его камеры. На петле смонтирована лента зачековки (12),изготовленная из капроновой ленты ЛТКкрП-26-600 красного цвета в три сложения и предназначенная для зачековки съемной соты, находящейся на кольце правого клапана ранца. На одном концеленты зачековки имеется петля для присоединения к петле парашютного звена стабилизирующего парашюта, на другом – метка, ограничивающая зачековку.
Образовавшийся из лент треугольник с обеих сторон закрыт косынками (14), изготовленными из капронового авизента. На силовые ленты между косынками с помощью ленты (15)ЛТКкрП-26-600 нашито направляющее кольцо (16), через которое пропускается шнур включения парашютного прибора. На силовых лентах около пряжек черной безвредной краской нанесены стрелки для контроля правильности монтажа и установки силовых лент на двухконусный замок.
Парашют стабилизирующий бесстропный(рис. 1.22) состоит из купола, стабилизатора и парашютного звена.
Купол (1) имеет полусферическую форму площадью 1,5 м2, изготовлен из капроновой ткани. На внешнюю сторону купола настрочены радиальные усилительные ленты (3)ЛТКП-15-185 и круговые ленты (2)ЛТКП-13-70. Кромка купола усилена настроченной на нее с двух сторон лентой ЛТКП-15-185. На куполе нанесено заводское клеймо: индекс парашюта и год изготовления. _____________________________
Стабилизатор служит для предотвращения вращения стаби-лизирующего парашюта и состоит из четырех перьев (4), которые изготовлены из капроновой ткани серого цвета. На поверхность каждого пера стабилизатора с обеих сторон нашит усилительный каркас из ленты ЛТКП-13-70. Верхняя сторона каждого пера крепится к куполу с помощью раздвоенных концов лент усилительного каркаса. По боковым сторонам каждого пера нашиты ленты ЛТКкрП-26-600, которые в нижней части образуют парашютное звено. На каждую боковую сторону пера нашито по ленте с кольцом (15). Кольца служат для их контровки с кольцами, нашитыми на камере стабилизирующего парашюта.
Парашютное звено (5)служит для соединения стабилизирующего парашюта с ранцем на этапе стабилизации и с основным куполом на всех ос-тальных этапах работы, а также для удаления стабилизирующего парашюта от основного парашюта и обеспечения его устойчивой работы. На расстоянии 0,45 м от перьев стабилизатора на звено нашита петля (6)из ленты ЛТКкрП-26-600, которая предназначена для присоединения шнура включения парашютного прибора. Нижняя часть звена разветвляется, образуя силовые ленты (7), в концы которых вшиты пряжки (8)двухконусного замка. На силовые ленты с двух сторон нашиты перемычки, изготовленные из ленты ЛТК-44-1600. Между перемычками вшита петля (10)из ленты ЛТКМкрП-27-1200, которая предназначена для присоединения стабилизирующего парашюта к уздечке купола основного парашюта и к уздечке его камеры. На петле смонтирована лента зачековки (9),изготовленная из капроновой ленты ЛТКкрП-26-600 красного цвета в три сложения и предназначенная для зачековки съемной соты, находящейся на кольце правого клапана ранца. На одном концеленты зачековки имеется петля для присоединения к петле парашютного звена стабилизирующего парашюта, на другом _ метка, ограничивающая зачековку.
Образовавшийся из лент треугольник с обеих сторон закрыт косынками (11), изготовленными из капронового авизента. На силовые ленты между косынками с помощью ленты (12)ЛТКкрП-26-600 нашито направляющее кольцо (13), через которое пропускается шнур включения парашютного прибора. На силовых лентах около пряжек черной безвредной краской нанесены стрелки для контроля правильности монтажа и установки силовых лент на двухконусный замок.
Камера основного парашюта (рис. 1.23) служит для укладки в нее купола со стропами основного парашюта и для его упорядоченного раскрытия. Камера изготовлена из капроновой ткани серого цвета и имеет форму цилиндра (в уложенном виде).
Поверхность каме-ры усилена двумя лентами (2)ЛТКкрП-26-600, которые в верхней части образуют уз-дечку. Для удоб-ства укладки купо-ла в камеру по верхнему основа-нию камеры и лен-там уздечки наши-та косынка (5). В подгиб верхнего основания камеры вложен и пристро-чен шнур-завязка (3)из шнура ШКП-150, который предназначен для стягивания верхнего основания камеры.
На основу камеры нашито:
- усиление (12)из капроновой ткани серого цвета;
- девять прямых (10)сот с лентами (11)в нижней части для укладки строп основного парашюта:
- распределитель сот (8)с резиной сот (9) из ранцевого шнура для удержания строп в сотах;
- клапан (15)с двумя парами люверсов (14)для пропуска съемных резиновых сот (16, 17)и с двумя карманами (21)для прикрытия пучков строп; для удобства укладки строп на клапане около люверсов нанесена маркировка – 1,2,3,4;
- карман (22)у верхнего основания камеры для заправки концов шнура-за-вязки.
Для прикрытия пучков строп, уложенных в соты, в верхней части камеры нашиты фартуки (7)из капроновой ткани серого цвета с лентами-за-вязками (6).
В подгибку нижней части камеры вставлено кольцо (20)из эластичной ленты шириной 29 мм, предназначенное для обеспечения упорядоченного выхода купола основного парашюта из камеры.
У нижнего основания камеры установлены две съемные резиновые соты и нашит фартук (19), который в свою очередь имеет еще две съемные резиновые соты.
Основной парашют(рис. 1.24)предназначен для обеспечения безопасной скорости снижения и приземления парашютиста.
Состоит из основы купола и строп. Основа купола состоит из 24 клиньев (1), которые образуют неплоский круг площадью 100 м2. Каждый клин купола в свою очередь состоит из семи клиньев, шесть из которых изготовлены из капроновой ткани, и один клин (2) шириной 50 мм – из ткани "эксцельсиор", являющейся сеткой. Клинья соединены между собой швом «в замок». На швы, соединяющие клинья купола, настрочены капроновые ленты ЛТКП-13-70. Нижняя кромка купола усилена с двух сторон капроновой лентой ЛТКП-15-185. По нижней кромке купола у всех строп, кроме строп № 1А,1Б,13А,13Б, нашиты перемычки из капроновой ленты ЛТКП-15-185, которые предназначены для предотвращения случаев перехлестывания купола стропами и уменьшения времени его наполнения. На основе купола, между стропами № 1А и 1Б,13А и 13Б имеются щели (3)длиной 1,7 м, предназначенные для разворота купола при снижении.
|
Основной парашют (рис. 1.25) имеет 26 основных строп (1), изготовленных из капронового шнура ШКП-150 (из них 22 стропы длиной 4 м и 4 стропы (4), прикрепленные к петлям щелей купола, длиной 7 м), 22 внешние дополнительные стропы (2)длиной 3 м, а также 24 внутренние дополнительные стропы (3)из капронового шнура ШКП-120 длиной 4 м.
|
Дополнительные стропы примонтированы к основным стропам, причем к стропам № 2 и 14 (5) примонтированы по две внутренние дополнительные стропы (3).
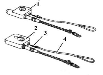
Стропы одним концом привязаны к петлям купола, другим – к пряжкам-полукольцам свободных концов (6) подвесной системы.
Для облегчения укладки основного парашюта на стропах № 1А,1Б и на дополнительной стропе № 24 у нижней кромки купола, а также у пряжек-полуколец подвесной системы нашиты опознавательные муфты, изготовленные из хлопчатобумажной ткани зеленого или синего цвета, а на дополнительной стропе № 12 – красного или оранжевого цвета.
Для облегчения укладки строп на них нанесены метки на расстоянии 0,2 м от нижней кромки купола и 0,4 м от пряжек-полуколец свободных концов подвесной системы, обозначающих начало и конец укладки.
По нижней кромке купола, слева от строп, указаны их порядковые номера. На куполе с внешней стороны между стропами 1А и 24 имеется заводская маркировка.
На стропы № 1А и 13А, 1Б и 13Б нашиты стропы управления (4)(рис. 1.26), которые предназначены для разворота купола и изго-товлены из капронового шнура ШКПкр-190 крас-ного цвета в два сложения. Стропы управления про-деты через кольца (2), на-шитые с внутренней стороны свободных концов (1)подвесной системы. Один конец левой стропы управления пристрочен к стропе № 13А на расстоянии 1,65 м, второй – к стропе № 1А на расстоянии 1,45 м от пряжек-полуколец свободных концов подвесной системы. Один конец правой стропы управления пристрочен к стропе № 13Б на расстоянии 1,65 м, второй – к стропе № 1Б на расстоянии 1,45 м от пряжек-полуколец свободных концов подвесной системы.
При натяжении правой стропы управления натягиваются стропы № 1Б и 13Б, втягивая внутрь нижнюю кромку купола. Поток воздуха, выходящий из-под кромки в месте ее подгиба, создает реактивную силу, которая вращает купол, и он разворачивается вправо (рис. 3.27).
При натяжении левой стропы управ-ления натягиваются стропы № 1А и 13А и купол поворачивается влево.
__________________________________
Подвесная система парашюта предназначена:
- для соединения парашюта с парашютистом;
- для равномерного распределения динамической нагрузки на тело парашютиста в момент раскрытия парашюта;
- для удобного размещения в ней парашютиста, для крепления запасного парашюта, оружия и снаряжения.
Подвесная система (рис. 1.28) изготовлена из капроновой ленты ЛТК-44-1600 и состоит из следующих частей:
- свободные концы (1);
- главная лямка (2) с наспинно-плечевыми обхватами (3);
- грудная перемычка (4);
- поясной обхват (5);
- ножные обхваты (6);
- расчековочное устройство (7).
-

Свободные концы замаркированы циф-рами: 1 и 2 – правая пара, 3 и 4 – левая и заканчиваются пряжками-полукольцами, к которым крепятся стропы основного парашюта. На свободных концах, замар-кированных цифрами 2 и 3, имеются ре-зиновые шлевки из эластичной ленты, предназначенные для заправки слабины строп управления. В верхней части сво-бодных концов нашиты четыре ленты с кольцами, через которые пропущены стропы управления.
На каждой паре свободных концов имеется шнур-блокировка, изготовленный из шнура ШКП-150, который применяется при использовании парашютной системы без переката свободных концов подвесной системы.
Главная лямка сострочена из лент в два сложения. Слева в верхней части главной лямки расположены две изогнутые пряжки: нижняя для соединения его с левым наспинно-плечевым обхватом, верхняя – для крепления левой пары свободных концов.
Справа в верхней части главной лямки расположены три изогнутые пряжки: нижняя для соединения его с правым наспинно-плечевым обхватом, верхняя _ для крепления звена расчековочного устройства, изготовленного из ленты ЛТКП-43-900 и правой отделяемой пары свободных концов, средняя –
для монтажа звена расчековочного устройства.
С обратной стороны главной лямки, ниже изогнутых пряжек, с помо-щью ленты ЛТКкрП-43-800 нашиты пряжки для крепления ремней грузового контейнера.
С левой стороны главной лямки, ниже изогнутых пряжек пришита лента ЛТКкрП-26-600 для крепления гибкого шланга, а ниже, на уровне груди, пришит карман звена ручного раскрытия.
Для присоединения свободных концов промежуточной подвесной системы запасного парашюта в главную лямку вмонтированы две скобы крепления.
___________________________________

Ниже, с помощью ленты ЛТКкрП-43-800, в главную лямку вшиты пряжки для подтягивания ранца с помощью регулирующих лент. Здесь же, в треугольниках, образованных лямками наспинно-плечевых обхватов, закреплены с левой стороны карабин, а с правой пряжка для застегивания ножных обхватов.
В нижней части главная лямка раздвоена, ленты сшиты встык, а на них нашиты мягкая накладка для удобного сидения в подвесной системе и кольца для лент подтягивания нижних углов ранца.
Наспинно-плечевые обхваты для исключения самопроизвольного перемещения через изогнутые пряжки и пряжки с зубчатыми перемычками имеют нашитые на них ленты ЛТКкрП-43-800 и петли из ленты ЛТКкрП-43-800.
Грудная перемычка образована наспинно-плечевыми обхватами, идущими вверх от крестовины через изогнутые пряжки, и имеет в левой половине карабин, а в правой – пряжку.
Поясной обхват образован лентами грудной перемычки после прохождения их между лентами главной лямки; на нем имеется две прямоугольные регулировочные пряжки. _____________________________________
Ножные обхваты образованы ниж-ними концами наспинно-плечевых обхва-тов, пропущенных между лентами глав-ной лямки, и имеют на правом обхвате карабин, а на левом пряжку. На ножных обхватах смонтированы прямоугольные пряжки для регулировки ножных обхва-
тов по росту парашютиста.
Расчековочное устройство (рис. 1.30) предназначено для отсоединения правой пары свободных концов от подвесной системы и изготовлено из облегченной ленты ЛТКОкр-44-1600, на которую нашиты:
- лента ЛТКМП-12-450, образующая петлю, к которой крепится шпилька-чека;
-лента ЛТКП-15-185, образующая петлю для крепления расчековочного устройства к изогнутой пряжке главной лямки;
-лента ЛТКкрП-26-600, образующая ручку.
На концы ленты ЛТКОкр-44-1600 нашита текстильная застежка. На кольце шпильки-чеки закреплена съемная парашютная сота.
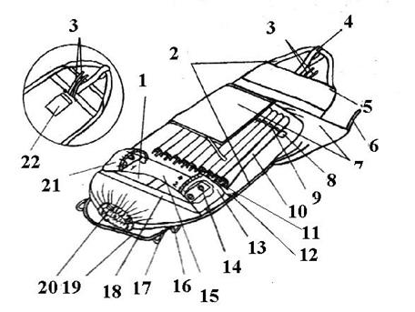
Ранец (рис. 1.31) предназначен для укладки в него купола основного парашюта со стропами, уложенного в камеру, части свободных концов подвесной системы и размещения прибора.
Ранец изготовлен из капронового авизента или капроновой ткани и состоит из основы, накладного дна, правого и левого клапанов. Между основным и накладным дном вставлена рама жесткости.
На правом клапане настрочены карман прибора из ленты ЛТКкрП-26-600 с лентами-завязками и карман шнура включения парашютного прибора из ленты ЛТК-44-1600 с клапаном. В верхней части правого клапана прикреплена резиновая сота для монтажа уложенной стабилизирующей системы на верхней части ранца. На внешней стороне правого клапана нашита ручка из ленты ЛТКкрП-26-600, которая предназначена для оттягивания правого клапана при заправке под него слабины звена стабилизирующего парашюта при подготовке к совершению парашютного прыжка из самолета Ил-76.
В свободные углы правого и левого клапанов ранца вшиты кольца, предназначенные для удержания клапанов в затянутом состоянии.
На кольце правого клапана смонтирована съемная сота, а на верхней части ранца, с внешней стороны левого клапана на ранце нашито сварное кольцо, предназначенное для зачековки съемной соты лентой, находящейся на петле парашютного звена стабилизирующей системы.

В начале пристрочки правого клапана с помощью ленты ЛТКкрП-20-150 пришито проволочное кольцо, предназначенное для контровки петли крепления шнура включения парашютного прибора. На этом же участке правого клапана нашита шлевка с шипом кнопки для клапана, прикрывающего двухконусный замок.
В верхней части ранца под пластиной крепления двухконусного замка с помощью ленты ЛТКкрП-20-150 закреплено кольцо, предназначенное для пропускания резиновой соты, крепящей уложенную стабилизирующую систему на верхней части ранца. С противоположной стороны нашита вторая шлевка с шипом кнопки для клапана, прикрывающего двухконусный замок. С левой стороны ранца на ленте пряжки с зубчатой перемычкой закреплен один конец гибкого шланга, который предназначен для размещения троса звена ручного раскрытия и предохранения его от случайного зацепления (длина шланга – 0,38 м).
Вверху на раме жесткости имеются два круглых и четыре продолговатых отверстия (рис. 1.32). В двух верхних продолговатых отверстиях закреплены ленты ЛТКкрП-43-800, которые оканчиваются пряжками с зубчатыми перемычками и предназначены для крепления ранца к наспинно-плечевым обхватам подвесной системы. В двух нижних продольных отверстиях закреплены регулируюшие ленты ЛТКМкрП-27-1200.
Примечание:допускается рама жесткости с двумя окнами в верхней
части ранца. На этом ранце ленты, оканчивающиеся пряж
ками с зубчатыми перемычками, закрепляются в верхней
стороне, а регулирующие ленты – в нижней стороне окон.
На внутренней части ранца на расстоянии 0,26 м от верха нанесена метка, ограничивающая укладку свободных концов на ранец.
На основе ранца настрочены:
- восемь петель крепления ранца к подвесной системе;
- клапан двухконусного замка;
- две косынки.
На косынках установлены круглые пряжки с плавающими перемычками, в которые продеты ленты ЛТКкрП-26-600 крепления запасного парашю-
та, оканчивающиеся карабинами, и ленты оранжевого цвета ЛТКкрП-26-600, которые предназначены для быстрого освобождения лент крепления запасного парашюта. На левой косынке нашит карман для карточки, заменяющей паспорт. Выше пришивки правой косынки на ранце нашиты две ленты-завязки для крепления шланга прибора.
На нижних углах ранца нашиты две ленты подтяга, изготовленные из ленты ЛТКкрП-26-600 в два сложения и предназначенные для притягивания нижних углов ранца к подвесной системе.
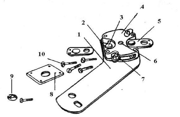
Двухконусный замок (рис. 1.33) предназначен для удержания пряжек силовых лент стабилизирующей системы во время стабилизации и освобождения их при выдергивании звена ручного раскрытия или срабатывании парашютного прибора.В состав двухконусного замка входят следующие части:
- монтажная пластина;
- корпус с двумя конусами;
- затвор с двумя конусами;
- крышка;
- два амортизатора;
- пружинящая и регулирующая шайбы;
- пластина крепления;
- винт крышки;
- 5 винтов крепления;
- гайка.


Звено ручного раскрытия (рис. 1.34) предназначено для раскрытия двухконусного замка самим па-рашютистом. Оно состоит из кольца, изготовленного из сталь-ного
прутка; троса длиной 0,6 м; ограничителя и проволочной петли. Трос звена ручного рас-крытия на расстоянии 0,21 м от ограничителя и 0,057 м от петли
покрыт полиэтиленовой обо-
лочкой.
Допускается звено ручного раскрытия без полиэтиленовой оболочки на тросе.
Страхующий парашютный прибор (рис. 1.35) предназначен для раскрытия двухконусного замка в случае, если парашютист по каким-либо причинам не выдернул звено ручного раскрытия.
____________________________
| |
С парашютной системой Д-10
применяются приборы типа ППК-У-165А-Д и АД-3У-Д-165 со шлангами длиной 0,165 м, тросами длиной 0,322 м, петлями длиной 0,019 м и шнурами включения длиной 0,36 м с гибкими шпильками.
Парашютная сумка (рис. 1.36) предназначена для укладки в нее парашютной системы при транспортировке и хранении.
_____________________
Парашютная сумка прямоугольной формы, изготовлена из авизента и имеет: две ручки, петлю для бирки, клапан с двумя пряжками-полукольцами, шнур для затяжки сумки, бирку для опломбирования сумки, ленту для затяжки клапана и карман.
Паспорт является неотъемлемой частью парашютной системы и предназначен для ведения записей о приеме, передаче, закреплении, техническом обслуживании, эксплуатации, ремонте и доработках парашютной системы.
К вспомогательным деталям относятся контровочная нить и контровочный шнур ШХБ-20.
Контровочной нитью контрят петлю звена стабилизирующей системы с кольцом на ранце, гибкую шпильку в затворе парашютного прибора, затвор двухконусного замка.
Она изготовлена из хлопчатобумажной пряжи (можно использовать сердцевину шнура ШХБ-125, ШХБ-60).
Контровочным шнуром длиной 0,3 м контрят кольца перьев стабилизатора с кольцами камеры стабилизирующей системы, при этом при десантировании из самолета Ан-2, вертолета Ми-8 применяется ШХБ-20 в два сложения, из самолета Ил-76 – в одно сложение.