Преломление в линзах
2.2.5. Общая формула линзы.
Система сферических поверхностей называется центрированной, если центры всех поверхностей лежат на одной прямой.
Соотношение
для сферической поверхности можно последовательно применять для всех поверхностей так же, как и соотношение Лагранжа-Гельмгольца 
Простейшая центрированная система- тонкая линза, ограниченная сферическими поверхностями с радиусами кривизны
и 

Рис.1
Линзы бывают двояковыпуклые, плосковыпуклые, двояковогнутые, плосковогнутые, вогнутовыпуклые.
Линза называется собирающей, если параллельные лучи параксиального пучка после преломления пересекаются в одной точке, и рассеивающей, если в результате преломления в линзе пучок параллельных лучей преобразуется в пучок расходящихся лучей.
Линза считается тонкой, если ее толщина
мала по сравнению с радиусами кривизны
и
ограничивающих поверхностей. В этом случае вершины сферических поверхностей практически сливаются в одну точку О, называемую оптическим центром линзы.
Любая прямая, проходящая через оптический центр линзы, называется оптической осью. Оптическая ось, совпадающая с осью симметрии системы, называется главной, а остальные побочными.
Любой параксиальный луч, проходящий через оптический центр линзы, не испытывает преломления.
Рассмотрим изображение точечного источника, создаваемое тонкой линзой с радиусами кривизны
и
.

Рис.2
Запишем формулы для сферических поверхностей
Первая поверхность:
(1)
Вторая поверхность:
(2)
Где
- d ; n-показатель преломления линзы,
и
-показатели преломления сред до и после линзы.
Для тонкой линзы
. Складывая (1) и (2) получим формулу тонкой линзы
(3)
Если линза расположена в однородной среде, то 
Получим формулу тонкой линзы в виде:
(4)
Обозначая
- относительный показатель преломления материала линзы по отношению к среде, получим
(5)
2.2.6. Оптическая сила и фокусные расстояния линзы.
Запишем уравнение тонкой линзы в виде:
(6)
Где Ф оптическая сила тонкой линзы. Она равна сумме оптических сил ее сферических поверхностей. Поскольку уравнение (6) справедливо для всех лучей параксиального пучка, то гомоцентрический пучок после преломления остается гомоцентрическим, а изображение является стигматическим.
Для линзы, находящейся в однородной среде с показателем преломления
,оптическая сила определяется формулой:
(7)
Для тонкой линзы можно ввести понятия заднего и переднего главных фокусов
и
и фокусные расстояния
и
.
а) 

б) 

Заднее фокусное расстояние
(8)
Переднее фокусное расстояние
(9)
Таким образом:
(10)
Если среда, в которую помещена линза, воздух, то
=1 и оптическая сила линзы связана с ее фокусным расстоянием соотношением:
(11)
Если по обе стороны линзы разные среды, то выполняется соотношение:
(12)
2.2.7. Формула Ньютона. Увеличение в линзе.
Уравнение тонкой линзы можно еще использовать в виде формулы Ньютона
(13)

Рис.3
где
и
- расстояние до предмета и изображения, отсчитанные от главных фокусов.
Увеличение в линзах определяется по формулам.
Поперечное увеличение:
(14)

Угловое увеличение:
(15)
2.2.8. Построение изображений в линзах.
Для построения изображений, создаваемых тонкими линзами, удобно пользоваться следующими правилами, вытекающими из основных определений и полученных результатов (рис. 3).
1.Луч, проходящий через оптический центр линзы, расположенной в однородной среде, не преломляется.
2.Луч, параллельный главной оптической оси, после преломления проходит через задний главный фокус линзы, если линза собирающая и продолжение луча пересекает главный фокус линзы, расположенный по одну сторону с предметом, если линза рассеивающая.
3.Луч, проходящий через главный фокус линзы, после преломления идет параллельно главной оптической оси.
4.Луч, параллельный побочной оптической оси, после преломления проходит через задний побочный фокус линзы, если линза собирающая, и продолжение проходит через передний побочный фокус, если линза рассеивающая.
Для построения хода произвольного луча после преломления в тонкой линзе строится вспомогательный луч, параллельно данному и проходящий через оптический центр. Точка пересечения вспомогательного луча с фокальной плоскостью определяет побочный фокус, в котором пересекаются все возможные лучи, параллельные данному.
Контрольные вопросы:
1. Получите формулу тонкой линзы.
2. Как определяется оптическая сила тонкой линзы?
3. Как определяются фокусные расстояния тонкой линзы?
4. Может ли двояковыпуклая линза быть собирающей?
Задание на самостоятельную работу.
Рассмотрите самостоятельно построения изображений в тонких линзах при различных положениях предмета.
Рекомендованная литература.
1. Сивухин Д.В. Общий курс физики Оптика: Учеб. Пособие. – М.: Наука, 1985-725с.
2. Ландсберг Г.С. оптика. – М.: Наука, 1976.
3. Савельев И.В. Курс общей физики. Т.2.М.: Наука, 1988-478с.; т.3 1988-205с.
4. Бутиков Е.И. Оптика.-М.: Высш.школа, 1986.-512с.
5. Калитиевский Н.И. Волновая оптика. – М.: Высш.школа, 1978,383с.
2.3.Центрированная оптическая система.
2.3.1 Теория Гаусса для идеальной оптической системы.
Любая оптическая система представляет собой совокупность центрированных преломляющих и отражающих поверхностей. В идеальной оптической системе сохраняется гомоцентричность пучков и изображение геометрически подобно предмету, т.е. каждой точке, прямой, плоскости в пространстве предметов соответствуют точка, прямая, плоскость в пространстве изображений. Теория идеальных центрированных оптических систем была разработана Гауссом в 1841г. и является частным случаем более общей геометрической задачи преобразования одного пространства в другое, которое называется коллинеарным преобразованием. Теория Гаусса устанавливает ряд, так называемых, кардинальных точек и плоскостей, задание которых полностью описывает свойства оптической системы и позволяет пользоваться ее, не рассматривая реального хода лучей в системе.
Рассмотрим преломление на сферической поверхности.

Рис.1
Запишем уравнения

(1)
(2)
Из (1) и (2) получаются формулы преобразования
(3)
Формулу (3) можно положить в основу геометрической теории любых центрированных систем в параксиальных гомоцентрических лучах. Путем их последовательного применения можно получить положение окончательного изображения, даваемого всей системой. Эти формулы устанавливают коллинеарное соответствие между точками пространства предметов и точками пространства изображений.
Из формул коллинеарного соответствия вытекают следующие свойства оптических изображений в центрированных системах.
1. Каждая плоскость пространства предметов изображается в виде плоскости в
пространстве изображений.
2. Каждая прямая в пространстве предметов изображается в виде прямой в
пространстве изображений.
3. Каждая точка пространства предметов изображается в виде точки в пространстве
изображений.
2.3.2 Кардинальные плоскости и точки.
Главные плоскости и точки оптической системы.
Две сопряженные плоскости, отображающиеся друг в друга с поперечным увеличением
, называются главными плоскостями
и 
Точки пересечения главных плоскостей с главной оптической осью, называются главными точками.
Положение главных плоскостей определяются радиусами кривизны преломляющих и отражающих поверхностей, расстояниями между ними и показателями преломления всех сред, разграниченных этими поверхностями. Поэтому главные плоскости могут находиться как внутри, так и вне системы, как по одну сторону от ограничивающих систему поверхностей, так и по обе стороны.

Рис. 2
Н-передняя главная плоскость,
-задняя главная плоскость
Фокальные плоскости и фокусы оптической системы.
Задней фокальной плоскостью называется плоскость, сопряженная с находящейся на бесконечности в пространстве предметов плоскостью
, перпендикулярной к оси. Точка пересечения задней фокальной плоскости с главной оптической осью дает положение заднего фокуса системы (F´) (рис. 3).

Рис. 3
Передней фокальной плоскостью называется плоскость, сопряженная с находящейся на бесконечности в пространстве изображений плоскостью
, перпендикулярной к оси. Точка пересечения передней фокальной плоскости с главной оптической осью дает положение переднего фокуса системы (F) (рис. 4).

Рис. 4
Узловые точки и плоскости
Узловыми называются лежащие на оптической оси сопряженные точки N и
, обладающие тем свойством, что проходящие через них (в действительности или при воображаемом продолжении внутрь системы) сопряженные лучи параллельны друг другу (т.е. угловой коэффициент увеличения
)
Плоскости, перпендикулярные к оси и проходящие через узловые плоскости, называются узловыми. Если среды по обеим сторонам системы одинаковы, то узловые точки совпадают с главными.

Рис. 5
2.3.3. Формула оптической системы.
Для построения изображений в центрированных идеальных системах можно использовать следующие правила:
1) луч, проходящий через фокус F, выходит из системы параллельно оптической оси в точке, определенной так, что продолжение входящего и выходящего лучей пересекаются в точке, принадлежащей главной плоскости Н;
2) луч, падающий параллельно главной оптической оси, на выходе проходит точку
так, что продолжение входящего и выходящего лучей пересекаются в точке, принадлежащей задней главной плоскости
.
3) луч, падающий так, что его продолжение пересекает узловую точки N, выходит из системы параллельно входящему, причем его продолжение пересекает оптическую ось в узловой точке
.

Рис. 6
Основные соотношения, характеризующие идеальную оптическую центрированную систему, следующие
Формула Ньютона
(4)
Формула системы
(5)
Фокусные расстояния отсчитываются от главных плоскостей.
Оптическая сила системы определяется формулой:
(6)
При Ф>0 система называется собирающей, при Ф<0 – рассеивающей
Фокусные расстояния связаны соотношением, вытекающим из соотношения Лагранжа-Гельмгольца
(7)
2.3.4 Увеличение системы.
Увеличение центрированной системы можно получить, используя формулу Лагранжа-Гельмгольца
, а также формулы, вытекающие из геометрических соотношений (рис.6)
Поперечное увеличение
(8)
или
(9)
Угловое увеличение
(10)
Продольное увеличение
(11)
Соотношения между
:
(12)
(13)
Контрольные вопросы.
1. Что называется главными плоскостями и главными точками?
2. Какие плоскости и точки называются главными фокальными плоскостями и точками?
3. Получите соотношения коллинеарных преобразований (3)
4. Выведите формулу Ньютона.
5. Выведите формулу оптической системы.
Задание на самостоятельную работу:
1. Разберите вывод соотношений между поперечным, угловым и продольным
увеличениями.
2. Самостоятельно рассмотрите варианты построения изображений в центрированных
оптических системах (рис.7)
Рекомендованная литература.
1. Сивухин Д.В. Общий курс физики Оптика: Учеб. Пособие. – М.: Наука, 1985-725с.
2. Ландсберг Г.С. оптика. – М.: Наука, 1976.
3. Савельев И.В. Курс общей физики. Т.2.М.: Наука, 1988-478с.; т.3 1988-205с.
4. Бутиков Е.И. Оптика.-М.: Высш.школа, 1986.-512с.
5. Калитиевский Н.И. Волновая оптика. – М.: Высш.школа, 1978,383с.
3 Интерферениция
3.1. Интерференция монохроматических волн. Когерентность.
3.1.1. Интерференция монохроматических волн.
Если в некоторую точку приходят две монохроматические волны, напряженности электрического поля которых
и
, то по принципу суперпозиции напряженность результирующего поля равна
(1)
где 
(2)
Среднее значение квадрата напряженности электрического поля
(3)
- интерференционный член
Если
, то
= 0, результирующая интенсивность равна сумме интенсивностей, интерференция отсутствует.
Будем считать, что оба вектора
и
в точке наблюдения совершают колебания вдоль одной прямой.
Амплитуда результирующего колебания определяется выражением
(4)
где
- разность фаз
Если разность фаз остается постоянной по времени, то волны называют когерентными.
Так как интенсивность волны I пропорциональна квадрату амплитуды, можно записать
(5)
где
- интерференционный член.
Возможны такие случаи:
а) Волны некогерентные, δ непрерывно изменяется,
. Интенсивность, наблюдаемая при наложении некогерентных волн, равна сумме интенсивностей, интерференция не наблюдается
(6)
В случае когерентных волн cos δ имеет постоянное по времени значение. В тех точках пространства, для которых cos δ > 0, I будет больше
, в точках для которых cos δ < 0, I будет меньше
.
Таким образом, при наложении когерентных световых волн происходит перераспределение светового потока в пространстве, в результате чего в одних местах возникают максимумы, а в других – минимумы интенсивности. Это явление называется интерференцией.
б) Максимумы интенсивности будут наблюдаться при условии
cos δ = 1
тогда
(7)
Если
, то 
в) Минимумы интенсивности будут наблюдаться при условии
cos δ = −1
(8)
Если
, то 
Условие максимума интенсивности для разности фаз
где m = 0,1,2... (9)
Условие минимума интенсивности для разности фаз
где m = 0,1,2... (10)
где
(11)
- оптическая разность хода.
Условие максимума и минимума для оптической разности хода:
Условие максимума:
(12)
Условие минимума:
(13)
где m = 0,1,2,3...
3.1.2. Интерференция от двух источников
а) Интерференция цилиндрических световых волн

Рис.1
Область, в которой волны от источников перекрываются, называется полем интерференции.
Оптическая разность хода
(14)
где n – показатель преломления среды между источником и экраном
Координаты максимумов и минимумов интенсивности
(m=0,1,2,…) (15)
(m=0,1,2,…) (16)
где
; λ0 – длина волны в вакууме.
Ширина интерференционной полосы (расстояние между минимумами интенсивности) и расстояние между двумя соседними максимумами интенсивности определяются формулой
(17)
Для одинаковых по интенсивности волн (
) результирующая интенсивность в точках, для которых разность фаз равна δ, определяется выражением:
(18)
3.1.3. Интерференция плоских волн.
Рассмотрим интерференцию двух плоских волн с волновыми векторами
и
, имеющими одинаковый модуль
и образующими угол
(рис 2).
Уравнение волн


Рис. 2
Результирующее колебание имеет вид
.
В точке, удовлетворяющей условию
(m=0,1,2,…) амплитуда колебаний равна 2А, в точках, где
амплитуда колебаний равна 0.
На экране Э, перпендикулярном оси y, где бы он не располагался, будет наблюдаться система чередующихся темных и светлых полос. Координата максимумов интенсивности
(19)
Ширина полос
(20)
где
.
3.1.4. Когерентность. Временная когерентность.
Когерентностью называется согласованное протекание нескольких колебательных или волновых процессов. Степень согласованности может быть различной.
Различают пространственную и временную когерентность.
Временная когерентность.
Всякая реальная световая волна образуется наложением колебаний всевозможных частот, заключенном в узком, но конечном интервале. Фаза волны, образованной наложением огромного числа пучков, порождаемых отдельными атомами, совершает случайные блуждания, а, следовательно, удаляется от первоначального значения.
Время, за которое случайное изменение фазы достигает значения π, называется временем когерентности – τког.
Расстояние, на которое перемещается волна за время когерентности – lког=c τког – называется длиной когерентности.
Длина когерентности – расстояние, на котором изменение фазы достигает значения π.
Для получения интерференционной картины путем деления естественной волны на две части необходимо, чтобы оптическая длина волны ∆ была меньше длины когерентности. Это требование ограничивает видимое число полос.
Для реальной волны, которая содержит колебание всех частот, заключенных в интервале ∆ν, можно показать, что время когерентности определяется соотношением
(21)
или, выражая через длину волны (
)
(22)
а для длины когерентности, пологая lког=c τког получим
(23)
Из условия максимума
, полагая, когда разность хода достигнет значения порядка длины когерентности, полосы становятся неразличимыми, получим предельный наблюдаемый порядок интерференции
(24)
Временная когерентность связана разбросом значений ω (∆ω,∆ν) и, следовательно, с разбросом модуля волнового вектора
.
Пространственная когерентность.
Пространственная когерентность связана с разбросом направлений вектора
. Это возможно при протяженном источнике света. Отдельные участки источника света возбуждают волны, фазы которых не связаны между собой. Интерференционная картина будет наложением картин, создаваемых каждым из участков в отдельности.
Условие, определяющее угловые размеры источника, при которых будет наблюдаться интерференция, имеет вид
(25)
d – расстояние между щелями.
А расстояние между щелями, при котором можно еще наблюдать интерференцию от источника с угловым размером φ
(26)
Поверхность, которая была бы волновой при условии монохроматичности источника, назовем псевдоволновой. Расстояние вдоль псевдоволновой поверхности, при смещении на которое изменение фазы достигает π, называется длиной пространственной когерентности или радиусом когерентности:
(27)
Объем части пространства, в котором волна приблизительно сохранит когерентность, называется объемом когерентности
(28)
Допустимые размеры источника могут быть определены из условия
(29)
Контрольные вопросы.
1. В каком случае при наложении двух пучков света одинаковой частоты всегда, т.е. при любых фазовых соотношениях, происходит простое сложение интенсивностей?
2. По какому закону изменяется освещенность экрана, где наблюдается интерференция двух плоских монохроматических волн одинаковой интенсивности? разной интенсивности?
3. Какую форму имеют интерференционные полосы при падении на экран монохроматических волн от двух точечных когерентных источников.
4. Чем определяется временная когерентность?
5. Как определяется длина когерентности?
Задание на самостоятельную работу.
Разберите самостоятельно способы определения степени когерентности излучения.
Рекомендованная литература.
1. Сивухин Д.В. Общий курс физики Оптика: Учеб. Пособие. – М.:Наука, 1985 – 725 с.
2. Ландсберг Г.С. Оптика. – М.: Наука, 1976.
3. Савельев И.В. Курс общей физики. Т.2. М.: Наука, 1988 – 478 с.; Т.3. 1988 – 205 с.
4. Бутиков Е.И. Оптика. – М.: Высш. школа., 1986. – 512 с.
5. Калитиевский Н.И. Волновая оптика. – М.:Высш. школа, 1978, 383 с.
3.2. Способы наблюдения интерференции
3.2.1. Интерференционные опыты по методу деления волнового фронта.
Существующие экспериментальные методы получения когерентных пучков из одного светового пучка можно разделить на два класса. В методе деления волнового фронта пучок пропускается, например, через два близко расположенных отверстия в непрозрачном экране. Впервые этот опыт был осуществлен Томасом Юнгом. Рассмотрим две конкретные интерференционные схемы, одна из которых использует для разделения световой волны на две части отражения, а другая преломления света.
Зеркала Френеля.

Рис.1
Основные соотношения:
Расстояния от источников до экрана
l=r+b (1)
Расстояние между источниками
(2)
Ширина интерференционной полосы.
(3)
Протяженность области перекрытия
(4)
Общее число полос
(5)
Для четкого наблюдения полос необходимо, чтобы

Бипризма Френеля

Рис.2
S-светящаяся щель
Угол отклонения лучей
(6)
Основные соотношения:
Расстояние от источников до экрана:
l=a+b
Расстояние между источниками
(7)
Ширина интерференционной полосы
(8)
Область перекрытия волн
имеет протяженность
(9)
Максимальное число наблюдаемых полос
(10)
3.2.2. Интерференционные опыты по методу деления амплитуды
В этом методе пучок делится на одной или нескольких частично отражающих, частично пропускающих поверхностях. Этот метод деления амплитуды может применяться и при протяженных источниках.
Интерференция света при отражении от тонких пластинок.

Рис.3
Разность хода, приобретаемая лучами 1и 2 после того, как они сойдутся в точке С, равна
(11)
Используя закон преломления и геометрические соотношения легко получить для оптической разности хода
(12)
Где
учитывает дополнительную разность фаз, равную
, возникающую при отражении от оптически более плотной среды.
Интерференционные полосы равного наклона.
Интерференционные полосы равного наклона наблюдаются при отражении параллельных пучков от плоскопараллельной пластины. Для наблюдения интерференции должны соблюдаться условия как временной, так и пространственной когерентности.
ля соблюдения временной когерентности разность хода не должна превышать длину когерентности, т.е.
(13)
Или
(14)
Или
(15)
Для
Å;
Å получаем bпред=0,06мм
Из условия соблюдения пространственной когерентности следует, что расстояние между лучами не должно превышать радиуса когерентности.
(16)
Полосы равного наклона локализованы в бесконечности, для их наблюдения экран должен располагаться в фокальной плоскости линзы и для их наблюдения требуется широкий источник света. Каждая полоса будет образована лучами, падающими на пластинку под одинаковыми углами, поэтому они и называются полосами равного наклона.
Интерференционные полосы равной толщины.
При интерференции на пластинках переменной толщины возникают полосы в результате отражения от участков с одинаковой толщиной, вследствие чего их называют полосами равной толщины
Полосы равной толщины наблюдаются при освещении пластинки непостоянной толщины (b изменяется) параллельным пучком света (
).Локализованы полосы равной толщины вблизи пластинки.

Рис.4
3.2.3 Кольца Ньютона.
Классическим примером полос равной толщины являются кольца Ньютона. Они наблюдаются при отражении света от соприкасающихся друг с другом плоскопараллельной толстой стеклянной пластинки и плосковыпуклой линзы с большим радиусом кривизны (рис.5)

Рис.5
Оптическая разность хода при наблюдении в отраженном свете определяется формулой:
(17)
Используя условие максимума и минимума интерференции, можно получить следующее:
Радиусы светлых колец в отраженном свете
(m=1,2,3…) (18)
Радиусы темных колец
(m=0,1,2…) (19)
Интерференцию можно наблюдать в проходящем свете, при этом не наблюдается потеря полуволны, и максимумам интерференции в отраженном свете соответствуют минимумам в проходящем и наоборот.
Контрольные вопросы.
1.Почему для наблюдения интерференции света от обычных источников
интерферирующие пучки должны происходить от одного и того же источника?
2.Почему в интерференционных опытах по методу деления амплитуды с помощью
тонкой прозрачной пластинки используют обычно отраженный свет, а не
прошедший?
3.Почему при наблюдении полос равного наклона можно использовать протяженный
источник света? Где локализованы полосы равного наклона?
4.Почему для колец Ньютона, получающихся между соприкасающимися
поверхностями линзы и стеклянной пластинки, при наблюдении в отраженном свете
центр темный?
5.Какой вид имеют интерференционные полосы равной толщины в воздушном клине
между плоскими поверхностями стеклянных пластинок?
Задание на самостоятельную работу:
Рассмотреть самостоятельно методы наблюдения интерференции - билинза Бийе,
зеркало Ллойда, опыт Меслина, опыт Поля и другие.
Рекомендованная литература.
1. Сивухин Д.В. Общий курс физики Оптика: Учеб. Пособие. – М. Наука, 1985-725с.
2. Ландсберг Г.С. оптика. – М.: Наука, 1976.
3. Савельев И.В. Курс общей физики. Т.2.М.: Наука, 1988-478с.; т.3 1988-205с.
4. Бутиков Е.И. Оптика.-М.: Высш.школа, 1986.-512с.
5. Калитиевский Н.И. Волновая оптика. – М.: Высш.школа, 1978,383с.
3.3.Многолучевая интерференция. Интерференция
3.3.1. Интерференция N лучей с одинаковой интенсивностью.
Пусть в данную точку экрана приходит N лучей одинаковой интенсивности, причем фаза каждого следующего сдвинута на.
:
(1)
Результирующее колебание описывается формулой:
(2)
Полученное выражение представляет собой сумму N членов геометрической прогрессии с первым членом равным единице, и знаменателем 
Следовательно:
(3)
где
(4)
есть комплексная амплитуда
Квадрат амплитуды определяется выражением:

(5)
Интенсивность, возникающая при интерференции N рассматриваемых лучей, пропорциональна квадрату амплитуды и определяется выражением
(6)
К-коэффициент пропорциональности,
-интенсивность, создаваемая каждым из лучей в отдельности
При значениях
(m=0, ±1, ±2,….) (7)
выражение (6) становится неопределенным. Применяя дважды правило Лопиталя для раскрытия неопределенности, получим при
(или разностях хода
) результирующую интенсивность
(8)
Места, в которых наблюдается интенсивность, определяемая формулой (8), называются главными максимумами, число m- порядок главного максимума.
В промежутках между двумя главными максимумами располагается N-1 минимум интенсивности, определяемых равенством (рис.1)
(
=1,2,…N-1) (9)
В промежутках между N-1 минимумами располагаются N-2 максимумов.

Рис.1
3.3.2 .Интерференция N лучей с убывающей интенсивностью.
Рассмотрим интерференцию N лучей, интенсивность которых убывает в геометрической прогрессии. Складываемые колебания имеют вид:
(10)
- постоянная величина, меньшая единицы.
Результирующее колебание описывается формулой.
(11)
Воспользовавшись выражением для суммы членов геометрической прогрессии получим:
(12)
где комплексная амплитуда равна
(13)
Для очень больших N
(14)
И для интенсивности
~
получим
(15)
где
-интенсивность первого (наиболее интенсивного) луча.
При значениях
(m=0,±1, ±2,….) (16)
Выражение (15) имеет максимумы, равные
(17)
В промежутках между максимумами функция изменяется монотонно, достигая в середине промежутка значения, равного
(18)
Таким образом, отношение
(19)
оказывается тем больше, чем ближе
к единице. Интерференционная картина (рис. 2) имеет вид узких линий на практически темном фоне, вторичные максимумы отсутствуют

Рис.2
3.3.3. Двухлучевые интерферометры.
Интерферометрами называют оптические приборы, действие которых основано на явлении интерференции света. Они предназначены для точных измерений длин, углов, характеристик оптических поверхностей, показателей преломления сред или их изменений, спектрального состава , исследуемого излучения и т.п. Наблюдение интерференционных полос при этом становится средством проведения измерений.
Приведем некоторые схемы интерферометров.
Интерферометр Рэлея

Рис. 3
- кюветы, содержащие исследуемые жидкости или газа.
Добавочная разность хода

Измеряя смещение полос, обусловленное добавочной разностью хода, можно определить разность 
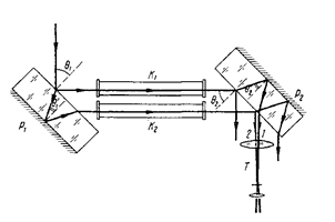
Интерферометр Жамена.

Рис.4
Оптическая разность хода для лучей 1 и 2, образующих интерференционную картину в фокальной плоскости зрительной трубы Т, определяется формулой:

где h- толщина пластин, n- показатель преломления их материала.
-соответственно углы падения и преломления для пластин
. Для наблюдения интерференции одну из пластин слегка наклоняют, чтобы
- не был равен нулю. Наблюдаемые интерференционные поля горизонтальны и эквидистантны и соответствуют низким порядком, потому могут наблюдаться в белом свете.
Интерферометр Рождественского.

Рис.5
Роль делителей пучков играют полу отражающие плоско параллельные пластины A1 и B1, A2 и B2 -зеркала. Эта схема позволяет значительно раздвинуть пучки света и ввести кюветы K1 и K2, одна из которых окружена печью (для исследования паров металла). Наблюдаются горизонтальные полосы равного наклона, соответствующие (при отсутствии кювета низким порядкам интерференции)
3.3.4. Многолучевые интерферометры.
В многолучевых интерферометрах используется интерференция при мн6огократных отражениях света от двух параллельных поверхностей (метод деления амплитуды). На этом принципе действует интерферометр Фабри- Перо, широко используемый в спектроскопии высокого разрешения и в метрологии (рис.6)

Рис.6
Этот прибор состоит из двух стеклянных или кварцевых пластинок, разделенным воздушных промежутком. Внешние поверхности пластинок делаются слегка скошенными. Параллельность внутренних рабочих поверхностей достигается тем, что между пластинами устанавливается кольцо из инвара или кварца. Пластинки прижимаются к кольцу пружинами. Для интенсивностей, вышедших из прибора лучей, имеет место соотношение:

а для амплитуд колебания

Колебания в каждом луче отстает на одну и ту же фазу
, определяемой оптической разностью хода
, где
- угол падения лучей на отражающие слои (рис. 7).

Рис. 7
Интенсивность в точке P определяется формулой (15), в которой
имеет смысл коэффициента отражения, а

При пропускании сквозь прибор расходящегося пучка света в фокальной плоскости линзы возникают полосы равного наклона, имеющие вид резких колец.
Контрольные вопросы.
1.Чем отличаются полосы равного наклона в двухлучевой и многолучевой
интерференционных картинах?
2.Каким условием определяется положение максимумов и форма полос в
наблюдаемой с интерферометром Фабри-Перо интерференционной картине в
проходящем свете?
3.Как определяется интенсивность максимума при интерференции от N источников с
постоянной амплитудой?
4.Каким условием определяется положение вторичных максимумов в многолучевой
интерференции.
Задание на самостоятельную работу.
Рассмотрите самостоятельно применение явления интерференции в науке и технике.
Рекомендованная литература.
1. Сивухин Д.В. Общий курс физики Оптика: Учеб. Пособие. – М.: Наука, 1985-725с.
2. Ландсберг Г.С. оптика. – М.: Наука, 1976.
3. Савельев И.В. Курс общей физики. Т.2.М.: Наука, 1988-478с.; т.3 1988-205с.
4. Бутиков Е.И. Оптика.-М.: Высш.школа, 1986.-512с.
5. Калитиевский Н.И. Волновая оптика. – М.: Высш.школа, 1978,383с.
4. Дифракция.
4.1. Принцип Гюйгенса Френеля. Метод зон Френеля. Дифракция Френеля.
4.1.1. Введение.
Дифракцией называется совокупность явлений, наблюдаемых при распространении света в среде с резкими неоднородностями и связанных с отклонениями от законов геометрической оптики. Например, огибание световыми волнами препятствий, попадание света в область геометрической тени.
Между интерференцией и дифракцией нет существенного физического различия. Оба явления заключаются в перераспределении светового потока в результате суперпозиции волн.
Перераспределение интенсивности, возникающее в результате суперпозиции волн, возбуждаемых конечным числом дискретных когерентных источников (две щели) принято называть интерференцией.
Перераспределение интенсивности, возникающее вследствие суперпозиции волн, возбужденных когерентными источниками, расположенными непрерывно, принято называть дифракцией (дифракция на щели).
Различают два вида дифракции-дифракция в параллельных лучах - дифракция Фраунгофера и дифракция в непараллельных лучах -дифракция Френеля.
Принцип Гюйгенса – Френеля
Френель дополнил принцип Гюйгенса представлением об интерференции вторичных волн. Учет амплитуд и фаз вторичных волн позволяет найти амплитуду результирующей волны в любой точке пространства.
Согласно принципу Гюйгенса-Френеля каждый элемент волновой поверхности S (рис.1) служит источником вторичной сферической волны, амплитуда которой пропорциональна величине элемента dS, а амплитуда сферической волны с расстоянием r от источника убывает по закону
. От каждого участка dS волновой поверхности в точку P, лежащую перед этой поверхностью, приходит колебание dE
(1)

Рис. 1
В этом выражении (
)-фаза колебания в месте расположения волновой поверхности S,
-волновое число, r-расстояние от элемента поверхности dS до точки P. Множитель αо определяется амплитудой колебания в том месте, где находится dS. Коэффициент K зависит от угла
между нормалью
к площадке dS и направлением от dS к точке Р. При
=0 K максимален, при
он обращается в нуль.
Результирующее колебание в точке P представляет собой суперпозицию колебаний (1), взятых по всей волновой поверхности S
(2)
Эта формула является аналитическим выражением принципа Гюйгенса-Френеля.
Френель вложил в принцип Гюйгенса физический смысл, заполнив его идеей интерференции вторичных волн, огибающая элементарных волн – это поверхность, где благодаря интерференции вторичных волн результирующая волна имеет заметную интенсивность.
4.1.2. Метод зон Френеля.
Выразим амплитуду колебания, создаваемого в точке Р (рис. 2) одним произвольным элементом dS соотношением
(3)

Рис. 2
Здесь отброшена временная зависимость и учтено, что источник испускает сферическую волну, амплитуда которой
.
Суммарное возмущение в точке Р определяется равенством

(4)
Для того, чтобы провести интегрирование разобьем поверхность S на кольцевые зоны Френеля (рис.3)

Рис.3
Построение выполняется так, что расстояние от краев каждой зоны до точки P отличаются на
. В этом случае в точку Р волны от любых соседних зон придут в противофазе.

Рис.4
Легко показать, что площади всех зон одинаковы. Из рисунка 4 можно найти:
Высота сферического сегмента при не слишком больших m
(5)
Площадь сферического сегмента 
(6)
Площадь m-й зоны 
(7)
Радиус m-й зоны
(8)
Элемент площади 
В пределах одной кольцевой зоны K(
) считаем постоянным. Тогда возмущение, создаваемое m-й зоной в точке Р, после интегрирования по азимутальному углу 
(9)
Интегрируя по r и выполняя элементарные преобразования, получим
(10)
После сложения напряженностей поля всех зон получим
(11)
Следовательно, определение интегрального действия всех зон Френеля сведется к суммированию знакопеременного ряда вида
(12)
Сгруппируем члены этого ряда следующим образом

И для амплитуды колебания, возбуждаемого в точке Р зонами Френеля, получим
(13)
Приближенно имеем
(14)
Тогда в зависимости от четности m получим напряженность поля в точке Р
(15)
Где знак «+» для четных
, «-»-для нечетных.