НЦПВ-4/400
Насос ПЦНВ-4/400 предназначен для тушения пожаров водой или пеной, забирая воду только из цистерны или от гидранта. Насос четырехступенчатый со встречно расположенными колесами третьей и четвертой ступени по отношению к первым двум колесам (рис.3.37).

Рис.3.37. Компоновка рабочих колес ПЦНВ-4/400.
Рабочие колеса насоса выполнены с полуоткрытыми цилиндрическими лопатками без переднего покрывающего диска. Рабочие колеса разделены направляющими аппаратами.
К выходному патрубку насоса крепится напорный коллектор. Внутри его расположен обратный (падающий) клапан, как в ранее описанных насосах. На коллекторе установлены два вентиля тарельчатого типа, пеносмеситель и перепускной клапан. Для слива воды из коллектора предусмотрены два шаровых крана. Такой же кран установлен для слива воды из коллектора.
Пеносмеситель по конструкции аналогичен ПС-5. Однако его дозатор рассчитан на подачу пенообразователя для работы 1 или 2 стволов с 3 или 6 % его концентрации. Уровень дозирования пенообразователя при работе с одним стволом-распылителем СРВД 2/300 3±0,6 и 6±1,2%.
На приборной панели насоса установлены: два манометра, счетчик времени наработки и показывающий прибор тахометра.
Счетчик времени наработки включается автоматически одновременно с началом вращения вала насоса. Он показывает время в часах, отработанное насосом с начала эксплуатации. Автоматическое включение и выключение счетчика осуществляет блок управления счетчиком. Информация о вращении вала насоса поступает в него от первичного преобразователя тахометра. На блоке управления имеются клеммы для подключения насоса к источнику электроэнергии пожарного автомобиля напряжением 12 В постоянного тока.
Перепускной клапан (ПК) обеспечивает частичный переток воды из насоса в цистерну при закрытых вентилях или выключенных стволах в цистерну, предотвращая перегрев насоса. Он также управляет работой отсечного клапана, перекрывающего поступление пенообразователя в насос.
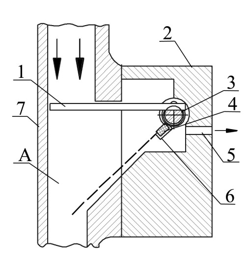
Схема ПК показана на рис. 3.38 для случая, когда стволы отключены, насос работает и из коллектора 7 нет поступления воды в рукавные линии.

Рис. 3.38. Клапан перепускной: 1 – пластина; 2 – корпус клапана; 3 – ось; 4 - клапан; 5 – калиброванное отверстие; 6 – рычаг клапана; 7 – коллектор.
На оси 3 установлена пластина 1, которая силой возвратной пружины удерживает ее в положении, указанном на рисунке. На этой же оси размещен и рычаг 6 с клапаном 4, удерживаемый нажимной пружиной (пружины на рисунке не показаны). В представленном положении вода в небольшом количестве из полости А коллектора 7 будет поступать через отверстие 5 к отсекающему клапану, а затем от него – в цистерну пожарного автомобиля. При включении стволов в работу поток воды в коллекторе 7 (обозначен стрелками) преодолеет силу возвратной пружины пластины 1 и она займет положение, указанное прерывистой линией. При этом рычаг 6 тоже повернется и клапан 4 перекроет отверстие 5. Перетекание воды прекратится.
Наличие перепускного клапана позволяет осуществлять подачу воды на любых режимах (в том числе, при нулевой подаче).
Отсекающий клапан (ОК) (рис. 3.39) выполняет несколько функций: регулирует количество воды, перетекающее из ПК, автоматически перекрывает поступление пенообразователя из пенобака в насос в случае отключения подачи стволами и, наконец, используется для промывки системы подачи пенообразователя.

Рис.3.39. Отсекающий клапан: 1 – корпус; 2 – обратный клапан; 3 – клапан; 4 – штуцер; 5 – шток; 6 – сильфон; 7 – штуцер для подвода воды от перепускного клапана; 8 – втулка; 9 – штуцер для слива воды; 10 – штуцер для подвода воды в цистерну; 11 – штуцер для подвода пенообразователя к пеносмесителю.
Из перепускного клапана вода поступает через штуцер 7 в полость А и из нее в полость сильфона 6. В зависимости от количества поступающей воды сильфон, деформируясь, будет перемещать шток 5 вверх. При этом изменяется проходное сечение в горизонтальном отверстии клапана 3, чем и регулируется перетекание воды в цистерну пожарного автомобиля.
При тушении пожара пеной в случае отключения пенных стволов клапаном 3 будет перекрыто поступление пенообразователя через штуцер 11, полости Г и В будут разобщены и поступление пенообразователя к пеносмесителю прекратится. При возобновлении работы стволов поступление воды из ПК прекратится. Сильфон, занимая исходное положение, вытолкнет воду через полость А и Б и штуцер 10 в цистерну.
Слив воды из системы ПК и ОК осуществляется через кран, установленный на штуцере 9 для слива воды.
Промывка системы подачи пенообразователя осуществляется водой, подаваемой к штуцеру 4. Вода поступает в полость В отсекающего клапана и через штуцер 11 в пеносмеситель.
Параметры технической характеристики насоса представлены в табл.3.6.
Таблица 3.6
| № п/п | Наименование показателей | Размер-ность | Значения показателей |
| Номинальная частота вращения вала насоса Подача Напор в номинальном режиме Потребляемая мощность Коэффициент полезного действия Максимальный напор на входе в насос | об/мин л/с м кВт - МПа | 0,4 0,69 |
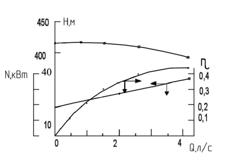
Техническая характеристика насоса при номинальной частоте вращения вала насоса представлена на рис.3.40.
Рис.3.40. Характеристика ПЦНВ-4/400: 1 – напор, м; 2 – мощность, кВт;
3 – кпд, %.
Насос обеспечивает подачу воды из цистерны пожарного автомобиля или водоисточника с подпором (до 6 кГс/см2) на один или два высоконапорных ствола-распылителя.
Использование насоса со стволами-распылителями высокого давления позволяет тушить пожары мелкораспыленными струями воды.
Работа насоса позволяет уменьшать расход воды за счет повышения огнегасящих свойств распыленной воды, эффективно осаждать дым и охлаждать воздух в замкнутых объемах, защищать ствольщика водяной завесой.
Использование насоса позволяет тушить пожары в зданиях повышенной этажности.
Техническое обслуживание насоса.Содержание работ по техническому обслуживанию и методы проведения представлены в табл.3.7.
Таблица 3.7
| Содержание работ | Технические требования (методика проведения) |
| 1. Ежедневное техническое обслуживание | |
| 1.1. Внешний осмотр насоса. | Проверка насоса на предмет внешних повреждений, потеков масла, чистоты наружных поверхностей, крепления насоса и его коммуникаций; наличие и исправности контрольно-измерительных приборов. |
| 1.2. Проверка работоспособности кранов. | Открыть полностью и вновь закрыть все краны. Поворот рукояток кранов должен быть плавным, без заеданий. |
| 1.3. Проверка уровня масла в корпусе задней опоры вала насоса. | Уровень масла должен быть между двумя рисунками маслоуказателя. |
| 2. Первое техническое обслуживание (ТО-1) | |
| 2.1. (включает работы ежедневного технического обслуживания). | |
| 2.2. Замена масла в корпусе задней щарикоподшипниковой опоры вала насоса. | Слить отработанное масло через маслоуказательную трубку и залить новое масло до уровня верхней риски маслоуказателя. Допускается использовать любое моторное масло, применяемое для пожарного автомобиля. |
| 2.3. Проверка уровня дозирования пенообразователя и очистка пеномагистрали насоса (при необходимости) | Проверка уровня дозирования пенообразователя производится путем измерения расхода подсасываемого пенообразователя, при помощи мерного бака и секундомера. |
При обслуживании пожарных насосов серии НЦП (новое поколение) рекомендуется использовать смазочные материалы, перечень которых приводится в табл.3.8.
Таблица 3.8
| Наименование смазываемого механизма (узла) | Наименование смазочных материалов | Способ и порядок нанесения смазочных материалов | Периодичность смазки |
| Масляная ванна картера ступени нормального давления. | Масло трансмиссионное ТАД-17И или ТАД-15П ГОСТ 23652-79*. | Заливка через отверстие в корпусе, закрытое щупом, до уровня верхней риски щупа. | При ТО-2 или по мере расхода. |
| Вакуумный насос. | Масло моторное всесезонное ГОСТ 10541*. | Заливка в масляный бачок (до нижней кромки заливочной горловины бачка). | По мере расхода. |
| Редуктор привода заслонки дозатора и опоры скольжения. | Смазка ЛИТОЛ-24 ГОСТ 21150-87. | Смазка зубчатых колес дозатора и опор скольжения. | При переборке насоса во время текущего ремонта. |
* - допускается использовать трансмиссионные и моторные масла тех марок, которые применяются в пожарном автомобиле.
Пожарные насосы нового поколения на основании их эксплуатации непрерывно совершенствуются. Поэтому конструкции некоторых их элементов, описанные в учебнике, могут не соответствовать конструкциям НЦП, используемых в пожарных частях.
К о н т р о л ь н ы е в о п р о с ы
1. Главная характеристика центробежного насоса. Напор насоса, его определение.
2. Достоинства и недостатки центробежных насосов. Требования, предъявляемые к ним.
3. Общее устройство пожарного насоса ПН-40УВ. Основные части. Система.
4. Общая принципиальная схема коммуникации насоса ПН-40УВ.
5. Вакуумная система ПН-40УВ. Проверка ее работоспособности.
6. В чем заключаются основные отличия насосов ПП от ПЦН.
7. Принцип работы вакуумной системы водозаполнения ПЦНК-40/100-4/400.
8. Изложите особенности регулирования подачи пенообразователя в насосе ПЦНК-40/100-4/400.
9. Показатели рабочих характеристик ПЦНВ-4/400. Его особенности.
10. Особенности проверки вакуумной системы ПЦНК-4/100-4/400.