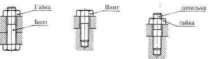
Основные типы крепежных деталей
Для соединения деталей применяют болты с гайками, винты, шпильки с гайками.
![]() |
Рисунок 3
Для неподвижных крепежных соединений обычно применяют метрические резьбы с крупным или мелким шагом, которые обеспечивают высокую прочность и самоторможение резьбовых пар. При вибрациях, переменных нагрузках для повышения надежности резьбовых соединений применяют стопорение соединения. На практике используются следующие три принципа стопорения резьбовых соединений:
- повышением трения в соединении путем постановки контргайки или пружинной шайбы;
- жестким соединением гайки со стержнем винта с помощью шплинта;
- жестким соединением гайки с деталью с помощью специальной шайбы или планки.
