Обработка результатов
1. Рассчитывают плотность воздуха при температуре tв и давлении Рв :
|
Здесь Р0 = 760 мм рт. ст., Т0 = 273 К .
2. Выражают показания манометра и дифманометра в Паскалях и определяют скорость воздуха υm на оси воздуховода:
|
υm 
3. Среднюю скорость турбулентного потока воздуха в поперечном сечении канала вычисляют по приближенному соотношению:
|
υcp =0.85 υm
|

5. Скорость воздуха υв на входе во всасывающий патрубок вентилятора принимают равной нулю, а давление РВ - равным барометрическому давлению Рб. В этом случае разность статических давлений в патрубках вентилятора Р2 -Р1 примерно равна избыточному давлению в воздуховоде Рм , измеряемому манометром, и приводится к следующему виду:
(3.13)
6. По (3.13) вычисляют давление вентилятора. По показаниям ваттметра (см. табл. 3.1) определяют мощность NН , потребляемую двигателем вентилятора.
|

8. Результаты расчетов на всех режимах заносят в табл. 3.2 и строят графические зависимости PH , NH и ηН от подачи вентилятора VH.

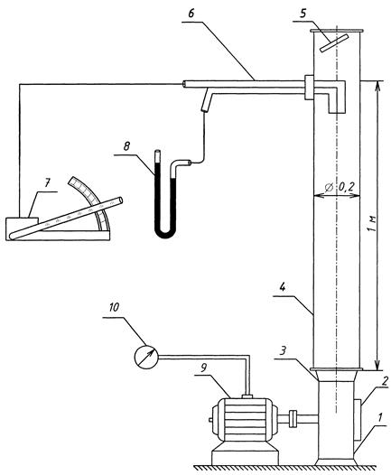
Рис. 3.3. Схема установки для определения характеристик центробежного вентилятора
Таблица 3.2
| № опыта | ||||||
| Величина | ||||||
| Скорость воздуха υ, м/с | ||||||
| Давление вентилятора Рн, Па | ||||||
| Потребляемая мощность Nн, Вт | ||||||
| КПД вентилятора ηн |
Контрольные вопросы
1. Уравнение Бернулли, его физический и энергетический смыслы.
2. Устройство и принцип действия центробежного вентилятора.
3. Назовите аппараты для перемещения больших количеств газа.
4. Приведите сравнительную характеристику осевого и центробежного вентиляторов.
5. Разность каких давлений показывает дифманометр, присоединенный к трубке Пито?
6. Чем общее давление отличается от статического?
7. Способы определения и расчета расхода жидкости.
8. Устройства для определения скорости и расхода жидкости в трубопроводе, принцип их действия.
9. Характеристики работы центробежного вентилятора, работа центробежных вентиляторов на сеть.