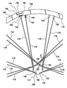
Paired Spoke Wheel (колесо с парными спицами)

Существует и такой тип спицевого набора, как на рисунке:

Калькулятор от Rinard (Страница Rinarda) вычисляет длину таких спиц используя понятие эквивалентного количества крестов, которое м.б. дробным.