Элегазовый выключатель серии LF фирмы Merlin Gerin на напряжение 6, 10 кВ

 

Выключатели серии LF производства Merlin Gerin -трехфазные выключатели внутренней установки, в качестве изолирующей и дугогасящей среды которых использован элегаз. Выключатели серии LF предназначены для ком­мутации номинальных токов и отключения токов КЗ в распределительных элек­трических сетях и системах электроснабжения 6, 10 кВ. Оборудование соответствует нормам МЭК-56 и ГОСТ 687.

В качестве изолирующей и дугогасящей среды в выключателях серии LF использован элегаз - шестифтористая сера (SF6), обладающая высокими изоляционными и дугогасящими характеристиками. Три фазы выключателя расположены в едином корпусе, нечувствительном к условиям окружающей среды и заполненном элегазом при низком избыточном давлении (0,15 МПа или 1,5 атм.). Каждый выключатель имеет мембрану безопасности, действие которой защищает оператора при повышении давления внутри полюса. Применяемый принцип дугогашения, основанный на технике вращения дуги и эффекте температурного расширения элегаза, обеспечивает надежное гашение дуги при отключении номинальных токов, в том числе емкостных и индуктивных, больших токов КЗ, а также низкий уровень коммутационных перенапряжений. Кроме того, безопасность и надежность эксплуатации электроустановки гарантированы возможностью отключения номинальных токов при номинальном напряжении даже при нарушениях герметичности камеры выключателя и нулевом избыточном давлении.

Механический пружинный привод, действие которого основано на аккумули­ровании энергии, необходимой для отключения и последующего включения выключателя, является важнейшим элементом, обеспечивающим надежность выключателя.

Выключатели серии LF прошли специальные испытания на механическую и электрическую прочность в соответ­ствии с требованиями норм МЭК. Испытания подтвердили высокую надежность и долговечность выключателей - не менее 10 000 циклов ВО при номинальном токе и 40 отключений номинальных токов КЗ (25 кА).

Базовая модель выключателя состоит из следующих элементов: корпуса выключателя, в котором расположены все три полюса, представляющего собой «сосуд под давлением», заполненный элегазом под низким избыточным давлением (0,15 МПа или 1,5 атм.); механического привода типа RI; передней панели привода с рукояткой для ручного взвода пружин и индикаторами состояния пружины и выключателя; высоковольтных силовых контактных площадок; многоштырьевого разъема для подключения цепей вторичной коммутации. Дополнительно выключатели LF могут оснащаться: шасси для стационарной установки с фиксирующими устройствами; механизмом для блокировки выключателя в положении «отключено» с помощью замка, установленного на панели управления; клеммами для подключения датчика давления, установленными на крышке корпуса.

В выключателе LF применены принцип вращения дуги в элегазовой среде и метод автокомпрессии. Это обеспечивает сокращение мощности привода выключателя, снижение износа дугогасительных контактов и, таким образом, повышает механический и электрический ресурсы.

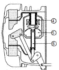
Основные этапы гашения дуги представлены на рис. 3.1.

На рис. 3.1, а показан выключатель во включенном положении. Основные контакты разомкнуты (рис. 3.1, б). При размыкании основных контактов 1 ток проходит через дугогасительные контакты 2. Процесс гашения дуги представлен на рис. 3.1, в. При расхождении дугогасительных контактов в дугогасительной камере про­исходит загорание дуги. Воздействие магнитного поля, создаваемого катуш­кой 3, вызывает закручивание дуги и ее охлаждение. Избыточное давление в расширительном объеме 4, обусловленное повышением температуры, вызывает охлаждение дуги потоком элегаза, направленным из зоны с высоким давлением в зону с более низким давлением, что приводит к удлинению дуги и ее затягиванию в полость цилиндрического дугогасительного контакта 5. При прохождении тока через нуль дуга гарантированно гаснет. Выключатель выключен (рис. 3.1, г).

 

а) б)
в) г)

 

 

Рис. 3.1. Принцип гашения дуги в элегазовом выключателе LF3

 

Выключатели серии LF приводятся в действие приводом RI, который обеспечивает независимость скорости включения и отключения от оператора. Сочетание привода RI и стандартного мотора-редуктора обеспечивает возможность дистанционного управления и осуществления цикла АПВ.

Электропривод RI включает в себя: энергонакапливающий механизм пружинного типа, обеспечивающий запас энергии, необходимой для включения и последующего отключения выключателя; рычаг ручного взвода привода; устройство автоматического взвода пружин с электродвигателем, осуществляющим взвод привода сразу же после включения аппарата (в течение не более 15 с); механическое устройство включения и отключения с помощью двух кнопок, расположенных на передней панели; электрическое устройство включения, которое состоит из катушки включения с блокировкой от многократных включений; электрическое устройство отключения, имеющее одну или несколько катушек отключения; счетчик циклов В-О; контакт сигнализации о взводе привода; контакт сигнализации об окончании взвода привода; индикатор состояния «отключено/включено»; многоконтактный разъем для подключения вторичных цепей сигнализации и управления; механический указатель состояния пружины и блок из 14 вспомогательных контактов.