Воздушные автоматические выключатели и УЗО

 

Автоматический выключатель (рис. 3.16) предназначен для коммутации цепей при аварийных режимах, а также нечастых (от 6 до 30 в сутки) оперативных включений и отключений электрических цепей (ГОСТ 9098-78Е).

Автоматические выключатели обычно выполняют функции защитных аппаратов при коротких замыканиях или перегрузках (автоматические выключатели максимального тока), снижении или исчезновении напряжения (автоматические выключатели минимального напряжения), изменении направления передачи мощности или тока (автоматические выключателя обратного тока или обратной мощности). Независимо от выполняемых функции автоматические выключатели подразделяются по собственному времени срабатывания tс.в (времени с момента подачи команды до начала размыкания контактов) на нормальные tc.в=0,02—0,1 с), селективные (tc.в регулируется до 1с) и быстродействующие, обладающие токоограничивающим эффектом (tс.в не более 0,05 с).

Собственное время срабатывания зависит от конструкции механизма размыкания автоматического выключателя, силы отключающих пружин, массы подвижной системы и пути перемещения этой массы до момента начала размыкания контактов.

В отдельную группу выделяют автоматы гашения поля генераторов (АГП).

Автоматические выключатели изготовляют на номинальные токи до 6000 А, а отдельные серии до 20000¾30000 А и на номинальные напряжения до 660 В переменного тока. Быстродействующие автоматические выключатели изготовляют на номинальное напряжение до 3300 В постоянного тока. Отключающая способность автоматических выключателей достигает 200¾300 кА.

Автоматические выключатели изготовляют с ручным и двигательным приводом, в стационарном или выдвижном исполнении.

Привод автоматического выключателя служит для включения и автоматического отключения, может быть ручным непосредственного действия и дистанционным (электромагнитным, пневматическим и др.).

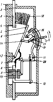
Рис. 3.16. Схематический разрез автоматического выключателя серии A3100: 1 — основание; 2 — крышка; 3 — шина; 4 — неподвижный контакт; 5 — подвижного контакт; 6 — медная пластина; 7 — гибкие проводники; 8 — шины; 9—11 — токовые расцепители максимального действия; 12 — токовые расцепители теплового действия; 13 — изолированный валик или изоляционная траверса; 14—16 — рычаги механизма свободного расцепления; 17 — рукоятка; 18 — камера с дугогасительной решеткой; 19 — отключающая пружина; 20 — защелка
Автоматические выключатели выполняются одно-, двух-, трехполюсными. Контактная система может быть трехступенчатой (с главными, промежуточными и дугогасительными контактами), двухступенчатой (с главными и дугогасительными контактами) и при использовании металлокерамики одноступенчатой. Дугогасительная система может состоять из камер с узкими щелями или из камер с дугогасительными решетками. Комбинированные дугогасительные устройства — щелевые камеры в сочетании с дугогасительной решеткой применяют для гашения дуги при весьма больших токах.

Автоматические выключатели имеют реле прямого действия, называемые расцепителями.

Расцепители — это электромагнитные или термобиметаллические элементы, служащие для отключения автоматического выключателя через механизм свободного расцепления при КЗ, перегрузках и исчезновении напряжения в первичной цепи.

Механизм свободного расцепления состоит из рычагов, защёлок, коромысел и отключающих пружин и предназначен для отключения автоматического выключателя, а также для устранения повторного включения автоматического выключателя на короткое замыкание при длительно существующей команде на включение.

Отключение может происходить без выдержки времени или с выдержкой. По собственному времени отключения tс.в (промежуток от момента, когда контролируемый параметр превзошел установленное для него значение, до момента начала расхождения контактов) различают нормальные выключатели (tс.в = 0,02¾1 с), выключатели с выдержкой времени (селективные) и быстродействующие выключатели (tс.в < 0,005 с).

Нормальные и селективные автоматические выключатели токоограничивающим действием не обладают. Быстродействующие выключатели, так же как предохранители, обладают токоограничивающим действием, так как отключают цепь до того, как ток в ней достигнет значения Iу.

Селективные автоматические выключатели позволяют осуществить селективную защиту сетей путем установки автоматических выключателей с разными выдержками времени: наименьшей у потребителя и ступенчато возрастающей к источнику питания.

Автоматический выключатель может быть снабжен коммутатором, имеющим вспомогательные контакты, которые используются в цепях управления, блокировки и сигнализации автоматического выключателя.

Выключатель рассчитан на коммутацию предельно отключаемых и включаемых токов в цикле операций О-П-ВО-П-ВО при номинальном напряжении. Здесь О — отключение, П — пауза ( ≤ 180 с), ВО — включение, отключение.