Компенсаторы
Колебания давления в трубопроводах, возникающие от неравномерности подачи жидкости насосом, выравниваются компенсаторами, устанавливаемыми на нагнетательном и всасывающем трубопроводах вблизи от насоса.
Наиболее распространенным способом гашения колебаний давления является аккумулирование жидкости в герметичных емкостях, содержащих газообразный агент. Емкости подключаются к заклапанным полостям и являются частью трубопроводов. Они вбирают в себя жидкость во время максимальной подачи насоса и отдают её в трубопровод во время минимальной подачи. Непрерывное автоматическое действие компенсатора способствует выравниванию расхода жидкости в трубопроводе. Неравномерным по-прежнему остается расход на участке трубопровода, расположенным между колпаком и клапаном. Однако количество жидкости, на ускорение и замедление движения которой производится затрата энергии, уменьшается.
Простейший пневмокомпенсатор представляет собой полый вертикальный колпак, наполненный перед работой атмосферным воздухом. Воздух в таком компенсаторе при пуске насоса автоматически сжимается до некоторой степени под действием давления в трубопроводе. В то время, когда мгновенная подача насоса превышает среднюю, а в трубопроводе увеличивается давление, в нижнюю часть колпака входит перекачиваемая жидкость, уровень её повышается, сжимая воздух. Затем при падении мгновенной подачи насоса ниже средней и уменьшении соответственно давления в трубопроводе сжатый воздух вытесняет жидкость из колпака. Уровень жидкости в нем в это время понижается.
Одним из недостатков конструкции такого компенсатора является небольшой объем, занимаемой сжатым воздухом. К тому же воздух, находящийся в верхней части колпака, бывает отделен от трубопровода вертикальным столбом жидкости, что отрицательно сказывается на компенсации.
Из-за резкого колебания поверхности жидкости в колпаке воздух поглощается текущей струей и уносится в трубопровод. Со временем это приводит к выключению атмосферного колпака из действия. Подкачка сжатого газа или воздуха в колпак не устраняет этот недостаток. Кроме того, при каждой остановке насоса воздух из колпака уходит в трубопровод.
Для сохранения воздуха (газа) в колпаке стали применять компенсаторы с разделителями жидкой и газовой фазы. Известны компенсаторы, в которых воздух отделен от жидкости полым поплавком, перекрывающим отверстие в нижней части колпака при остановке насоса. В некоторых конструкциях для увеличения плавучести поплавок подвешен на пружине, а в нижней части к нему присоединен специальный клапан. Особенностью таких конструкций является предварительное заполнение сжатым газом до давления, меньшего, чем давление нагнетания насоса. При остановке насоса поплавок и клапан под давлением газа садятся на седло. Разобщая жидкостную и газовую камеры. Во время пуска насоса поплавок под давлением жидкости приподнимается, включая компенсатор в действие. Далее компенсатор работает так же, как обычный колпак.
Если давление предварительно закачанного газа увеличивать, то количество жидкости, проникающий в компенсатор во время работы, уменьшается, а работа устройства улучшается. Однако чрезмерно повышать давление предварительной закачки газа нельзя, поскольку при работе насоса с давлением нагнетания ниже, чем давление предварительной закачки газа, пневмокомпенсатор вообще отключится.
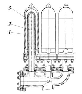
Известны конструкции пневмокомпенсаторов, в которых отверстие, соединяющее газовую полость с нагнетательным трубопроводом, во время остановки насоса принудительно перекрывается обратным клапаном под действием давления сжатого газа, поступающего из пневмосистемы буровой установки. На рис. 19 показана одна из таких конструкций.

Рисунок 19. Пневмокомпенсатор с обратным клапаном.
В ряде конструкций компенсаторов газовая и жидкостная камеры разделены эластичными диафрагмами (мембранами), закрепленными в цилиндрическом или сферическом корпусе 1 (рис. 20).

Рисунок 20. Сферический пневмокомпенсатор.
Резино-тканевая диафрагма 3 снабжена клапаном 2. Нижняя часть корпуса сообщается с нагнетательным трубопроводом, а верхняя (над диафрагмой) заполняется сжатым газом до давления, составляющего от 30 до 40 % давления нагнетания насоса. К крышке подсоединяется манометр 4 и вентиль 5 для подвода газа. Во время пуска насоса с давлением выше, чем давление предварительной закачки газа, жидкость из нагнетательного трубопровода поступает в нижнюю часть компенсатора, оттесняя диафрагму вверх и дополнительно сжимая газ. Диафрагма деформируется и свободно перемещается внутри сосуда. При остановке насоса или снижении давления нагнетания жидкость вытесняется из компенсатора сжатым газом, клапан перекрывает отверстие в корпусе, не давая диафрагме продавиться сквозь отверстие.

Рисунок 21. Компенсатор с предохранительной решеткой.
В некоторых конструкциях в нижней части компенсатора устанавливается решетка, уменьшающая опасность поломки клапана и диафрагмы, в других (рис.21) над диафрагмой заливается небольшое количество жидкости, уменьшающее утечку газа через неплотности в соединениях и обеспечивающей некоторое гидравлическое сопротивление.
В некоторых зарубежных конструкциях предусмотрена установка специальных устройств – гидроловителей, направляющих поток жидкости из нагнетательного трубопровода в компенсатор под некоторым углом и обеспечивающих проточность его нижней части с целью повышения эффективности снижения неравномерности давления.
Диафрагменные пневмокомпенсаторы достаточно эффективны в работе, однако имеют существенный недостаток – быстрый выход из строя резиновых диафрагм, вызванный усталостью материала от многократных деформаций. Поэтому компенсаторы используют в виде блоков из нескольких штук. При выходе из строя одного из компенсаторов продолжают работать другие, обеспечивая нормальную работу установки. Отсутствие постоянного сжатия – растяжения диафрагм позволяет использовать для их изготовления тканевую основу, повышающую долговечность диафрагмы.
Для наполнения камеры компенсатора используют азот, а не сжатый воздух, в результате процесс старения резины замедляется.
В буровых насосах Уралмашзавода применялись компенсаторы так называемого баллонного типа, в которых сжатый газ заключен в резиновом баллоне или между стенками баллона и корпуса (рис. 22).

Рисунок 22. Пневмокомпенсатор баллонного типа.
Внутри стального корпуса 1 установлена перфорированная труба 2, на которую надет резиновый баллон 3. Сжатый газ помещен между корпусом и резиновым баллоном. При работе насоса перекачиваемая жидкость, проникая через отверстия в перфорированной трубе, разжимает баллон и дополнительно сжимает газ. При остановке насоса жидкость вытесняется из колпака сжимающимся баллоном.
Рассматриваемая конструкция имеет два существенных недостатка: ограниченный срок службы баллонов и трудоемкость их замены. Выход баллонов из строя вызывается тремя причинами: механическим продавливанием резины в отверстия перфорированной трубы, периодическим её сжатием – растяжением, уменьшением прочности при разбухании от химического и термического влияния перекачиваемой жидкости.
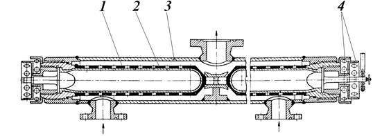
Рассмотренные выше конструкции пневмокомпенсаторов принадлежат к типу тупиковых. Протекающая в трубе жидкость не соприкасается непосредственно с амортизирующим элементом, а давление передается через некоторый столб жидкости. Это несколько снижает эффективность действия компенсатора. Кроме тупиковых существуют компенсаторы проточного типа. Они выполняются горизонтальными и устанавливаются непосредственно над гидрокоробкой насоса.
Компенсатор ПК-2 конструкции Гипронефтемаша является одноэлементным и состоит из литого корпуса цилиндрической формы и резинового трубчатого викеля, закрытого с торцовых сторон стальными грушевидными днищами. Викель помещен в перфорированную стальную трубу и закреплен в ней крышками. Внутрь викеля закачивается инертный газ, растягивающий его до величины перфорированной трубы. Давление сжатого газа контролируется манометром, присоединенным к трубе. Во время работы насоса перекачиваемая жидкость, омывая викель, сжимает его. При этом автоматически выравнивается подача жидкости в нагнетательный трубопровод.
Конструкция этого пневмокомпенсатора обеспечивает степень неравномерности давления в трубопроводе около 0,06 – 0,09. Существенным её недостатком являются необходимость остановки насоса при выходе из строя викеля, трудоемкость ремонта. Этот пневмокомпенсатор широкого распространения не получил.

Рисунок 23. Проточный пневмокомпенсатор.
Пневмокомпенсатор, приведенный на рис. 23, лишен отмеченных недостатков. Он является проточным многоэлементным горизонтальным. В трубчатом корпусе установлены две стальные перфорированные трубы 1 с резиновыми баллонами 2. Баллоны в трубе, а труба в корпусе 3 закреплены винтовыми втулками 4. Сжатый газ закачивается внутрь баллона. Жидкость из гидравлической коробки насоса поступает через вертикальные патрубки в корпус компенсатора с двух сторон. По пути к середине корпуса жидкость омывает перфорированные трубы и резиновые баллоны, сжимая в них газ. При остановке насоса баллон растягивается, опираясь на перфорированные трубы.
В насосах устанавливаются два компенсатора, один над другим. В работе одновременно находятся четыре резиновых баллона с газом. При выходе из строя одного из них сохраняется возможность продолжать работу насоса. Замена вышедших из строя баллонов в этой конструкции проще, чем в других.
Пневматические компенсаторы всасывающей линии используются для уменьшения неравномерности течения жидкости во всасывающем трубопроводе. Принцип действия их таков же, как и нагнетательных компенсаторов, отличие заключается в низком давлении протекающей жидкости. Простейшие конструкции из них представляют собой колпак с заключенным в нем атмосферным воздухом (рис. 24, а и б) или отрезок эластичной резиновой трубы, установленной непосредственно перед всасывающим патрубком насоса.

Рисунок 24. Всасывающий мембранный пневмокомпенсатор.
На рис. 24, в показан всасывающий мембранный компенсатор. Он разделен эластичной диафрагмой 3 на две части: верхнюю силовую, заключающую в себе пружину 1 и сжатый газ 2, и нижнюю – жидкостную. В средней части имеется поршень 4, установленный на стержне. Последний подтянут в верхнее положение пружиной. Диафрагма соединена с поршнем и с корпусом компенсатора. В верхнюю часть компенсатора закачивается сжатый воздух или газ, который давит на поршень 4 и в некоторой степени уравновешивает натяжение пружины. Изменяя давление воздуха в верхней камере компенсатора, можно регулировать работу этого устройства при различной высоте всасывания насоса.