Расчет электронограмм. Фазовый качественный анализ
Цель работы - ознакомиться с основными принципами расчета электронограмм и провести фазовый качественный анализ веществ, используя метод электронографии.
Влияние различных факторов на вид электронограмм
Движущиеся электроны обладают волновыми свойствами, а значит, способны дифрагировать на решетках и интерферировать. На этом основано применение электронных лучей для исследования кристаллического строения твердых тел. В результате явлений дифракции и интерференции электронов на экране возникает электронограмма, представляющая систему концентрических колец или симметрично расположенных точек (рефлексов), находящихся на разных расстояниях от центрального яркого, но размытого пятна. Это пятно образуется электронами c нулевым порядком дифракции.
Характер электронограмм определяется структурными особенностями исследуемых объектов. Электронограммы различаются: 1) внешним видом ‒- представляют собой систему концентрических колец, рефлексов, дужек, иногда ‒- беспорядочно ориентированных отрезков прямых (Кикучи-электронограммы); 2) диаметром колец или расстоянием от центра до рефлекса; 3) интенсивностью линий (точек или рефлексов); 4) их шириной.
Объяснить возникновение той или иной электронограммы можно следующим образом. При взаимодействии в монокристалле с каждым набором кристаллических плоскостей электроны отклоняются на определенный угол 2θ, значения которого различны для плоскостей с разными ћklhkl. Монокристаллические объекты, в том числе и монокристаллические пленочные образцы, полученные при кристаллизации на монокристаллических подложках, дают точечные электронограммы (риc. 1, а). Точечную электронограмму можно рассматривать как практически неискаженную проекцию плоскости обратной решетки на плоскость фотографической пластинки. Увеличение числа кристаллов, взаимодействующих с потоком электронов, приводит к появлению возрастающего числа точек на дифракционной картине (рис. 1, б).
В случае поликристаллических объектов отклонение электронов плоскостью с определенными hkl, происходит в разных направлениях, но на один и тот, же угол. В результате геометрическим местом всех отклоненных, данной системой параллельных плоскостей лучей является конус. Каждый набор плоскостей дает свой конус. Эти конусы имеют общую вершину, расположены на одной оси (направление центрального пучка). При пересечении экрана или фотопластинки. конусы образуют систему концентрических колец (рис. 1, в). При наличии преимущественной ориентации кристаллов (текстуры, эпитаксиальные пленки) электронограммы выглядят в виде коротких дуг, расположенных по концентрическим окружностям (рис. 1, г). При многократном неупругом рассеянии электронов возникают вторичные дифракционные картины от дифрагированных пучков. Такие электронограммы назвали Кикучи-электронограммами (по имени впервые получившего их японского физика) (рис. 1, д).

Рис. 1. Различные типы электронограмм:
а – монокристаллический образец, б – поликристаллический объект
с ограниченным числом кристаллов, в – поликристаллический объект с большим числом мелких кристаллов, г – электронограмма текстуры,
д – Кикучи-электронограмма.
При многократном неупругом рассеянии электронов возникают вторичные дифракционные картины от дифрагированных пучков. Такие электронограммы назвали Кикучи-электронограммами (по имени впервые получившего их японского физика) (рис.1,д).
Закон Вульфа‒-Брэгга в электронографии
В основе определения параметров элементарной ячейки кристаллической структуры и ее симметрии лежит измерение расположения рефлексов на электронограмме. Межплоскостное расстояние d в кристалле определяется модифицированным уравнением Вульфа‒-Брэгга (с учетом того, что длины волн очень малы, а в формировании электронограммы в основном принимают участие дифракционные максимумы I порядка:
d=
(I), (1)
где г r (мм) ‒ расстояние от рефлекса до центра электронограммы или радиус дифракционного кольца, L (мм) ‒- расстояние от образца до фотопластинки, λ(Å) ‒- дебройлевская длина волны электрона, определяемая его энергией. Длина волны электронов определяется задаваемым ускоряющим напряжением U:
, (Ǻнм). (2)l= — и.
Вместо радиуса в формулу (1) может входить диаметр (D, мм) дифракционного кольца и формула имеет вид:
= К. j_ ZLX (3l'). Q~ D ).
Для того чтобы воспользоваться формулой (1), необходимо знать величины L и λ, зависящие от конструкции и режима работы электронографа. Их удвоенное произведение при данных условиях работы прибора является постоянной величиной К. Найти ее с большой точностью путем измерения L и λ невозможно. Обычно ее определяют, анализируя электронограмму известного вещества, для чего необходимо знать точный диаметр колец на электронограмме (точность измерений 10‒3 мм) и соответствующие им межплоскостные расстояния. Из справочных данных для данного вещества: К = Dd. Полученные значения К усредняются.
Интенсивность и ширина линий (рефлексов)
Кольца или рефлексы на электронограммах имеют разную интенсивность, определяемую как кристаллохимическими особенностями объекта, так и факторами, не зависящими от структуры и природы вещества. Влияние структуры кристаллической решетки на интенсивность линий дифракционных колец (или рефлексов) электронограммы сказывается следующим образом. Интенсивность тем больше, чем чаще повторяются в кристаллической решетке плоскости с данным hkl, чем выше плотность упаковки узлов, чем тяжелее атомы, составляющие узлы кристаллической решетки и больше заряд на этих узлах. При наличии нескольких фаз в системе интенсивность линий пропорциональна относительному содержанию этих фаз. Зависимость интенсивности от кристаллических особенностей объекта облегчает идентификацию исследуемого вещества при сравнении полученного набора значений d со справочными данными.
К факторам, определяющим интенсивность линий электронограмм и не зависящим от структурных особенностей объекта, относятся режим съемки, тип фотопластин, режим работы электронографа. Следует отметить, что на электронограммах интенсивность колец с меньшим диаметром, как правило, выше, чем интенсивность колец с большим диаметром. Это объясняется быстрым уменьшением амплитуды атомного рассеяния электронов с ростом угла дифракции, а также обусловлено ростом длины окружности, в результате чего при одинаковом числе дифрагирующих электронов более длинная линия окружности менее интенсивна.
[1]. Интенсивность линий (рефлексов) на электронограмме можно оценить количественно с помощью фотометра или качественно, пользуясь пятибалльной шкалой (линия очень сильная, сильная, средняя, слабая или очень слабая).
Важной характеристикой исследуемого объекта является также ширина (толщина) линий на электронограмме в виде колец или размеры рефлексов на точечной электронограмме. Ширина линий дифракционного кольца, как и интенсивность, зависит от факторов, связанных со структурой и свойствами объекта (размер зерен образца, толщина образца, наличие дефектных и напряженных состояний), а также от факторов, определяемых режимом работы электронографа и съемки. Уширение линий на электронограмме при заданном режиме работы прибора, может быть связано с размерами кристаллов исследуемого объекта. Уширение тем больше, чем меньше средние размеры исследуемых частиц. Следует иметь в виду, что уширение линий (рефлексов) на электронограмме наблюдается, лишь при очень малых размерах частиц или очень тонком слое частиц, т. е. при приближении к пределу чувствительности прибора (менее 10 нм). Кроме того, уширение линий увеличивается при росте степени несовершенства кристаллической решетки объекта. Для получения точных значений d желательно, чтобы линии на электронограмме были как можно тоньше.
Методика определения диаметров колец с помощью компаратора
Измерения диаметров колец (или расстояний между равноудаленными от центра рефлексами) при определении набора межплоскостных расстояний необходимо проводить с точностью не хуже тысячных долей миллиметра. Для этого приходится пользоваться специальным прибором, называемым компаратором, позволяющим определять расстояния между точками, измеряя координаты этих точек с погрешностью, не превышающей нескольких десятитысячных долей миллиметра.
Для определения длины диаметра i-того кольца (или расстояния между симметричными рефлексами), соответствующего набору плоскостей hikili, необходимо измерить координаты точек пересечения диаметра концентрических окружностей с линией окружности. Точка пересечения улавливается в оптический прицел окуляра. Следует помнить, что метод измерения с помощью компаратора позволяет определять относительные координаты точек. Они зависят от положения электронограммы на станине компаратора. Абсолютные (действительные) значения длины отрезка вычисляются с точностью до десятитысячных долей миллиметра как разность значений этих координат. По этой причине во временя определения координат точек пересечения диаметра со всеми линиями колец нельзя менять положение фотопластины относительно станины компаратора.
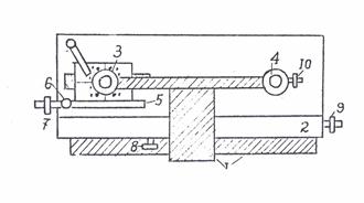
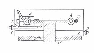
Компаратор изображен на рис. 2 и состоит из массивной станины (1), каретки, перемещающейся по валу станины в горизонтальном направлении (2) и двух окуляров (3 и 4). В первом из них наблюдают электронограмму, во втором читают показания по шкале. Электронограмму ставят на рейку-подставку (5) и располагают таким образом, чтобы отчерченный на электронограмме диаметр на всем его протяжении совпадал с линиями горизонтального оптического прицела. Чтобы обеспечить такое положение, меняют наклон рейки-подставки при ослабленном винте (6) и высоту электронограммы винтом (7). После этого, перемещая станину с электронограммой, последовательно улавливают в центре оптического прицела точки пересечения диаметра с линиями окружностей.
Грубое перемещение станины компаратора возможно при ослабленном зажиме винта (8), прецизионное перемещение станины возможно, когда винт (8) зажат, с помощью винта, находящегося на подвижной части станины справа (9).
Координату точки определяют по шкалам, наблюдаемым в окуляре (4). Вид этих шкал изображен на рис. 3. Для этого на горизонтальной шкале снимают показания целых (см. цифру над пересекающим горизонтальную шкалу штрихом) и десятых долей миллиметра (ближайшая слева от штриха цифра на шкале). На рис. 3 показания горизонтальной шкалы 113,3 мм. Далее пользуются вертикальной шкалой, наблюдаемой в окуляре слева, в которую упирается острие стрелки. Чтобы прочитать показания, следует найти правильное положение вертикальной шкалы. Для этого нужно вращать винт (10), связанный со шкалой левого окуляра. Вращение следует производить до совмещения любого из витков спирали со штрихом, над которым были прочитаны показания целых миллиметров (см. рис.3, штрих совмещен с витком спирали, изображенным пунктиром). Десятки на вертикальной шкале соответствуют сотым, а единицы ‒ тысячным долям миллиметра. В целом показания, соответствующие рис. 3, следует читать: 113,353 мм.
Грубое

Рис. 2. Схема компаратора


Рис. 3. Вид шкал в окуляре компаратора
Оформление работы
Рекомендуется вести обработку электронограммы, заполняя табл. 1. В левой ее колонке сверху вниз записывают координаты точек пересечения диаметра с линиями колец, слева от центра электронограммы, начиная от внешнего кольца. Во второй колонке продолжается запись координат правой половины электронограммы, но снизу вверх (от внутреннего кольца к внешнему). Таким образом, в каждой строке таблицы записываются координаты концов диаметра, принадлежащие одной окружности. Разность между ними, или диаметр кольца, записывается в третьей колонке. Далее рассчитываются с использованием постоянной К значения межплоскостных расстояний d . По качественной пятибалльной шкале определяется относительная интенсивность линий (рефлексов). Набор значений d и I сопоставляется со справочными данными с учетом возможной погрешности в определении d не более 0,02Å, причем, удобно проводить первичный поиск, ориентируясь на три набора плоскостей с наибольшей интенсивностью дифракции, а также на набор плоскостей с максимальным по экспериментальным данным межплоскостным расстоянием. При наличии смеси веществ в экспериментально определенном наборе плоскостей оказываются «лишние» значения d. В таком случае проводят повторный поиск еще одного вещества, пользуясь справочными данными. Корректность полученного результата подтверждается расчетом погрешности определения ∆d.
Таблица I. Данные фазового анализа твердого вещества методом электронографии
| № | Координаты точек слева от центра | Координаты точек справа от центра | Диаметр кольца D, мм | Экcпериментальное d, Ǻ | Относительная интенсивность, I | Справочные | Dd | |
| d | I | |||||||
В конце работы пишут вывод о том, какую кристаллическую фазу (или фазы) удалось обнаружить. При этом указывают погрешность измерений, равную максимальному ∆d, и количество наборов плоскостей, по которым идентифицирована фаза.
Достоинства и, недостатки электронографии
в сравнении c рентгенографическим фазовым анализом
Преимуществом рентгенографии является возможность проведения анализа очень мелкокристаллических веществ, являющихся рентгеноаморфными. Так, минимальные размеры кристалликов или областей когерентного рассеяния в электронографии могут составлять 2 нм, а в рентгенографии размеры кристаллов должны быть не меньшими 50 нм. Это вытекает из соотношения длины волны электронов (~5∙10
нм) и рентгеновского излучения (10
нм), а также из факта более сильного взаимодействия электронов с веществом, обусловленного наличием на них заряда.
Другими преимуществами электронографии являются возможность идентификации очень малых количеств вещества (~1 мг против ~10 мг в рентгенографии), возможность определять структуру веществ, состоящих из атомов легких элементов (например, нитриды, карбиды, лед) по тем же причинам, а также потому, что атомная функция рассеяния для электронов слабее зависит от порядкового номера элементов, чем в случае рентгеновского излучения. Важно также то, что фотографическая съемка электронограмм производится очень быстро: для экспонирования достаточно долей секунды (в отличие от часов в рентгенографии), что позволяет изучать быстро протекающие процессы.
К недостаткам электронографии относится малая точность определения межплоскостных расстояний (погрешность достигает 0,01Å), а также влияние большого числа факторов на интенсивность колец (рефлексов) и малая точность ее определения, в результате чего возникают затруднения при структурном анализе.
Задание для экспериментальной работы
1. Определите постоянную прибора К по электронограмме известного вещества.
2. По виду электронограммы исследуемого вещества охарактеризуйте качественно его состояние (монокристаллическое или поликристаллическое, наличие текстуры, степень совершенства кристаллической решетки).
3. Определите с помощью компаратора диаметры колец (или расстояния между равноудаленными от центра рефлексами).
4. Рассчитайте межплоскостные расстояния.
5. Охарактеризуйте интенсивность колец (рефлексов).
6. Сопоставляя справочные и полученные данные, определите состав исследуемого объекта.
7. Охарактеризуйте точность определения межплоскостных расстояний и предложите возможные пути ее увеличения.