Плунжерные вакуумные насосы
Плунжерные вакуумные насосы (принятое дли заводской маркировки обозначение НВЗ – насос вакуумный золотниковый) применяют для откачивания воздуха, неагрессивных газов, паров и парогазовых смесей, предварительно очищенных от механических загрязнений. Предельное остаточное давление, создаваемое насосами. 1,0 ... 0,1 Па; быстрота действия в диапазоне от атмосферного давления до 150 Па в пределах 20 ... 500 дм3/с.
Плунжерные насосы, выпускаемые в одно- или двухступенчатом исполнении, используют, как правило, в качестве форвакуумных для высоковакуумных насосов различного типа или насосов предварительного разрежения, предназначенных дли понижения давления в откачиваемом обмыт от атмосферного до значения, при котором начинает работу другой вакуумный насос или система насосов.
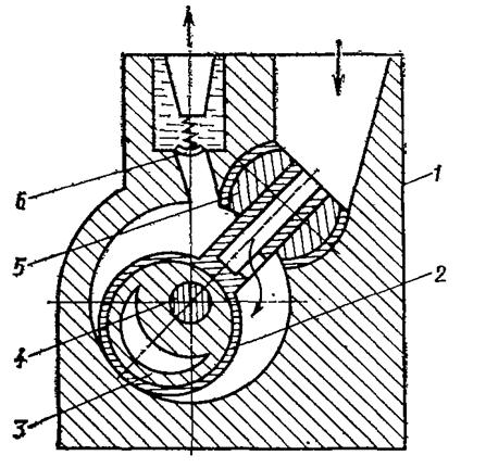
В корпусе (рис. 9.15) одноступенчатого плунжерною насоса находится плунжер 2, который приводится в движение с помощью эксцентрика 3, расположенною на валу 4. При вращении эксцентрика вокруг центра корпуса плунжер обкатывает внутреннюю поверхность цилиндра, вследствие чего положение серповидной полости, образуемой поверхностью плунжера и внутренней поверхностью цилиндрического корпуса, непрерывно изменяется в зависимости от угла поворота эксцентрика. Прямоугольный в сечении участок плунжера перемещается и цилиндрических направляющих 5. вращающихся вокруг оси.
При вращении эксцентрика в определенные моменты зона всасывания насоса через всасывающее окно в прямоугольном участке плунжера соединяется с рабочей полостью, которая заполняется откачиваемым газом. Всасывание заканчивается при разъединении полостей цилиндра и всасывания; при этом ротор совершает практически полный оборот. В течение следующего оборота замкнутый объем, занимаемый откачиваемым газом или паро-газовой смесью, уменьшается, происходит сжатие до давлении, при котором открывается нагнетательный клапан 6 и осуществляется нагнетание газа через маслоотделитель в атмосферу. Таким образом, полный цикл работы плунжерного вакуумного насоса совершается за два оборота вала.
В корпус насоса заливают вакуумное масло, которое, наряду с уменьшением трения между движущимися деталями, заполняет радиальные и торцовые зазоры, мертвый объем, способствуя повышению герметичности рабочих полостей, а также охлаждению сжимаемого газа. Наличие масла в рабочей полости определяет предельное остаточное давление, достигаемое насосом, вследствие выделении из его состава легких фракций.
Положительные качества плунжерных вакуумных насосов состоят в высокой надежности, простоте обслуживания и практически мало меняющейся быстроте действия в широком диапазоне давлений всасывания.
К недостаткам плунжерных насосов следует отнести значительную неуравновешенность движущихся масс, тихоходность, низкие массогабаритные характеристики, невозможность непосредственного соединении с двигателем.

Рис. 9.15. Конструктивная схема плунжерного насоса: 1 – корпус; 2 – плунжер; 3 – эксцентрик; 4 – вал; 5 – направляющие плунжера; 6 – нагнетательный клапан