Атомные электростанции.
Атомные электростанции проектируются и сооружаются с реакторами различного типа на тепловых или быстрых нейтронах по одноконтурной, двухконтурной или трехконтурной схеме. АЭС могут сооружаться для производства только электрической энергии, аналогично КЭС, или для производства тепловой и электрической энергии, аналогично ТЭЦ.
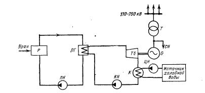
Принципиальная схема двухконтурной АЭС

Рис.1.5
Первый, радиоактивный контур содержит реактор, парогенератор и питательный насос, а второй – турбину Т6 и конденсатор К.
В качестве расщепляющегося материала на АЭС обычно используется уран 235U (92 протона и 143 нейтрона) в виде концентрата закиси-окиси урана U308.
Поглощая один нейтрон, уран 235U делится на две части (осколки) с выделением энергии. При расщеплении 1 кг урана 235U выделяется энергии 21,6 млн. кВт-ч, что эквивалентно энергии, выделяющейся при сгорании примерно 2900 т угля.
Урана на земле не так мало, но 235U в нем только 0,714%. а.основную массу (99,28 %) составляет трудноделящийся изотоп 238U. Найдена возможность использовать и этот изотоп с получением плутония, также расщепляющегося материала:

На АЭС возможно также использовать торий, из которого получается расщепляющийся материал 233U.
Реакция деления происходит в ядерном реакторе. В рабочих каналах активной зоны реактора устанавливают тепловыделяющие элементы (твелы). Тепловая энергия, выделяющаяся. при реакции деления, отводится из активной зоны реактора с помощью теплоносителя. Наиболее распространенным теплоносителем является вода.
Реакторы с водяным теплоносителем могут работать в водном или даровом режиме. Во втором случае пар получается непосредственно в активной зоне реактора.
При делении ядер урана или плутония образуются быстрые нейтроны, энергия которых велика. В природном или слабо обогащенном уране, где содержание U-235 невелико, цепная реакция на быстрых нейтронах не развивается. Поэтому быстрые нейтроны замедляют до тепловых (медленных) нейтронов. В качестве замедлителей используют вещества, которые содержат элементы с малой атомной массой, обладающие низкой поглощающей способностью по отношению к нейтронам. Основными замедлителями являются вода, тяжелая вода, графит.
В настоящее время наиболее освоены реакторы на тепловых нейтронах. Такие реакторы конструктивно проще и легче управляемы по сравнению с реакторами на быстрых нейтронах. Однако перспективным направлением является использование реакторов на быстрых нейтронах с расширенным воспроизводством ядерного горючего—плутония; таким образом может быть использована большая часть U-238.
На последующем этапе развития атомной энергетики намечается освоение термоядерных реакторов, в которых используется энергия реакций синтеза легких ядер дейтерия и трития.
На атомных станциях ядерные реакторы следующих основных типов:
РБМК (реактор большой мощности, канальный) — реактор на тепловых нейтронах, водо-графитовый;
ВВЭР (водо-водяной энергетический реактор) — реактор на тепловых нейтронах, корпусного типа;
БН (быстрые нейтроны) — реактор на быстрых нейтронах с жидкометаллическим натриевым теплоносителем.
Действующие в настоящее время АЭС по технологическим требованиям работают главным образом в базовой части графика нагрузки энергосистемы с продолжительностью использования установленной мощности 6500 — 7000 ч/год.
В настоящее время, независимо от чрезвычайных ситуаций на станциях типа АЭС, с учетом экологической ситуации атомную энергетику рассматривают как перспективную.
Особенности АЭС следующие:
1) могут сооружаться в любом географическом месте, в том числе и в труднодоступном;
2) по своему режиму автономны от ряда внешних факторов;
3) требуют малого количества топлива;
4) могут работать по свободному графику нагрузки (за исключением атомных ТЭЦ);
5) чувствительны к переменному режиму, особенно АЭС с реакторами на быстрых нейтронах; по этой причине, а также с учетом требования экономичности работы для АЭС выделяется базовая часть графика нагрузки энергосистемы;
6) слабо загрязняют атмосферу; выбросы радиоактивных f газов и аэрозолей незначительны и не превышают значений, допустимых санитарными нормами. В этом отношении АЭС оказываются более чистыми, чем ТЭС.