ВОЗДУШНЫЕ ВЫКЛЮЧАТЕЛИ
В воздушных выключателях дуга гасится при помощи дутья сжатым воздухом (при давлении 2-4 МПа и выше), поступающим из резервуара, чаще всего составляющего одно целое с основанием.
ДУ воздушных выключателей выполняют с одним или несколькими разрывами в фазе и с продольным или поперечным воздушным дутьем.
Дугогасительное устройство с одним разрывом может быть использовано для отключения значительного тока только при относительно небольшом напряжении. Выключатели напряжением 220 кВ и выше должны иметь несколько разрывов, включенных последовательно. Так, например, при давлении воздуха 4 МПа и напряжении 11 ОкВ выключатель с одним разрывом способен отключить ток около 40 кА. Выключатель 220 кВ должен иметь два разрыва, а выключатель 500 кВ - четыре разрыва.
Воздушные выключатели с номинальным напряжением от 110 до 1150 кВ проектируют сериями и собирают из унифицированных частей, из которых важнейшим является дугогасительный модуль с двумя разрывами, рассчитанный на некоторое условное напряжение порядка 110-250 кВ в зависимости от давления воздуха. Число модулей, включенных последовательно, выбирают в соответствии с номинальным напряжением.
| Необходимым условием удовлетворительной работы выключателей с многократным разрывом является равномерное распределение восстанавливающего напряжения между разрывами. Для обеспечения равномерного распределения напряжения между разрывами при любой частоте восстанавливающего напряжения, целесообразно применение емкостных делителей напряжения (рис.4.1.а). Эти выключатели обычно снабжают также шунтирующими резисторами, включенными параллельно каждому разрыву (рис.4.1.6). При этом в каждом разрыве необходимы небольшие гасительные устройства (обозначены 1,2,3,4) для отключения сопровождающего тока. |

Рисунок 5 - Схема включения конденсаторов и шунтирующих резисторов у воздушного выключателя
Выключатель серии ВВБ для номинальных напряжений от 110 до 750 кВ. Наиболее совершенные воздушные выключатели, у которых дугогасительная камера размещается непосредственно в баке со сжатым воздухом. Дугогасительные модули с двумя разрывами и односторонним дутьем имеют условное напряжение ПО кВ. Число модулей у выключателей с номинальным напряжением ПО, 220, 330, 500 и 750 кВ равно соответственно 1, 2, 4, 6 и 8. Модули устанавливают на колоннах из фарфоровых изоляторов. Выключатели ПО кВ имеют один модуль и одну опорную колонну. Выключатели 220-750 кВ - по два модуля на каждой колонне, расположенных один над другим и соединенных последовательно перемычкой. На рис.6 показан воздушный выключатель типа ВВБ-220Б-31,5/2000У1на номинальное напряжение 220 кВ, тип изоляции Б, номинальный ток отключения 31,5 кВ. номинальный ток 2000 А, для установки в умеренном климате на открытом воздухе.
Их полное время отключения составляет 0,06 - 0,08 с. в зависимости от номинального напряжения. Эксплуатация показала их высокую надежность.
Рисунок 6 - Выключатель серии ВВБ-220 с двумя модулями на одной колонне:
1 - шкаф управления; 2 — опорный изолятор; 3 — дугогасительное устройство;
4 - делитель напряжения; 5 - соединительный проводник; 6 - шунтирующий резистор.
Давление воздуха для выключателей 110, 220 и 500 кВ равно 2 МПа; для выключателей 750 кВ - 2,6 МПа; 330 кВ - 2 и 2,6 МПа.
Выключатели серии ВВБ имеют пневматическую систему управления. В полых опорных колоннах проложены воздуховоды из изоляционного материала, из которых один служит для пополнения бачков сжатым воздухом, а второй - для управления контактными и дутьевыми клапанами модулей,находящимися под напряжением.
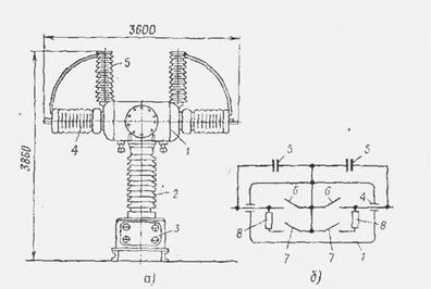
На рис. 7.а показан полюс выключателя серии ВВБна напряжение 110 кВ. Бак со сжатым воздухом 1 располагается на опорном изоляторе 2, в этом же изоляторе проходят управляющие воздуховоды. Шкаф управления 3 расположен в основании выключателя. ДУ соединяется с внешней цепью токоведущими частями проходных изоляторов 4. Равномерное распределение напряжения между двумя разрывами устройства обеспечивается с помощью конденсаторов 5. Схема устройства представлена на рис. 4.3.6, где 5 -шунтирующие конденсаторы, обеспечивающие равенство напряжений на двух разрывах устройства; 6 - основные контакты; 7 - вспомогательные; 8 -шунтирующие резисторы, служащие для снижения скорости восстановления напряжения. Ток через шунтирующие резисторы отключаются контактами 7 после гашения дуги в основных разрывах 6. Из рис. 7.б видно, что корпус бака 2 находится под напряжением.
В рассмотренной конструкции под высоким давлением находится только стальной бак. Это позволяет повышать давление воздуха в баке до 3,5 -4 МПа и увеличивать отключаемый ток.
Выключатель серии ВНВ.Выключатели этой серии изготовляют для номинальных напряжений от 110 до 1150 кВ. Дугогасительный модуль с двумя разрывами рассчитан на условное напряжение 250 кВ при давлении воздуха 4 МПа. Такой укрупненный по напряжению модуль позволяет уменьшить их число по сравнению с выключателями серии ВВБ. Выключатели 220 кВ имеют
|
Рисунок 7 - Баковый воздушный выключатель серии ВВБ-110 UH0M = 110 кВ; 1Н0М = 2000 А; 10ТКН0М = 31,5 кА один модуль, 500 кВ - два и 750 кВ - три модуля.
Каждому модулю соответствует опорная колонна, высота которой определяется номинальным напряжением выключателя. Колонны каждого полюса установлены на общем горизонтальном ресивере с запасом сжатого воздуха, сообщающимся с внутренними полостями колонн и через них - с дугогасительными модулями. Фарфоровые колонны должны выдерживать внутреннее давление 4 МПа. поэтому они усилены встроенными стеклоэпоксидными цилиндрами.
Подготовка воздуха.Распределительное устройство, оборудованное воздушными выключателями, нуждается в установке для подготовки воздуха высокого давления, его очистке и осушке. Пыль, содержащаяся в воздухе, засоряет клапаны, создает неплотности, снижает разрядное напряжение изоляции. Особенно опасна влага, которая при понижении температуры может конденсироваться в воздуховодах. Зимой в трубах и клапанах возможно образование льда и нарушение проходимости. Стальные части при наличии влаги подвержены коррозии. Конденсация влаги на внутренних поверхностях изоляции снижает ее электрическую прочность и может привести к перекрытию.
Очистка воздуха от пыли производится с помощью фильтров, устанавливаемых на всасывающих патрубках компрессоров. Применение получили масляные фильтры, которые имеют ряды металлической сетки, смоченной маслом с низкой температурой замерзания. При прохождении воздуха через фильтр пыль оседает на поверхности масла.
Осушка воздуха производится термодинамическим способом: воздух подвергают сжатию до давления, превышающего номинальное давление сети не менее чем в 2 раза. С этой целью применяют компрессоры, обеспечиващие соответствующее давление. При сжатии воздуха температура его повышается. При последующем охлаждении до начальной температуры большая часть пара конденсируется. Образовавшуюся в охлажденном змеевике воду спускают.
После этого воздух подвергают расширению через редукционный клапан, чтобы снизить давление до рабочего. Относительная влажность воздуха после его расширения получается равной 0,5% и опасность конденсации водяного пара значительно снижается.
Приходится далее принимать меры к дальнейшему уменьшению содержания влаги с помощью адсорбентов (силикагель - SiO H2O , алюмогель -А12ОЗ Н2О и др.).
В качестве компрессоров используют многоступенчатые компрессоры двойного действия с воздушным охлаждением и приводом от асинхронных электродвигателей.
Достоинство воздушных выключателей по сравнению с масляными заключается в их быстродействии. Однако воздушные выключатели значительно сложнее масляных и имеют большую стоимость. В последнее время заметна тенденция к замене части воздушных выключателей элегазовыми. Воздушные выключатели ПО и 220 кВ нормального климатического исполнения сняты с производства и заменены элегазовыми.
Контрольные вопросы:
1. Номинальные напряжения, на которые выпускаются воздушные
выключатели.
2. Способы гашения дуги.
3. Способы очистки и осушки воздуха.
4. Чем достигается большее быстродействие воздушных выключателей
по сравнению с масляными.
5. Конструкция и материал контактов.
6. Существенный недостаток воздушных выключателей по сравнению с
масляными.