Пьезоэлектрические датчики
Принцип действия пьезоэлектрических преобразователей основан на использовании прямого или обратного пьезоэлектрических эффектов. Прямой пьезоэффект заключается в способности некоторых материалов образовывать электрические заряды на поверхности при приложении механической нагрузки, обратный — в изменении механического напряжения или геометрических размеров образца материала под воздействием электрического поля.
В качестве пьезоэлектрических используют обычно естественные материалы — кварц и турмалин, а также искусственно поляризованную керамику на основе титаната бария (BaTiO3), титаната свинца (PbTiO3) и цирконата свинца (PbZrO3). Можно использовать и другие материалы.
Пьезочувствительный элемент обычно вырезают из кристалла кварца в виде пластины (параллелепипеда), стороны которой параллельны осям кристалла (рис. 5.15, а).

В ненапряженном состоянии в пластине все заряды скомпенсированы, и она является электрически нейтральной. Если к пластине кварца вдоль оси X приложена сила F, то на ее гранях, перпендикулярных к оси X, возникают разнополярные электрические заряды Q. Значения этих зарядов в пределах упругих деформаций находятся в линейной зависимости от приложенной силы.
Наряду с преобразователями, в которых пьезоэлемент работает на сжатие-растяжение, применяются конструкции, в которых элемент работает на изгиб и сдвиг Преобразователь, работающий на изгиб, представляет собой две одинаковые пластины, склеенные между собой. Между ними располагается металлическая фольга. При изгибе такого элемента одна пластина удлиняется, а другая укорачивается. В зависимости от схемы подключения обкладок можно получить либо сумму напряжений (см. рис. 5.16, а), либо сумму зарядов (см. рис. 5.16, б). Преобразователь, работающий на сдвиг, представляет собой кольцо из керамики 1 (см. рис. 5.16, в), в которое вклеен внутренний электрод 3 и которое само вклеено во внешний электрод 2. Под действием силы F происходит деформация сдвига плоскостей, параллельных направлению поляризации. Достоинством такого преобразователя является отсутствие зарядов на электродах при боковых воздействиях на датчик.


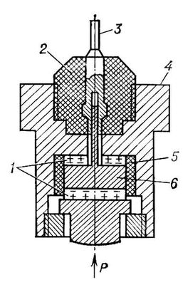
Схема устройства пьезоэлектрического датчика давления: p — измеряемое давление; 1 — пьезопластины; 2 — гайка из диэлектрика; 3 — электрический вывод; 4 — корпус (служащий вторым выводом); 5 — изолятор; 6 — металлический электрод.