Принцип работы тиристорного пускателя трехфазного переменного тока.
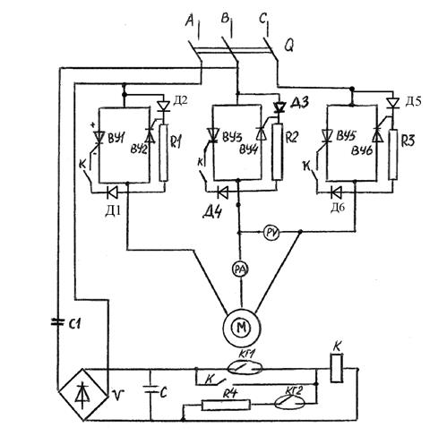
Принцип работы пускателя заключается в бесконтактном включении и отключении нагрузки, что осуществляется тремя силовыми ключами (рис.2.4), каждый из которых представляет собой сочетание двух тиристоров, включенных встречно-параллельно, например BУ1 и ВУ2. Один из них пропускает ток в первую половину периода, а другой – во вторую. Цепь включается подачей импульсов управления, синхронных с анодным напряжением. Импульсы управления тиристорами формируются из анодного напряжения тиристоров. В исходном состоянии все тиристоры закрыты и находятся под фазным напряжением. После включения герконового контакта КГ-1 и замыкания контактов реле К, положительная полуволна напряжения сети окажется приложенной к аноду тиристора ВУ1 (рис. 2.4). Тогда от анода к катоду тиристора ВУ1 через управляющий переход тиристора ВУ2, резистор R1 контакт реле К и управляющий переход тиристора ВУ1.управления будет протекать ток. Тиристор ВУ1 откроется. С открытием тиристора автоматически снимается сигнал управления, так как падение напряжения на открытом тиристоре не превышает 1 В. При переходе напряжение на нем через нуль тиристор ВУ1 закрывается. Теперь положительная полуволна напряжения сети будет приложена к аноду тиристора ВУ2; тиристор ВУ2 откроется и с него автоматически снимется сигнал управления. Импульсы управления поступают на тиристоры синхронно с напряжением сети в начале каждого положительного полупериода, т.е. через 360 эл.°.
Управление тиристорного пускателя осуществляется при помощи герконовых элементов (герметических контактов) КГ1 и КГ2, они замыкаются при воздействии на них магнитных полей. Герконы имеют ряд преимуществ по сравнению с кнопочными выключателями:
1) относительно низкая стоимость;
2) достаточная долговечность;
3) не требует, периодического обслуживания;
4) герметичность контактов;
5) возможность применения во взрывоопасных местах.
II. Практическая часть работы.
- Ознакомиться, с конструктивными особенностями и принципом действия тиристорного пускателя.
- Ознакомиться с лабораторным стендом бесконтактного управления электродвигателем, выписать технические данные элементов схемы.
- Собрать схему бесконтактного управления электродвигателем по рис. 2 и после проверки её преподавателем опробовать установку в работе.
- Снять параметры по приборам, сравнить их с паспортными.
- Ответить на контрольные вопросы.
III. Графическая часть.
Вычертить электрическую схему управления трехфазным асинхронным двигателем с короткозамкнутым ротором с помощью тиристорного пускателя, управляемого герконовыми элементами.
В выводах о проделанной работе следует изложить свойства исследованной схемы управления, указать замеренные параметры электродвигателя, сравнить эти значения с паспортными данными электродвигателя.

Рис. 2.4. Электрическая схема управления пуском трехфазного асинхронного двигателя с короткозамкнутым ротором с помощью тиристорного пускателя с управлением на герконовых элементах.
IV. Контрольные вопросы
1. Какие виды бесконтактных управляющих устройств Вы знаете?
2. Объяснить применение тиристора в цепи постоянного тока, принцип действия тиристора.
3. Применение тиристора в цепи переменного тока, принцип действия тиристора.
4. Каковы преимущества бесконтактных управляющих устройств (тиристорного пускателя)?
5. Каковы преимущества герконовых элементов по сравнению с кнопочными выключателями?
6. Изложите последовательность работы пускателя при включении герконов КТ1, КТ2.
ЛАБОРАТОРНАЯ РАБОТА №5
ПРИНЦИПИАЛЬНЫЕ СХЕМЫ КОНТАКТОРНОГО УПРАВЛЕНИЯ ЭЛЕКТРОДВИГАТЕЛЯМИ
Цель работы: Ознакомиться с правилами начертания принципиальных схем и сборкой их при управлении асинхронным электроприводом.
I. Описательная часть.
Большинство механизмов и машин на горных и геологоразведочных работах имеют контакторное управление электроприводом. В зависимости от условий технологического процесса используются те или иные схемы управления, различающиеся по сложности и насыщенности различными элементами. Однако в основе их лежат сочетания типовых схем, объединяемых в общий комплекс управления машиной, станком или агрегатом.
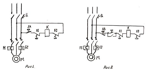
К числу таких схем относятся три базовых варианта управления: с использованием однокнопочного поста управления (толчковая, схема), двухкнопочного поста (с блокировкой кнопки "Пуск") и с трехкнопочным постом (реверсивный вариант).
Нередко в общей схеме управления агрегатом используются все разновидности типовых схем, как, например, в схеме управления современной буровой установкой, где по толчковой реверсивной схеме управляется механизм труборазворота, а станок и насосы - по схеме с блокировкой кнопки "Пуск".
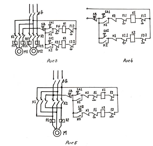
На рис. 1, 2, 5 приведены базовые, схемы, а на рис. 3, 4 даны промежуточные варианты, позволяющие с постепенным усложнением перейти от схемы 2 к схеме 5.
Прежде, чем приступить к сборке схем следует ознакомиться с приведенными ниже условными обозначениями отдельных элементов и правилами их начертания:
- схемы выполняются с минимальными количеством пересечений, а места соединений обозначаются точками;
- силовые цепи чертятся толще, чем прочие (цепи управления);
- элементы аппаратов размещаются на схеме с учетом последовательности их действия и удобства чтения.



II. Практическая часть и порядок работы.
1. Изучить условные обозначения отдельных элементов схем и найти их на стенде.
2. Собрать типовые варианты схем и поочерёдно после проверки преподавателем произвести включение.
III. Графическая часть.
Начертить принципиальные схемы контакторного управления.
IV. Проверочное задание
Составить схему управления двумя электродвигателями:
1) второй двигатель может быть включен только после включения первого, а отключаются оба двигателя одновременно;
2) двигатели включаются и выключаются одновременно, только второй выключается после первого;
3) первый двигатель включается индивидуально, но отключается при включении второго.
ЛАБОРАТОРНАЯ РАБОТА №6