Испытание древесины на сжатие вдоль волокон, скалывание вдоль волокон и статистический изгиб
Цель работы: определение механических свойств древесины при испытаниях на сжатие, скалывание, статический изгиб.
Оборудование: универсальная испытательная машина.
Измерительный инструмент: штангенциркуль 0-250 мм с погрешностью измерения не более 0,1 мм, металлическая линейка, влагомер.
Образцы: стандартные образцы из различных пород древесины для испытаний на сжатие вдоль волокон, скалывания вдоль волокон, статический изгиб.
2.1 Методика проведения испытаний
Образцы для испытаний (рисунок 1) должны соответствовать требованиям ГОСТ 16483.0-89 – общие положения [1], а также:
– образцы на сжатие вдоль волокон – ГОСТ 16483.10-73 [2];
– образцы на статический изгиб – ГОСТ 16483.3-84 [3];
– образцы на скалывание – ГОСТ 16483.5-73 [4].
Для всех видов испытания продольная ось образца располагается вдоль волокон древесины. Годичные слои на торцевых поверхностях образца параллельны одной паре противоположных граней и перпендикулярны другой. Смежные грани образца выполняют под прямым углом 90 ± 5°, противоположные грани образца – параллельными. Отклонения от номинальных размеров образца допускаются не более ± 0,5 мм. Любые размеры, взятые в пределах допустимого отклонения, должны быть выдержаны по всему образцу с точностью ± 0,2 мм (для некондиционированных образцов) и с точностью ± 0,1 мм (для кондиционированных образцов). Шероховатость поверхности Rzmax – не более 100 мкм.

а) б)

в)
Рисунок 1. Образцы для проведения испытаний:
а) на скалывание вдоль волокон; б) на сжатие вдоль волокон;
в) на статический изгиб
2.2 Проведение испытаний на сжатие вдоль волокон
Перед испытанием при помощи штангенциркуля измерить размеры «a» и «b» поперечного сечения образца на середине длины с погрешностью не более 0,1 мм. Данные занести в таблицу 1.
Образец помещают в приспособление (рисунок 2) и нагружают со скоростью 25000 ± 5000 Н/мин. Допускается проводить испытание при скорости перемещения нагружающей головки испытательной машины 4 мм/мин.
Испытание продолжают до разрушения образца. Максимальную нагрузку Рmax считывают с погрешностью не более цены деления шкалы силоизмерительного устройства испытательной машины.
Таблица 1. Определение предела прочности при сжатии вдоль волокон
1. Порода _______. № партии ____. № камеры ____.
Относительная влажность воздуха _____. Температура воздуха _____.
2. Порода _______. № партии ____. № камеры ____.
Относительная влажность воздуха _____. Температура воздуха ______.
| № п/п | Размеры, м | Площадь F, м2 | Pmax, H | W, % |
| Предел прочности, МПа | ||
| a | b | sW | s12 | |||||

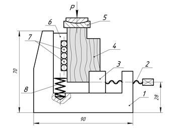
Рисунок 2.Приспособление для испытаний на сжатие вдоль волокон:
1 – корпус; 2 – плита; 3 – шаровая опора; 4 – образец; 5 – пуансон.
После испытания определяют влажность каждого образца по ГОСТ 16483.7-71 [5]. пробой для определения влажности является весь образец.
Предел прочности образца с влажностью в момент испытания (sW), вычисляют по формуле:

где Pmax – максимальная нагрузка, Н; a и b – размеры поперечного сечения образца, м.
Вычисления выполняют с точностью до 0,5 МПа.
Для некондиционированных образцов (при входном контроле) предел прочности пересчитывают на влажность 12% (s12), по формуле:
,
где
- коэффициент пересчета, определяемый по таблице 2 при известной плотности древесины rср – среднего арифметического значения для каждой заготовки; sW – предел прочности образца с влажностью W в момент испытания.
Таблица 2. Значения коэффициента пересчета
.
| Влажность, % | Коэффициент пересчета К12 при плотности r12, кг/м3 | ||||||||
| 1,185 | 1,480 | 1,475 | 1,463 | 1,450 | 1,430 | 1,403 | 1,380 | 1,348 | |
| 1,393 | 1,386 | 1,380 | 1,375 | 1,363 | 1,345 | 1,330 | 1,308 | 1,280 | |
| 1,321 | 1,315 | 1,308 | 1,300 | 1,290 | 1,275 | 1,262 | 1,245 | 1,221 | |
| 1,240 | 1,235 | 1,230 | 1,228 | 1,221 | 1,210 | 1,200 | 1,188 | 1,170 | |
| 1,172 | 1,170 | 1,168 | 1,163 | 1,160 | 1,151 | 1,142 | 1,132 | 1,120 | |
| 1,108 | 1,105 | 1,103 | 1,102 | 1,100 | 1,090 | 1,083 | 1,083 | 1,070 | |
| 1,048 | 1,046 | 1,045 | 1,044 | 1,042 | 1,041 | 1,040 | 1,038 | 1,032 | |
| 1,000 | 1,000 | 1,000 | 1,000 | 1,000 | 1,000 | 1,000 | 1,000 | 1,000 | |
| 0,945 | 0,947 | 0,948 | 0,949 | 0,950 | 0,955 | 0,960 | 0,963 | 0,963 | |
| 0,898 | 0,899 | 0,900 | 0,901 | 0,903 | 0,910 | 0,915 | 0,920 | 0,925 | |
| 0,849 | 0,850 | 0,852 | 0,855 | 0,860 | 0,868 | 0,873 | 0,882 | 0,892 | |
| 0,803 | 0,808 | 0,810 | 0,815 | 0,820 | 0,833 | 0,850 | 0,855 | 0,865 | |
| 0,768 | 0,770 | 0,775 | 0,780 | 0,783 | 0,789 | 0,806 | 0,818 | 0,837 | |
| 0,725 | 0,730 | 0,735 | 0,741 | 0,751 | 0,764 | 0,780 | 0,790 | 0,808 | |
| 0,690 | 0,695 | 0,700 | 0,708 | 0,720 | 0,730 | 0,740 | 0,760 | 0,785 | |
| 0,655 | 0,660 | 0,670 | 0,680 | 0,685 | 0,700 | 0,720 | 0,740 | 0,760 | |
| 0,625 | 0,630 | 0,638 | 0,645 | 0,655 | 0,672 | 0,693 | 0,710 | 0,738 | |
| 0,600 | 0,605 | 0,611 | 0,620 | 0,631 | 0,650 | 0,670 | 0,690 | 0,716 | |
| 0,570 | 0,580 | 0,582 | 0,595 | 0,608 | 0,625 | 0,647 | 0,668 | 0,695 | |
| 0,550 | 0,556 | 0,561 | 0,570 | 0,585 | 0,608 | 0,628 | 0,650 | 0,676 | |
| 0,525 | 0,533 | 0,540 | 0,550 | 0,560 | 0,585 | 0,610 | 0,630 | 0,660 | |
| 0,503 | 0,512 | 0,520 | 0,530 | 0,542 | 0,567 | 0,590 | 0,612 | 0,645 | |
| 0,480 | 0,490 | 0,500 | 0,510 | 0,525 | 0,548 | 0,570 | 0,600 | 0,632 | |
| 0,460 | 0,470 | 0,480 | 0,490 | 0,508 | 0,530 | 0,552 | 0,580 | 0,620 | |
| 0,444 | 0,452 | 0,464 | 0,475 | 0,492 | 0,515 | 0,536 | 0,570 | 0,607 | |
| 0,428 | 0,432 | 0,446 | 0,460 | 0,476 | 0,502 | 0,525 | 0,555 | 0,596 |
Вычисление выполняют с точностью до 0,5 МПа.
Для кондиционированных образцов (после камерной сушки) предел прочности sW, пересчитываю на влажность 12% по формуле
,
где a - поправочный коэффициент, равный 0,04 на 1% влажности; sW – предел прочности образца с влажностью в момент испытания; W – влажность образца в момент испытания, %.
Вычисление выполняют с точностью до 0,5 МПа.
Результаты испытаний и расчетов заносят в таблицу 1 испытаний.
Примечание: коэффициенты пересчета
для промежуточных значений плотности определяют линейным интерполированием коэффициентов
для смежных значений плотности.
Пример. Коэффициент пересчета
для породы с плотностью 650 кг/м3 равен 0,502. Коэффициент
для породы с плотностью 700 кг/м3 равен 0,525. Коэффициент пересчета
для породы с плотностью 670 кг/м3 определяют по формуле:

2.3 Проведение испытаний на скалывание вдоль волокон
Перед испытанием при помощи штангенциркуля измеряют ширину b и длину l площадки скалывания с погрешностью не более 0,1 мм. Данные занести в таблицу 3.
Таблица 3. Определение предела прочности при скалывании вдоль волокон
1. Порода ________. № партии ____. № камеры ____.
Относительная влажность воздуха _____. Температура воздуха _____.
2. Порода ________.№ партии ____. № камеры ____.
Относительная влажность воздуха _____. Температура воздуха _____.
| № п/п | Размеры, м | Площадь F, м2 | Pmax, H | W, % |
| Предел прочности, МПа | ||
| b | l | tW | t12 | |||||
Испытания проводят с помощью приспособления, показанного на рисунке 3. Перемещением подвижной опоры обеспечивается прилегание опорных граней образца к соответствующим поверхностям приспособления. Подвижная опора должна прижиматься к образцу с силой, равной 5-9 Н.
Нагрузку на образец передают через нажимную призму равномерно со скоростью 4000 ± 1000 Н/мин. Допускается проводить испытания при скорости перемещения нагруженной головки испытательной машины 4 мм/мин. Испытание продолжают до полного разрушения образца. Максимальную нагрузку Рmах считывают с погрешностью не более цены деления шкалы силоизмерительного устройства испытательной машины.

Рисунок 3. Приспособление для испытаний на скалывание вдоль волокон:
1 – корпус; 2 – винт; 3 – подвижная губка; 4 – образец; 5 – нажимная призма
с шаровой опорой; 6 – подвижная опора; 7 – ролики; 8 – пружина.
После испытания определяют влажность образцов в соответствии с ГОСТ 16483.7-71. Пробой для определения влажности является большая часть разрушенного образца.
Обработка результатов
Предел прочности образца с влажностью W в момент испытания (tW), вычисляют по формуле:
,
где Рmах - максимальная нагрузка, Н; b – ширина образца, м; l – длина скалывания, м.
Вычисления выполняют с точностью до 0,5 МПа.
Для некондиционированных образцов (при входном контроле) предел прочности пересчитывают на влажность 12% (t12), по формуле:
,
где
- коэффициент пересчета, определяемый по таблице 4 при известной плотности древесины rср – среднего арифметического значения для каждой заготовки.
Для кондиционированных образцов (после камерной сушки) предел прочности (tW), пересчитывают на влажность 12% по формуле:
, при W < 30%,
где a - поправочный коэффициент, равный 0,03 для всех пород; W – влажность образца в момент испытания, %.
Вычисление выполняют с точностью до 0,01 МПа.
Результаты испытаний и расчетов заносят в таблицу 3 испытаний.
Таблица 4. Значения коэффициента пересчета 
| Влажность, % | Коэффициент пересчета К12 при плотности r12, кг/м3 | ||||||||
| 1,178 | 1,172 | 1,168 | 1,160 | 1,157 | 1,148 | 1,139 | 1,130 | 1,121 | |
| 1,160 | 1,155 | 1,150 | 1,145 | 1,140 | 1,131 | 1,125 | 1,118 | 1,110 | |
| 1,138 | 1,132 | 1,128 | 1,124 | 1,118 | 1,115 | 1,109 | 1,100 | 1,094 | |
| 1,112 | 1,108 | 1,106 | 1,102 | 1,100 | 1,096 | 1,089 | 1,085 | 1,078 | |
| 1,086 | 1,082 | 1,080 | 1,078 | 1,075 | 1,071 | 1,069 | 1,065 | 1,060 | |
| 1,058 | 1,056 | 1,054 | 1,052 | 1,050 | 1,048 | 1,046 | 1,044 | 1,041 | |
| 1,030 | 1,029 | 1,028 | 1,026 | 1,025 | 1,024 | 1,022 | 1,021 | 1,020 | |
| 1,000 | 1,000 | 1,000 | 1,000 | 1,000 | 1,000 | 1,000 | 1,000 | 1,000 | |
| 0,968 | 0,969 | 0,970 | 0,972 | 0,973 | 0,975 | 0,977 | 0,978 | 0,980 | |
| 0,935 | 0,938 | 0,940 | 0,942 | 0,944 | 0,948 | 0,950 | 0,954 | 0,958 | |
| 0,900 | 0,905 | 0,909 | 0,912 | 0,915 | 0,920 | 0,925 | 0,930 | 0,935 | |
| 0,874 | 0,879 | 0,883 | 0,888 | 0,890 | 0,895 | 0,900 | 0,908 | 0,912 | |
| 0,838 | 0,845 | 0,849 | 0,855 | 0,860 | 0,869 | 0,875 | 0,882 | 0,890 | |
| 0,812 | 0,818 | 0,825 | 0,830 | 0,835 | 0,843 | 0,852 | 0,866 | 0,875 | |
| 0,72 | 0,790 | 0,796 | 0,805 | 0,810 | 0,820 | 0,830 | 0,841 | 0,851 | |
| 0,755 | 0,762 | 0,770 | 0,780 | 0,788 | 0,798 | 0,810 | 0,822 | 0,835 | |
| 0,730 | 0,738 | 0,746 | 0,755 | 0,763 | 0,776 | 0,790 | 0,805 | 0,818 | |
| 0,702 | 0,712 | 0,720 | 0,730 | 0,740 | 0,755 | 0,770 | 0,785 | 0,800 | |
| 0,682 | 0,692 | 0,700 | 0,715 | 0,725 | 0,740 | 0,754 | 0,770 | 0,785 | |
| 0,660 | 0,672 | 0,682 | 0,969 | 0,705 | 0,720 | 0,736 | 0,752 | 0,770 | |
| 0,643 | 0,653 | 0,678 | 0,703 | 0,718 | 0,738 | 0,756 | |||
| 0,625 | 0,638 | 0,648 | 0,660 | 0,670 | 0,690 | 0,708 | 0,726 | 0,745 | |
| 0,610 | 0,620 | 0,634 | 0,649 | 0,658 | 0,687 | 0,697 | 0,715 | 0,733 | |
| 0,596 | 0,608 | 0,620 | 0,637 | 0,645 | 0,662 | 0,682 | 0,705 | 0,724 | |
| 0,582 | 0,595 | 0,610 | 0,625 | 0,638 | 0,655 | 0,675 | 0,698 | 0,718 | |
| 0,574 | 0,586 | 0,600 | 0,615 | 0,615 | 0,645 | 0,668 | 0,610 | 0,732 |
2.4Проведение испытаний на статический изгиб
На середине образца измеряют ширину «b» и высоту «h» с погрешностью не более 0,1 мм. Данные занести в таблицу 5.
Образец помещают в испытательную машину так, чтобы изгибающая сила была направлена по касательной к годичным слоям и нагружают по схеме, показанной на рисунке 4.
Нагрузку прикладывают к боковой поверхности образца его середины между центрами опор. Радиус закругления опор и нагружающего ножа должен быть 30 мм.
Образец нагружают равномерно с постоянной скоростью (1350±150) Н/мин или проводят испытание при скорости перемещения нагружающей головки испытательной машины 4 мм/мин. Испытание продолжают до разрушения образца, определяя максимальное показание стрелки силоизмерителя. Максимальную нагрузку Pmax определяют с погрешностью не более цены деления шкалы силоизмерительного устройства испытательной машины.
После испытания определяют влажность образцов по ГОСТ 16483.7-71. В качестве пробы на влажность берут часть образца длиной (25±5) мм, вырезаемую вблизи излома.
Таблица 5. Определение предела прочности при статическом изгибе
1. Порода ______. № партии ____. № камеры ____.
Относительная влажность воздуха ______. Температура воздуха _______.
2. Порода ______. № партии ____. № камеры ____.
Относительная влажность воздуха ______. Температура воздуха _______.
| № п/п | Размеры, м | Pmax, H | W, % |
| Предел прочности, Мпа | ||
| b | h | sW | s12 | ||||

Рисунок 4. Схема испытания на статический изгиб.
Обработка результатов
Предел прочности образца с влажностью в момент испытания (sW), вычисляют по формуле:
,
где Pmax – максимальная нагрузка, Н; l – расстояние между центрами опор, м; h – высота образца, м; b – ширина образца, м.
Результат вычисляют с точностью до 1 МПа.
Предел прочности образца (s12) пересчитывают на влажность 12 % по формуле:
,
где
- коэффициент пересчета, определяемый по таблице 6 при известной плотности древесины rср – среднего арифметического значения для каждой заготовки.
Результат вычисляют с точностью до 1 МПа.
Результаты испытаний и расчетов заносят в таблицу 5.
Примечание: коэффициент пересчета
для промежуточных значений плотности определяют линейным интерполированием коэффициентов
для смежных значений плотности.
Пример.Коэффициент пересчета
для породы с плотностью 650 кг/м3 равен 0,590. коэффициент
для породы с плотностью 700 кг/м3 равен 0,620.
Коэффициент пересчета
для породы с плотностью 670 кг/м3 вычисляют по формуле:
Таблица 6. Значения коэффициента пересчета 
| Влажность, % | Коэффициент пересчета К12 при плотности r12, кг/м3 | ||||||||
| 0,405 | 1,396 | 1,390 | 1,375 | 1,365 | 1,345 | 1,320 | 1,280 | 1,245 | |
| 1,335 | 1,330 | 1,320 | 1,310 | 1,300 | 1,285 | 1,264 | 1,232 | 1,202 | |
| 1,267 | 1,262 | 1,255 | 1,248 | 1,240 | 1,230 | 1,212 | 1,185 | 1,163 | |
| 1,210 | 1,205 | 1,200 | 1,193 | 1,190 | 1,180 | 1,16 | 1,145 | 1,125 | |
| 1,150 | 1,148 | 1,143 | 1,140 | 1,135 | 1,127 | 1,120 | 1,105 | 1,090 | |
| 1,098 | 1,098 | 1,092 | 1,090 | 1,087 | 1,082 | 1,077 | 1,070 | 1,060 | |
| 1,048 | 1,048 | 1,042 | 1,042 | 1,040 | 1,040 | 1,038 | 1,033 | 1,027 | |
| 1,000 | 1,000 | 1,000 | 1,000 | 1,000 | 1,000 | 1,000 | 1,000 | 1,000 | |
| 0,955 | 0,955 | 0,955 | 0,955 | 0,956 | 0,960 | 0,962 | 0,968 | 0,970 | |
| 0,915 | 0,915 | 0,915 | 0,917 | 0,920 | 0,925 | 0,930 | 0,940 | 0,948 | |
| 0,875 | 0,878 | 0,880 | 0,882 | 0,887 | 0,890 | 0,900 | 0,913 | 0,922 | |
| 0,837 | 0,840 | 0,840 | 0,845 | 0,852 | 0,860 | 0,870 | 0,887 | 0,900 | |
| 0,805 | 0,810 | 0,810 | 0,813 | 0,820 | 0,830 | 0,840 | 0,862 | 0,880 | |
| 0,780 | 0,785 | 0,785 | 0,793 | 0,798 | 0,807 | 0,820 | 0,843 | 0,863 | |
| 0,745 | 0,750 | 0,753 | 0,760 | 0,768 | 0,780 | 0,795 | 0,820 | 0,843 | |
| 0,715 | 0,722 | 0,722 | 0,735 | 0,740 | 0,757 | 0,773 | 0,800 | 0,825 | |
| 0,695 | 0,701 | 0,703 | 0,710 | 0,718 | 0,735 | 0,752 | 0,782 | 0,812 | |
| 0,665 | 0,672 | 0,680 | 0,687 | 0,693 | 0,710 | 0,732 | 0,765 | 0,795 | |
| 0,645 | 0,650 | 0,658 | 0,668 | 0,672 | 0,688 | 0,715 | 0,750 | 0,758 | |
| 0,620 | 0,630 | 0,638 | 0,643 | 0,650 | 0,668 | 0,696 | 0,730 | 0,768 | |
| 0,590 | 0,595 | 0,600 | 0,610 | 0,622 | 0,638 | 0,665 | 0,710 | 0,748 | |
| 0,605 | 0,614 | 0,619 | 0,624 | 0,316 | 0,653 | 0,680 | 0,700 | 0,755 | |
| 0,570 | 0,575 | 0,580 | 0,595 | 0,605 | 0,625 | 0,650 | 0,695 | 0,735 | |
| 0,554 | 0,560 | 0,565 | 0,580 | 0,590 | 0,610 | 0,638 | 0,682 | 0,725 | |
| 0,540 | 0,550 | 0,553 | 0,568 | 0,577 | 0,600 | 0,628 | 0,675 | 0,718 | |
| 0,530 | 0,538 | 0,540 | 0,554 | 0,565 | 0,590 | 0,620 | 0,665 | 0,710 |
Выводы
В выводах по лабораторной работе сравните:
1. сопротивление древесины сжатию вдоль волокон, скалыванию вдоль волокон и статическому изгибу;
2. пределы прочности различных пород древесины.
Контрольные вопросы
1. Как влияет влажность на прочность древесины?
2. Как влияет плотность древесины на ее прочность?
3. Какие требования предъявляются к расположению волокон в образцах?
4. Перечислите требования к точности образцов для испытаний.
5. Опишите последовательность определения пределов прочности при испытаниях на сжатие вдоль волокон, скалывание вдоль волокон, статический изгиб.
6. Как учитывается влияние влажности материала при определении механических свойств древесины?
7. Почему в испытаниях на сжатие и статический изгиб определяют нормальные напряжения, а при испытаниях на скалывание вдоль волокон – касательные?
8. Изобразите как располагаются напряжения в поперечном сечении образца при изгибе?
9. Изобразите как распределяется напряжение в характерных сечениях образца при сжатии вдоль волокон и скалывании вдоль волокон?
На поставленные вопросы дать письменные ответы в отчете по лабораторной работе.
Рекомендуемая литература
1. ГОСТ 16483.0-89 Древесина. Общие требования к физико-механическим испытаниям. http://www.gosthelp.ru/gost/gost11348.html
2. ГОСТ 16483.10-73 Древесина. Методы определения предела прочности при сжатии вдоль волокон. http://www.gosthelp.ru/gost/gost17334.html
3. ГОСТ 16483.3-84 Древесина. Метод определения предела прочности при статическом изгибе. http://www.gosthelp.ru/gost/gost12854.html
4. ГОСТ 16483.5-73 Древесина. Методы определения предела прочности при скалывании вдоль волокон. http://www.gosthelp.ru/gost/gost26490.html