Расчет внецентренно сжатых железобетонных элементов
7.69 Внецентренно сжатые железобетонные элементы с расчетным эксцентриситетом ес ≤ r (7.55) следует рассчитывать по устойчивости и прочности исходя из следующих условий:
а) расчет по устойчивости:
при наличии сцепления арматуры с бетоном
| N ≤ φ(Rb Ab + Rsc A's + Rpc A'p); | (7.31) |
при отсутствии сцепления напрягаемой арматуры с бетоном
| (7.32) |
б) расчет по прочности:
при наличии сцепления арматуры с бетоном
| N ≤ Rb Ab + Rsc A's - σpc1 A'p; | (7.33) |
при отсутствии сцепления напрягаемой арматуры с бетоном
| (7.34) |
В формулах (7.31) - (7.34):
N - продольное сжимающее усилие от расчетных нагрузок (без учета усилия предварительного напряжения);
φ - коэффициент продольного изгиба, принимаемый по 7.55;
Rb - расчетное сопротивление бетона сжатию при расчете по прочности, принимаемое по таблице 7.6;
Аb - полная площадь сечения элемента; если площадь сечения арматуры превышает 3 %, то Аb заменяют на (Аb - A's - А'р);
Rsc, Rpc - расчетные сопротивления арматуры сжатию, принимаемые по 7.38;
σpc - учитываемое в расчете, согласно 7.60, напряжение в напрягаемой арматуре, расположенной в сжатой зоне;
σpc1 - установившееся предварительное напряжение в напрягаемой арматуре А'р, согласно 7.60, после проявления всех потерь;
μsc = A's/Ab;
σb = N/Ab;
А's, А'p - площади сечения соответственно всей ненапрягаемой и напрягаемой арматуры;
n1 - отношение модулей упругости, принимаемое по 7.48.
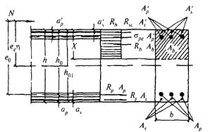
7.70 Расчет по прочности внецентренно сжатых железобетонных элементов таврового, двутаврового и коробчатого поперечного сечений с плитой в сжатой зоне с эксцентриситетом ес > r при х > h'f и ξ ≤ ξy (рисунки 7.2 и 7.4) следует производить, используя условие
| (7.35) |
и определять величину е0 по формуле
| е0 = е + ес(η - 1), | (7.36) |
где N - продольная сила;
η - коэффициент, определяемый по 7.54;
е - расстояние от точки приложения силы N до равнодействующей усилий в растянутой арматуре;
ес - начальный эксцентриситет продольной силы N относительно центра тяжести всего сечения (с учетом случайного эксцентриситета согласно 7.52);
σрс - сжимающее напряжение в напрягаемой арматуре, расположенной в зоне, сжатой от внешней нагрузки, согласно 7.60.
Для прямоугольных сечений в формуле (7.35) принимается b'f = b.
Высоту сжатой зоны бетона х необходимо определять по формуле
| N + RbAp + RsAs - RscA's – σpcA'p = Rbbx + Rb (b'f - b) h'f | (7.37) |
Знаки при усилиях в формуле (7.37) соответствуют расположению силы N вне сечения.
При расчете двутавровых сечений с плитой в растянутой зоне свесы плиты не учитываются. Кроме расчета по прочности в плоскости действия изгибающего момента следует проводить расчет по устойчивости с изгибом из плоскости действия момента.
Учет работы сжатой ненапрягаемой арматуры следует производить по 7.60. Однако если без учета этой арматуры х > 2 a's, а с ее учетом х < 2a's, то расчет по прочности допускается производить, используя условие
| Ne0 ≤ (Rp Ap + Rs As + N) (h0 - a's). | (7.38) |
Расчет на прочность внецентренно сжатых предварительно напряженных элементов при предварительном напряжении заменяется расчетом по образованию продольных трещин под нормативной нагрузкой (7.100) с ограничением сжимающих напряжений в бетоне значениями Rb,mc1, соответствующими классу передаточной прочности бетона.

Рисунок 7.4 - Схема усилий и эпюра напряжений в сечении, нормальном к продольной оси внецентренно сжатого железобетонного элемента, при расчете его по прочности
7.71 Расчет внецентренно сжатых железобетонных элементов кольцевого сечения при отношении внутреннего r1 и наружного r2 радиусов r1/r2 ≥ 0,5 с ненапрягаемой арматурой, равномерно распределенной по длине окружности (при числе продольных стержней не менее 6), производится в зависимости от относительной площади сжатой зоны бетона, равной
| (7.39) |
В зависимости от значений ξcir в расчетах используются приведенные условия:
а) при 0,15 < ξcir < 0,60 из условия
| (7.40) |
б) при ξcir ≤ 0,15 из условия
| (7.41) |
где
| (7.42) |
в) при ξcir ≥ 0,6 из условия
| (7.43) |
где,
| (7.44) |
В формулах (7.39) - (7.44):
Аb - площадь бетона кольцевого сечения;
As,tot - площадь сечения всей продольной арматуры;
| rm = (r1 + r2)/2, | (7.45) |
rs - радиус окружности, проходящей через центры тяжести стержней рассматриваемой арматуры.
Эксцентриситет продольной силы e0 определяется с учетом случайного эксцентриситета по 7.52 и прогиба элемента согласно 7.54 и 7.70.
7.72 Расчет элементов сплошного сечения с косвенным армированием и с ненапрягаемой продольной арматурой следует производить согласно требованиям 7.69, б и 7.70. В расчет следует вводить часть бетонного сечения, ограниченную крайними стержнями сеток поперечной арматуры или спиралью (считая по ее оси), и подставлять в расчетные формулы вместо Rb приведенную призменную прочность Rb,red. Гибкость l0/ief элементов с косвенным армированием не должна превышать при армировании: сетками - 55, спиралью - 35 (где ief - радиус инерции, вводимой в расчет части сечения).
Значения Rb,red следует определять по формулам:
а) при армировании сварными поперечными сетками
| Rb,red = Rb + φμs,xy Rs, | (7.46) |
где
Rs - расчетное сопротивление растяжению арматуры сеток;
| (7.47) |
В формулах (7.46) и (7.47):
nx, Asx, lх - соответственно число стержней, площадь поперечного сечения и длина стержней сетки в одном направлении (считая в осях крайних стержней);
nу, Asy, ly - то же, в другом направлении;
Аеf - площадь сечения бетона, заключенного внутри контура сеток (считая по осям крайних стержней);
s - расстояние между сетками (считая по осям стержней); если устанавливается одна сетка, то величина s принимается равной 7 см;
φ - коэффициент эффективности косвенного армирования, определяемый по формуле
| (7.48) |
при
| (7.49) |
В формуле (7.49) Rs и Rb принимаются в МПа, μ = μs,xy.
Площади поперечного сечения стержней сетки на единицу длины в одном и другом направлениях должны различаться не более чем в 1,5 раза;
б) при армировании спиральной или кольцевой арматурой
| (7.50) |
где
Rs - расчетное сопротивление арматуры спирали;
ес - эксцентриситет приложения продольной силы (без учета влияния прогиба);
μ - коэффициент армирования, равный
| (7.51) |
As,cir - площадь поперечного сечения спиральной арматуры;
def - диаметр части сечения внутри спирали;
s - шаг спирали.
При учете влияния прогиба на несущую способность элементов с косвенным армированием следует пользоваться указаниями 7.54, определяя момент инерции для части их сечения, ограниченной крайними стержнями сеток или заключенной внутри спирали. Значение Ncr, полученное по формуле (7.9), должно быть умножено на коэффициент φ1 = 0,25 + 0,05l0/cef ≤ 1 (где cef равно высоте или диаметру учитываемой части бетонного сечения), а при определении δ второй член правой части формулы (7.12) заменяется на 0,01(l0/cef)φ2, где φ2 = (0,1l0/сef - 1) ≤ 1. Косвенное армирование учитывается в расчете при условии, что несущая способность элемента, определенная с учетом Аеf и Rb,red, превышает его несущую способность, определенную по полному сечению Аb и с учетом Rb (но без учета косвенной арматуры). Кроме этого, косвенное армирование должно соответствовать конструктивным требованиям 7.153.
7.73 При расчете элементов с косвенным армированием наряду с расчетом по прочности следует производить расчет, обеспечивающий трещиностойкость защитного слоя бетона. Этот расчет следует производить согласно указаниям 7.69, б и 7.70 под эксплуатационной нагрузкой (при γf = 1), учитывая всю площадь сечения бетона и принимая вместо Rb и Rs расчетные сопротивления Rbn и Rsn для предельных состояний второй группы, а также принимая расчетное сопротивление арматуры сжатию равным Rsc,ser, но не более 400 МПа.