Вопрос 6.1 Преобразование схем замещения
Лекция 6
Расчет тока КЗ начинают с составления для исходной расчетной схемы ее схемы замещения, которая представляется в однолинейном изображении (для одной фазы) и содержит все элементы расчетной схемы (генераторы, трансформаторы, линии и т.п.), их связи между собой и точкой КЗ.
Элементы вводят в схему своими эквивалентными сопротивлениями, а источники питания эквивалентными ЭДС. Сопротивления и ЭДС целесообразно обозначать номерами и указывать их величины в виде дроби, числитель которой указывает порядковый номер элемента, а знаменатель его величину в относительных или именованных единицах.
Генераторы и нагрузки вводят в схему замещения параметрами, соответствующими моменту времени, для которого рассчитывается ток КЗ.
Параметры элементов расчетной схемы устанавливаются в соответствии с их паспортными данными. При этом некоторые из них указываются в именованных единицах (Вольт, Ампер, Ом), а другие – в относительных единицах.
Например, для воздушных и кабельных линий электропередач задаются: длина линии и ее удельное сопротивление в Ом/км.
Для генераторов, трансформаторов, токоограничивающих реакторов, двигателей, обобщенной нагрузки сопротивления задаются в относительных единицах. Как известно, под относительным значением какой либо величины понимают ее отношение к другой одноименной физической величине, выбранной за единицу измерения. В данном случае относительные сопротивления указанных элементов задаются при номинальных условиях.
Расчетная схема в однолинейном изображении должна включать участвующие в питании КЗ генераторы и все элементы их связей как с местом КЗ, так и между собой. Дополнительные источники - синхронные компенсаторы, крупные двигатели, мелкие станции следует вводить в схему только в тех случаях, когда они сравнительно близко расположены к месту КЗ.
Очень крупные источники (смежные системы и др.) часто можно заменять источниками неограниченной мощности, т.е. считать, что напряжения в точках их присоединения к схеме остаются неизменными в течении всего процесса КЗ.
При учете нагрузок их можно объединять в крупные группы, как: нагрузка района сети, подстанции и т.д.
Целью преобразования схемы замещения является ее приведение к простейшему виду.
Простейшей называется эквивалентная схема, состоящая из одного результирующего сопротивления хрез, с одной стороны к которому приложена расчетная ЭДС, а с другой – находится расчетная точка КЗ с нулевым потенциалом.

Рисунок 6.1 – Схема замещения, преобразованная к простейшему виду
Задача определения величины тока короткого замыкания в электрической схеме, для которой заданы сопротивления всех входящих в нее элементов и приложенные электродвижущие силы, может быть решена при помощи уравнений Кирхгофа. Однако совместное решение большого числа уравнений, которые составляются для вычисления тока при КЗ в сколько-нибудь сложных схемах, крайне затруднительно и поэтому на практике применяют более удобный и простой способ. Идея этого способа заключается в постепенном преобразовании рассчитываемой схемы (рис. 1) и доведении ее до простейшей в виде одного результирующего сопротивления, с одной стороны которого приложена расчетная э.д.с., а с другой — расположена точка короткого замыкания с потенциалом, равным нулю. Для такой схемы ток в месте повреждения просто определяется по закону Ома.
Задача преобразования схемы замещения (полученной из расчетной схемы после того как параметры всех ее элементов приведены к выбранным базисным условиям) еще более упрощается в том случае, когда электродвижущие силы генерирующих источников одинаковы и нагрузки отсутствуют. В этом случае все точки приложения э.д.с. оказываются эквипотенциальными. Поэтому преобразование схемы замещения к результирующему сопротивлению выполняется путем сложения по законам электротехники последовательно и параллельно соединенных сопротивлений, а также замены замкнутого электрического контура из трех сопротивлений на эквивалентное ему соединение звездой и обратного преобразования трехлучевой звезды сопротивлений в эквивалентный треугольник.
Основные формулы преобразования схем замещения, вытекающие из основ электротехники, приведены в таблице 6.1.
После того как схема замещения упрощена и приведена к результирующему сопротивлению, можно заранее определить относительное распределение тока короткого замыкания по отдельным участкам схемы, приняв ток в месте короткого замыкания за единицу. Для этого следует произвести обратную развертку схемы, идя от результирующего сопротивления к первоначальной схеме замещения.
Распределение тока в параллельных ветвях, как известно, обратно пропорционально сопротивлениям этих ветвей. Токи в лучах эквивалентной звезды, как и токи в сторонах эквивалентного треугольника, определяются при помощи уравнений Кирхгофа. В соответствии с этим получены основные формулы токораспределения, которые приведены в таблице 6.1.
Таблица 6.1 - Основные формулы преобразования схем и токораспределения
Таблица 6.2 - Мнемоническое изображение, схема замещения и расчётные соотношения трансформаторов
Одним из основных элементов системы является силовой трансформатор. По конструкции он может быть: двухобмоточный, трёхобмоточный, автотрансформатор и трансформатор с расщеплёнными обмотками со стороны низшего напряжения (две, три и более). Ниже показаны их мнемоническое изображение, схема замещения и расчётные формулы (табл. 6.2).
В таблице 6.3 приведены расчетные выражения для определения приведенных значений сопротивлений основных элементов схем
Таблица 6.3 – Расчетные выражения для определения приведенных значений сопротивлений

В таблице 6.3:
Sном – номинальные мощности элементов (генератора, трансформатора, энергосистемы), МВ-А;
Sб – базисная мощность, МВ-А;
Sк – мощность КЗ энергосистемы, MBА;
Iном.отк – номинальный ток отключения выключателя, кА;
х*С(ном) – относительное номинальное сопротивление энергосистемы;
UК% – напряжение КЗ трансформатора;
Iб – базисный ток, кА;
Uср – среднее напряжение ступени, к которой подключён элемент системы, кВ;
Худ – индуктивное сопротивление линии на 1 км длины. Ом/км;
l – длина линии, км.
Рассмотрим некоторые приемы эквивалентного преобразования схем.
Эквивалентная замена генераторных ветвей одним эквивалентным генератором возможна, если:
1. Генераторы, питающие точку КЗ однотипные (турбогенераторы или гидрогенераторы).
2. Генераторы, питающие точку КЗ соизмеримой мощности и имеют соизмеримую удаленность от точки КЗ.
Определение взаимных сопротивлений например, между источником и точкой КЗ при преобразовании схемы к радиальному (лучевому) виду (рис.6.2).

Рисунок 6.2 – Преобразование схемы
Порядок преобразования схемы следующий:
êê
êê
,

,
,
Проверка : С1 + С2 + С3 = 1.
,
,
.
При преобразованиях схем в ходе выполнения расчетов нужно учитывать некоторые специфические особенности:
1. Первоочередной задачей расчета тока КЗ является определение тока непосредственно в аварийной ветви или в месте КЗ (рис.6.3).

Рисунок 6.3 – Преобразование схемы
Поэтому преобразование схемы нужно вести так, чтобы аварийная ветвь по возможности была сохранена до конца преобразования или, в крайнем случае, участвовала в нем на последнем этапе.
С этой целью, в частности, концы нагрузочных ветвей, ЭДС которых принимаются равными нулю, следует соединять с точкой КЗ.
2. Когда КЗ находится в узле с несколькими сходящимися в нем ветвями, этот узел можно разрезать, сохранив на конце каждой образовавшейся ветви такое же КЗ. Далее полученную схему нетрудно преобразовать относительно любой из точек КЗ, учитывая другие ветви с КЗ как нагрузочные ветви с ЭДС равными нулю (рис.6.4).

Рисунок 6.4 -Преобразование схемы
Такой прием эффективен, когда нужно найти ток в одной из ветвей, присоединенных к узлу КЗ.
Определенные трудности в упрощении схем возникают, когда точка КЗ находится в одном из узлов многоугольника, к другим узлам которого присоединены генерирующие ветви (рис.6.5).

Рисунок 6.5 – Преобразование схемы
Если точка КЗ делит схему на две симметричные части, например точки К1, К2, то при одинаковых характеристиках генераторов G1, G3 и трансформаторов узлы а и b схемы будут иметь одинаковые потенциалы, вследствие чего их можно совместить: ветви генераторов G1 и G3 объединяют, представляя их эквивалентной машиной с S = 2Sном. В результате получится схема ”в”. В этой схеме
êê
,
êê
,
.
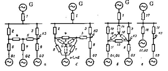
Преобразуем схему, приведенную на рис.6.6. Если генераторы G1 и G2 имеют одинаковые ЭДС, то их можно объединить в эквивалентный генератор с мощностью S = 2Sном.

Рисунок 6.6 – Преобразование схемы
При таком объединении образуется треугольник сопротивлений Х4, Х6, Х7 (рис.6.6,б), который преобразуется в звезду Х9, Х10, Х11.
Далее преобразовывая, получим:
,
. Полученный треугольник Х3, Х12, Х13, преобразуется в звезду Х14, Х15, Х16 (рис.6.6,в). Последовательно сложив сопротивления
и
, получим схему рис. 6.6,г.
Если схема имеет одинаковые ЭДС, то в некоторых случаях упрощение схемы достигается объединением источников. Например, если схема на рис.6.7,а имеет одинаковые ЭДС Е2 и Е3, то объединяя эти ЭДС и преобразуя полученный треугольник 2-3-6 в эквивалентную звезду, получим схему (рис.6.7.б).

А б
Рисунок 6.7 – Преобразование схемы
Следует отметить, что трудность преобразования схем замещения в значительной степени определяется выбранным порядком выполнения операций по упрощению схемы. Поэтому при преобразовании схем следует придерживаться такого порядка расчётов и записи результатов, который обеспечивает проверку полученных результатов. После получения простейшей схемы содержащей точку КЗ и эквивалентную ЭДС за эквивалентным сопротивлением приступают к расчёту тока КЗ. Токи и напряжения в других ветвях схемы (если в этом есть необходимость) определяют, совершая обратный переход от простейшей схемы к всё более сложным, вплоть до исходной.
В том случае, если в схеме замещения отсутствует замкнутые контуры, для их преобразования достаточно воспользоваться формулами для параллельного и последовательного преобразования схем.
Последовательное преобразование (рис. 6.8):

Рисунок 6.8 – Преобразование схемы
Из схемы получим:
.
Параллельное преобразование (рис. 6.9):

Рисунок 6.9 – Преобразование схемы
Используя таблицу 6.1, получим:
.
Частный случай (рис. 6.10):

Рисунок 6.10 – Частный случай преобразования
Из анализа рис. 6.10, получим:
.
Если сопротивления соединены параллельно, равны по величине Х1=Х2=Х3, то результирующее сопротивление определяется по формуле:
.
При наличии ЭДС в цепи (рис.11):

Рисунок 6.11 – Преобразование схемы
Из рис. 6.11 получим:
;
.
В том случае, если в схеме есть замкнутые контуры, возникает необходимость преобразования звезды в треугольник и наоборот (рис. 6.12)

Рисунок 6.12 – Преобразование схемы
Из рис. 6.12 и используя таблицу 6.1, получим
;
;
.
При обратном преобразовании (рис.6.13)

Рисунок 6.13 – Преобразование схемы
В этом случае получим:
;
.
Во время преобразования схем замещения следует пользоваться следующими рекомендациями:
1. Так как задачей расчета тока КЗ является нахождение тока в аварийной ветви, то аварийная ветвь не должна участвовать в преобразовании или участвовать на последних этапах преобразования.
Пример (рис.6.14):

Рисунок 6.14 – Преобразование схемы
Для случая на рис. 6.14:
.
Схема для случая на рис. 6.14 примет вид рис. 6.15:

Рисунок 6.15 – Преобразование схемы
Из анализа схемы рис. 6.15:
;
;
.
2. Следует использовать симметрию схем замещения относительно узла или цепи:

Рисунок 6.16 – Преобразование схемы
Если
,
то потенциалы точек a,b,c окажутся одинаковыми и сопротивления Х4, Х5 не будут влиять на токи КЗ и схему замещения можно преобразовать(рис. 6.17):

Рисунок 6.17 – Преобразование схемы
Из этого рисунка
;
.
Предполагаем, что

В этом случае, потенциалы точек a,c будут одинаковыми и следовательно схему можно свернуть к виду (рис. 6.18)

Рисунок 6.18 – Преобразование схемы
Для этой схемы:
;
.
Преобразовав треугольник из сопротивлений X7,X10,X11 в звезду мы получим (рис. 6.19):

Рисунок 6.19 – Преобразование треугольника в звезду
В случае, если в схеме замещения отсутствует симметрия, а к точке КЗ подходит несколько ветвей, то аварийный узел можно разрезать и исходную схему представить в виде нескольких подсистем, в каждой из которых точка КЗ приложена к одной аварийной ветви, остальные ветви можно считать ненагруженными с ЭДС равными нулю (рис. 6.20).

Рисунок 6.20 – Преобразование схемы
Для рис. 6.20 результирующий ток в точке КЗ находим как ток

В случае, отсутствия симметрии схему замещения можно преобразовать следующим образом (рис. 6.21)
Шаг 1-й: заменим звезду из сопротивлений 3-5-8 на треугольник и разрежем узел с ЭДС:

Рисунок 6.21 – Преобразование схемы
При разрезании ЭДС все величины ЭДС будут равны ЭДС до разрезания рис. 6.22:

Рисунок 6.22 – Преобразование схемы
Шаг 2-й. Объединить параллельные сопротивления Х2 - Х9 и Х7 – Х10 (рис.6.23).

Рисунок 6.23 – Преобразование схемы
Для этой схемы:
;
;
.