Пожарные центробежные насосы серии ПН
Центробежные насосы обладают рядом достоинств. При постоянной скорости вала насоса nном, об/мин, изменяя подачу Q, л/с, в широких пределах (до 10 раз), напор Н, м, развиваемый им, изменяется на 10–15 %. Следовательно, напор при изменении подачи всегда будет достаточно высоким. Центробежные насосы подают жидкость равномерно без пульсаций. Важным является и то, что они способны работать «на себя». При перекрытии ствола, засорении его или заломе напорных рукавов насос не выключается.
Центробежные насосы не требуют сложного привода от двигателя, надежны в работе и просты в управлении. Существенным их недостатком является то, что они не могут забирать воду из открытых водоисточников. Поэтому их оборудуют специальными вакуумными системами с ручным или автоматическим включением.
К центробежным насосам для целей пожаротушения предъявляется ряд специфических требований. Они должны обеспечивать подачу воды и водных растворов пенообразователя с водородным показателем рНот 7 до 10 плотностью 1010 кг/м3 и массовой концентрацией твердых частиц до
0,5 % при их максимальном размере 3 мм. Насос может потреблять не более 70 % мощности, развиваемой двигателем, расположенным на шасси, и обеспечивать работу непрерывно в течение 6 ч при любых температурах окружающей среды.
Насосы серии ПН устанавливают на автоцистернах и автонасосах. Они обозначаются так: ПН-40УВ. В этом обозначении ПН – пожарный насос; 40 – максимальная подача насоса 40 л/с; У – унифицированный и В – особенность выпускаемой серии. Геометрически подобны этой серии пожарные насосы ПН-60 и ПН-110. Они применяются на пожарных аэродромных автомобилях и пожарных насосных станциях, соответственно. Все эти насосы имеют одинаковую номенклатуру основных деталей, идентичны по конструкции, но имеют различные габариты и массу.
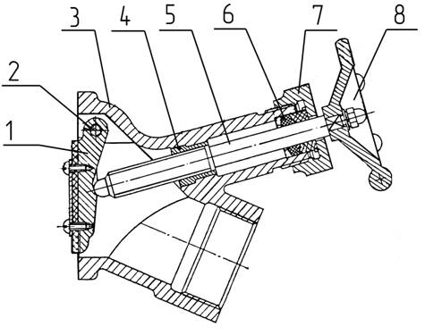
| Рис. 3.10. Пожарный насос ПН-40УВ:
1 – насос; 2 – напорный патрубок; 3 – напорная задвижка; 4 – пеносмеситель; 5 – коллектор; 6 – задвижка коллектора; 7 – отвод насоса
|
Пожарный центробежный насос ПН-40УВ(рис. 3.10) состоит из корпуса насоса
1, двух напорных патрубков
2, двух напорных задвижек
3, пеносмесителя
4 и задвижки коллектора
6, установленных на коллекторе
5. Продольный разрез представлен на рис. 3.11. В корпусе
1, закрытом крышкой
2, на подшипниках
8 и
16 установлен вал
9 насоса. В корпусе на конической части вала размещено рабочее колесо
5. Оно сопряжено с валом шпонкой и закреплено гайкой со шплинтом. На насосах ПН-40У и ПН-40УА рабочее колесо размещено на цилиндрическом шипе вала.
В осевом направлении оно закреплено гайкой и стопорится стопорной шайбой. От проворачивания оно крепится одной и двумя шпонками, соответственно, на ПН-40У и ПН-40УА. В ПН-40У корпус насоса 1 и масляная ванна 10 выполнены в виде одной детали. Все корпусные детали насосов, рабочие колеса изготовлены из алюминиевого сплава АЛ9В. Валы насосов изготовлены из стали 45Х и термически обработаны.
| Рис. 3.11. Продольный разрез насоса ПН-40УВ:
1 – корпус; 2 – крышка; 3 и 4 – уплотнительные кольца; 5 – рабочее колесо; 6 – сливной краник; 7 – уплотнительный стакан с манжетами; 8 – подшипник; 9 – вал насоса; 10 – масляная ванна; 11 – червячная шестерня привода тахометра; 12 – муфта-фланец; 13 – предохранительный клапан; 14 – манжета; 15 – корпус привода тахометра; 16 – подшипник; 17 – шланг
|
| Рис. 3.12. Эпюра осевых сил на колесе
|

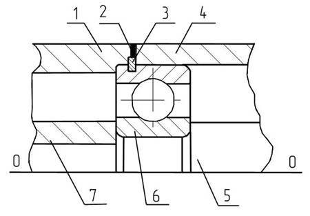
Важным элементом в насосе является крепление вала. Это обусловлено особенностями конструкции рабочего колеса. Оно выполнено из двух дисков – ведущего и покрывающего. Между ними расположены лопасти, загнутые в сторону, противоположную вращению. Размеры дисков колеса различны (рис. 3.12,
а). Это обусловливает возникновение осевой силы, которая направлена по оси в сторону всасывающего патрубка и стремится сместить колесо по оси (рис. 3.12,
б). Величину этой силы приближенно вычисляют по формуле
(3.9)
где S – коэффициент сопротивления щелевого уплотнения (S = 0,6); Р – давление на насосе, Па; R1 – радиус входного отверстия, м; Rв – радиус вала, м.
| Рис.3.13. Крепление подшипника:
1 – корпус привода тахометра; 2 – прокладка; 3 – полукольцо верхнее; 4 – корпус насоса; 5 – вал насоса; 6 – подшипник; 7 – втулка
|
Для уменьшения этого давления в ведущем диске колеса предусмотрены отверстия. Через эти отверстия жидкость перетекает из левой части в правую. Кроме того, подшипник 16 (50309) имеет стопорное кольцо, воспринимающее осевое усилие и предотвращающее смещение вала в осевом направлении (рис. 3.13).
Работоспособность центробежных насосов во многом определяется совершенством его герметизации.
Внутренняя герметизация рабочего колеса 5 (см. рис. 3.11) от корпуса 1 и крышки 2 осуществляется уплотнительными кольцами 3 в корпусе 4, в крышке (они изготовлены из чугуна) и на колесе 5 (они изготовлены из бронзы Бр 0ЦС-6-6-3). Радиальный зазор между кольцами находится в пределах 0,2–0,3 мм. Эти щелевые уплотнения уменьшают циркуляцию жидкости в насосе. При изнашивании колец она увеличивается.
| Рис. 3.14. Уплотнительный стакан:
а: 1 – вал насоса; 2 – манжета; 3 – стальной корпус; 4 – пружина;
б: 1 – манжета; 2 – кольцо; 3 – кольцо; 4 – упорное кольцо; 5 – стопорное кольцо; 6 – резиновые кольца
|
Герметизация внутренней полости насоса от внешней среды
осуществлена двумя способами. Все стенки соединяемых корпусных дета-
лей герметизируют резиновыми прокладками.
Герметизация насоса по валу производится резиновыми манжетами (рис. 3.14), размещаемыми в специальном уплотнительном стакане 7 (см. рис. 3.11).
В уплотнительном
стакане ПН-40УВ смонтиро-
ваны три манжеты АСК-45. Одна из них (на рис. 3.14, б – правая) обеспечивает герметизацию при разрежении в насосе. Две другие – при давлении. Для обеспечения долговечности уплотнения в него по шлангу 17 (см. рис. 3.11) периодически подается смазка. На пожарных насосах других конструкций в стакане монтируют четыре манжеты.
Изнашивание манжет и вала ухудшает герметизацию насоса. При этом затрудняется забор воды и увеличиваются ее утечки.
| Рис. 3.15. Коллектор насоса:
1 – корпус; 2 – седло клапана; 3 – клапан в сборе; 4 – прокладка; 5 – полукольца; 6 – втулка; 7 – шпиндель; 8 – корпус задвижки; 9 – колпачок; 10 – маховичок
|
Полость в корпусе насоса (см. рис. 3.11) между уплотнительным стаканом
7 и манжетой
14 образует масляную ванну
10. В ней имеется щуп и сливная пробка. В корпусе привода тахометра
15 размещены червячная шестерня привода
11 и червяк, изготовленные из стали
20. Масляная ванна и корпус привода тахометра изолированы от внешней среды манжетой
14 и защитным колпаком.
Для смазки подшипников качения и привода тахометра в масляную ванну заливается трансмиссионное масло ТАп-15В через отверстие для щупа. Слив его производится через сливную пробку.
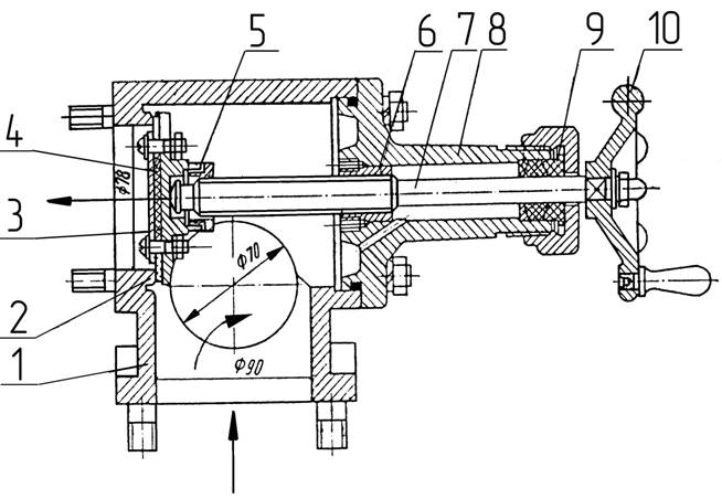
Коллектор (поз. 5 на рис. 3.10) предназначен для распределения воды в рукавные линии или цистерну. Кроме того, на нем крепится напорная задвижка 3, пеносмеситель 4 и вакуумный кран для соединения внутренней полости насоса с атмосферой или вакуумным насосом.
Поперечный разрез коллектора с напорной задвижкой показан на рис. 3.15. Корпус 1 коллектора фланцем с отверстием диаметром 90 мм крепится к диффузору пожарного насоса.
| Рис. 3.16. Напорная задвижка ПН-40УВ:
1 – клапан; 2 – ось клапана; 3 – корпус; 4 – втулка; 5 – винт; 6 – уплотнение; 7 – гайка; 8 – маховик
|
В лафетный ствол или цистерну вода подается через отверстие диаметром 78 мм. Проходное сечение этого отверстия регулируется задвижкой. Она состоит из корпуса
1, клапана
3 в сборе и прокладки
4. Шпиндель
7 закреплен на клапане полукольцами
5, позволяющими ему вращаться относительно клапана. Шпиндель имеет винтовую нарезку и при вращении маховичка
10 перемещается по резьбе втулки
6. При соприкосновении прокладки
4 с седлом клапана
2 вращение штока не тормозится благодаря полукольцам
5. Этим предотвращается разрушение прокладки
4.
К фланцам торцовых поверхностей коллектора (отверстия с диаметром 70 мм) шпильками крепятся две напорные задвижки (рис. 3.16). Их устройство не требует особых объяснений. При вращении маховичка 8 шпиндель с винтовой нарезкой 5 перемещается во втулке 4. Под напором воды клапан 1 поворачивается вокруг оси 2 и вода поступает в рукавную линию.
При прекращении подачи воды на высоту клапан 1 под ее напором закроет вход в коллектор.
Пеносмеситель. На насосах ПН-40УВ установлены пеносмесители ПС-5 (рис. 3.17). Регулируя маховичком 4 положение дозатора 2, возможно подавать 5 различных доз пенообразователя (ПО). При включении рукояткой 7 крана 8 вода из коллектора поступит в сопло 9, а затем в диффузор 10 и во всасывающий патрубок насоса.
Образующееся в камере ПС разрежение обеспечит поступление ПО из пенобака через отверстие 6.
Положение дозатора 2 фиксируется стрелкой 5 на диске 3. Обратный клапан установлен в патрубке с отверстием 6.
| Рис. 3.17. Пеносмеситель ПС-5:
1 – корпус; 2 – дозирующий кран; 3 – диск; 4 – маховичок; 5 – стрелка; 6 – отверстие в штуцере подвода; 7 – рукоятка; 8 – кран включения; 9 – сопло; 10 – диффузор
|
Коллекторы и их оснащение на всех насосах типа ПН идентичны.
Технические характеристики насосов ПН приводятся в табл. 3.1.
Значения Н, м, и Q, л/с, представлены при nном, указанном в таблице, и высоте всасывания 3,5 м. Подача насоса с максимальной геометрической высоты всасывания должна быть не менее 50 % от номинальной, а напор – не менее 95 % от номинального.
Рабочие характеристики насосов ПН представлены на рис. 3.18 и 3.19. Характеристика Q-H называется главной рабочей характеристикой насоса.
При закрытой задвижке на напорном патрубке (Q = 0) напор, создаваемый насосом, равен 100–120 м. При этом насосом потребляется значительная мощность (см. рис. 2.23). Она затрачивается на механические потери в подшипниках, сальниках и нагревание воды в корпусе насоса. Перегрев воды внутри насоса может вызвать термические деформации в насосе, перегрев подшипников и срыв его работы. Поэтому с закрытой задвижкой возможна только кратковременная работа.
Таблица 3.1
| Наименование показателей
| Размерность
| ПН-40УВ
| ПН-60
| ПН-110
|
| Напор
| м
|
|
|
|
| Подача
| л/с
|
|
|
|
| Частота вращения
| об/мин
|
|
|
|
| Диаметр рабочего колеса
| мм
|
|
|
|
| КПД
| -
| 0,61
| 0,6
| 0,6
|
| Потребляемая мощность
| кВт
|
|
|
|
| Максимальная высота всасывания
| м
|
7,5
|
| Масса
| кг
|
|
|
|
| Рис. 3.18. Рабочие характеристики насосов:
1 – ПН-40УВ; 2 – ПН-60; 3 – ПН-110
|
| Рис. 3.19. Мощность, потребляемая насосом:
1 – ПН-40УВ; 2 – ПН-60; 3 – ПН-110
|
Пожарные насосы ПН-40УВ устанавливают на ряде автоцистерн и автонасосов, выпускаемых промышленностью. Пожарные насосы ПН-60 и ПН-110 заменяются новыми моделями ПН-70 и ПН-110, устанавливаемыми на пожарных аэродромных автомобилях и пожарных насосных станциях.
Пожарные насосы центробежные (ПН) надежны в эксплуатации. Поддержание их работоспособности обеспечивается выполнением ряда мер при технических обслуживаниях (ТО).
Техническое обслуживание – это комплекс операций по поддержанию работоспособности или исправности насосов при их использовании по назначению. В ГПС проводят ряд ТО насосов, включающих: ежедневное ТО (ЕТО), ТО-1 и ТО-2 после общего пробега пожарного автомобиля, равного соответственно 1500 и 7000 км. Кроме того, их обслуживание производят и на пожаре, а также после пожара.
ТО н а п о ж а р е. Периодически контролировать герметичность насосной установки по утечке воды через соединения и сальники.
На насосах ПМ каждый час работы подается смазка в сальники через колпачковую масленку.
Поддерживать положительную температуру в насосном отсеке.
ТО п о с л е п о ж а р а. Слить воду из насоса. Зимой – из трубки, соединяющей ПН с газоструйным вакуум-аппаратом, удалить воду кратковременным его включением.
После тушения пожара пеной промыть водой систему подачи пенообразователя и насос.
Работы по регламентированному техническому обслуживанию при ТО-1 и ТО-2 приводятся в табл.3.2.
Таблица 3.2
| Вид обслуживания
| Перечень работ
|
|
ЕТО
| 1. Проверить работоспособность кранов и вентилей, целостность коммуникаций и уровень масла в картерах.
2. Проверить работоспособность вакуумных систем (проверка герметичности).
|
|
ТО-1
| 1. Выполняют объем работ ЕТО.
2. Проверяют состояние и исправность привода вакуумного аппарата из насосного отделения.
3. Разбирают пеносмеситель и очищают его, проверяют состояние кранов.
4. Проверяют крепление насоса.
|
|
ТО-2
| 1. Выполняют объем работ ТО-1.
2. Проверяют техническое состояние насоса и дозирование пенообразователя.
3. Проверяют работоспособность контрольно-измерительных приборов.
|