Полевые исследования грунтов
Полевые исследования грунтов следует проводить при изучении массивов грунтов (в основном песчано-глинистые грунты) с целью:
– расчленение геологического разреза, оконтуривание прослоев и линз слабых грунтов,
– определение физико-механических свойств грунтов в условиях естественного залегания,
– оценки пространственной изменчивости свойств грунтов,
– оценка возможности погружения свай в грунты и несущей способности свай.
Полевые штамповые испытания – эталонный метод деформационных испытаний на сжимаемость. Результаты других полевых и лабораторных деформационных испытаний сопоставляются с результатами штамповых испытаний. Штамп – квадратная или круглая плита, площадью 5000 см2, служащая для передачи давления на грунт при полевых испытаний грунтов методом опытных нагрузок (рис. 44). Давление создается домкратами или платформами с грузом и производится ступенями с выдержкой определенное время до стабилизации осадки. Строится график зависимости осадки штампа от давления и осадки штампа во времени по ступеням нагрузки, определяют деформационные свойства (модуль деформации Е, МПа). Штамповые испытания могут проводиться и в скважинах. Для этого используют штамп площадью 600 см2, а давление передается от платформы с грузом через штангу.
Достоинство: испытание грунта ненарушенной структуры.
Недостатки: трудоёмкость, продолжительность испытаний.
Статическое и динамическое зондирование (пенетрация) – исследование песчаных и глинистых грунтов путем вдавливания (статическое) и забивки (динамическое) конусовидного металлического наконечника на глубину, превышающую его высоту. Определяют сопротивление проникновению зонда на глубину. По результатам испытаний определяют однородность грунтов по площади и глубине, приближенную количественную оценку свойств грунтов.

Рис. 44. Схема штампового испытания грунта в полевых условиях с построением кривой осадки и последующим вычислением модуля общей деформации
Прессиометрия проводится в глинистых грунтах, определяя их деформационные свойства. Прессиометр – резиновая цилиндрическая камера, которая на определенной глубине в скважине расширяется за счет давления жидкости или газа, нагнетаемого в камеру (рис. 45). Замеряется давление и радиальное перемещение грунта в стенках скважины, что позволяет рассчитать модуль деформации.

Рис. 45 д) радиальный прессиометр е) лопастной прессиометр
Прочностные испытания грунтов. Определяется сопротивление грунтов сдвигу (скальных и дисперсных) при предельных значениях напряжений (разрушение грунта). Методы: зондирование, искусственное обрушение откосов, лопастные испытания (крыльчатка), метод шарикового штампа.
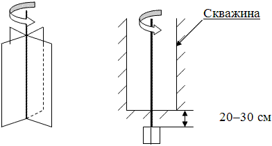
Крыльчатка (метод вращательного среза) – определяют прочностные свойства для слабых грунтов (рис. 46). Крыльчатка представляет собой четырехлопастной зонд, который опускают в забой скважины, вдавливают и поворачивают. Замеряют крутящий момент, что позволяет рассчитать сопротивление грунта сдвигу, величину внутреннего трения φ и удельного сцепления С, МПа.

Рис. 46 Метод вращательного среза
5.2.5. Гидрогеологические исследования (опытно-фильтрационные работы)
Гидрогеологические исследования выполняются в случае распространения или возможности формирования подземных вод в сфере взаимодействия проектируемого объекта с геологической средой (загрязнение, истощение, прогноз подтопления, возможность ухудшения свойств грунтов).
Полевыми методами определяется коэффициент фильтрации Кф и радиус влияния скважины (депрессионной воронки) в условиях естественного залегания пород и циркуляции подземных вод.
Коэффициент фильтрации для обломочных пород определяется с помощью откачек воды из скважин. Различают в зависимости от поставленных целей: экспресс-откачка (0,5 суток), пробные, опытные, опытно-эксплуатационные; одиночные и кустовые откачки из скважин. Строится график откачки (зависимость понижения (S) от времени (t) в полулогарифмическом масштабе).
Оборудование необходимое для проведения опытных гидрогеологических работ (насосы глубинные, поверхностные, уровнемеры, полевая лаборатория). Откачки производятся насосом (2–2,5 л/с) или эрлифтом (рис. 47) «air» – воздух, «lift» – подъем (до 10 л/с). Приборы для замеров глубины залегания уровня подземных вод в скважинах – электроуровнемеры, «хлопушки», манометры –для фонтанирующих.

Рис. 47 Схема работы эрлифта
Для определения Кф для супесей и суглинков применяют методы налива в шурфы и нагнетание воды в скважины.
5.2.6. Стационарные наблюдения (режимные)
Стационарные наблюдения необходимо выполнять для изучения:
– динамики развития опасных геологических процессов (карст, оползни, сели, переработка берегов, выветривание и пр.),
– изменений состояния свойств грунтов,
– изменения уровня, температуры, химического состава подземных вод;
– деформации грунтов оснований.
Продолжительность не менее одного гидрогеологического года или сезона проявления процесса с частотой регистрации экстремальных значений.