Системы нелинейного монтажа
Одна из важнейших областей применения компьютеров в телевидении - системы редактирования и монтажа видеоматериалов и подготовки телевизионных программ.
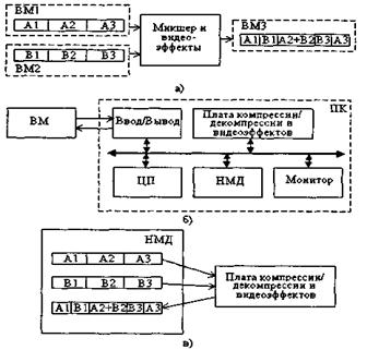
Сначала рассмотрим традиционную схему монтажа на основе видеомагнитофонов (рис. 16.12,а). Исходные видеоматериалы в аналоговой или цифровой формах записаны на видеокассеты и воспроизводятся видеомагнитофонами ВМ1 и ВМ2 (источников монтируемых видеоматериалов может быть и больше). Видеосигналы поступают на устройство, выполняющее функции микшера и формирователя видеоэффектов. Полученный в результате монтажа видеосигнал записывается на видеомагнитофон ВМЗ. Система содержит также не показанные на рисунке мониторы для контроля воспроизводимых и записываемых видеопрограмм.
Система монтажа позволяет в требуемом порядке записывать фрагменты видеоматериалов. При этом видеомагнитофоны ВМ1 и ВМ2 необходимо включать и выключать, перематывать ленту и т.д. Формирователь видеоэффектов дает возможность вводить в изображение текст и графику и создавать плавные переходы от одного фрагмента к другому, например, путем постепенного вытеснения одного изображения другим. Возможно наложение одного изображения на другое (фрагмент А2+В2 в смонтированном видеоматериале) с применением рирпроекции.
Пояснение. Схемы электронной рирпроекции позволяют смешивать видеосигналы двух изображений таким образом, что в комбинированном изображении часть одного первичного изображения вытеснено вторым первичным изображением.
Одним первичным изображением обычно бывает декорация (задний план), а вторым первичным изображением – актер (передний план). При этом изображение переднего плана вытесняет изображение заднего плана по контуру, определяемому силуэтом переднего плана. В качестве фона может быть пейзаж, толпа людей (демонстрация), улица или площадь города, на фоне которых корреспондент ведет репортаж.

Рис. 16.12. Структурные схемы систем линейного (а) и нелинейного (б)
монтажа и расположение видеоматериалов на диске (в)
Традиционный видеомонтаж называется линейным, так как видеомагнитофоны обеспечивают последовательный доступ к информации, и для того, чтобы найти какой-либо фрагмент на ленте, необходимо перемотать ее до нужного места.
Система нелинейного монтажа (рис. 16.12,б) содержит один или несколько цифровых видеомагнитофонов (ВМ) для хранения исходных материалов и конечного продукта. Центром системы является высокопроизводительный ПК или рабочая станция (компьютер, по производительности и объему ЗУ значительно превосходящий обычные ПК), имеющий монитор с экраном, обеспечивающим высококачественное отображение нескольких кадров и различной вспомогательной информации.
Фрагменты телевизионных программ, подлежащие редактированию и монтажу, вводятся в компьютер с помощью специальной платы ввода/вывода (платы "захвата" видеосигналов), сжимаются и записываются на жесткие магнитные диски (НМД). Для сжатия обычно применяется метод Motion JPEG, в соответствии с которым каждый кадр кодируется независимо от других кадров. Это дает возможность индивидуального доступа к отдельным кадрам. Операция сжатия в реальном времени выполняется аппаратными средствами в плате компрессии /декомпрессии и видеоэффектов.
Хранение редактируемых материалов на диске дает возможность быстро находить и переставлять в произвольном порядке фрагменты изображения и отдельные кадры, составляя нужную видеопрограмму (рис. 16.12,в). При этом процесс монтажа значительно ускоряется и возникают новые возможности, недоступные в ранее применявшихся системах. Операции повышения качества изображения путем коррекции цвета, фильтрации шумов и т. д., ввода в изображение текста и графики, синтеза искусственных изображений и видеоэффектов и др. выполняются как аппаратными средствами, так и программно центральным процессором (ЦП).
Выполнение всех операций внутри компьютера позволяет избежать потерь качества при многократной перезаписи, неизбежных даже при цифровой видеозаписи из-за дефектов магнитных лент.
На последней стадии подготовки программы производится ее сжатие для записи на видеодиск или трансляции. Процесс сжатия контролируется оператором, который может регулировать степень сжатия, корректировать положения I-кадров и размеры групп кадров и выполнять другие действия для получения наилучшего качества изображения.
Снижение стоимости устройств ввода видеосигналов и кодирования по стандарту MPEG-2 постепенно делает системы нелинейного цифрового монтажа доступными для небольших телевизионных и мультимедийных компаний и даже для любителей